LEMON Manuals: Even more car manuals for everyone: 1960-2025
Home >> Toyota >> 1988 >> Camry Base, Automatic >> Repair and Diagnosis >> Engine Performance >> System >> Computer Control System >> Circuit Tests (Without Codes) >> No. 14 Test, ISC Valve Circuit (V6)
April 5, 2026: LEMON Manuals is launched! Read the announcement.

No. 14 Test, ISC Valve Circuit (V6)

Fig 1: Test 14 Schematic, ISC Valve Circuit (V6)
G50D02289Courtesy of © TOYOTA, LICENSE AGREEMENT TMS1002
Fig 2: Test 14 Flow Chart, ISC Valve Circuit (V6)
G50F02290Courtesy of © TOYOTA, LICENSE AGREEMENT TMS1002
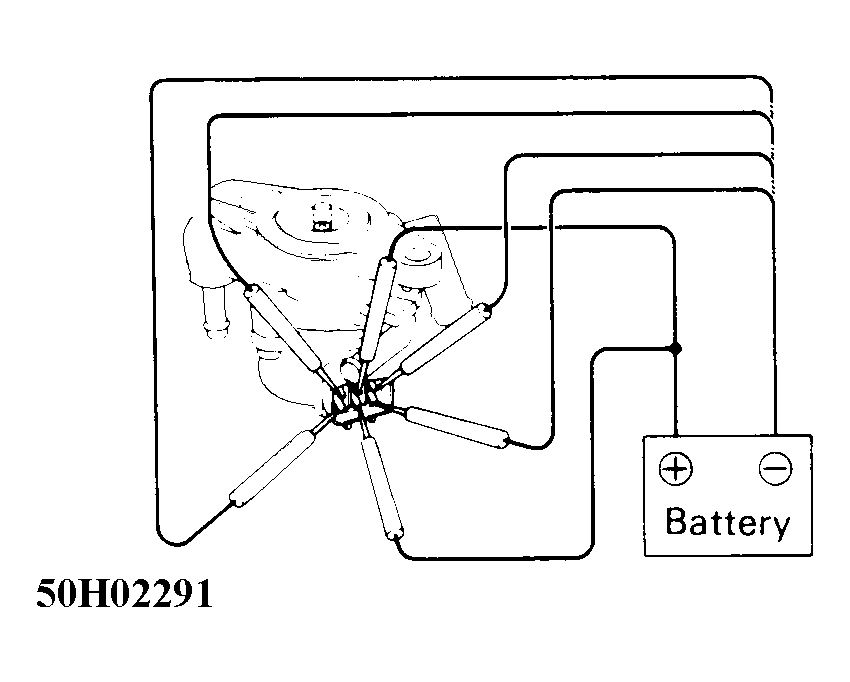
Fig 3: Test 14, ISC Valve Check (V6)
G50H02291Courtesy of © TOYOTA, LICENSE AGREEMENT TMS1002