LEMON Manuals: Even more car manuals for everyone: 1960-2025
Home >> Toyota >> 1990 >> Land Cruiser >> Repair and Diagnosis >> Engine Performance >> System >> Engine Controls - System/Component Tests - EFI >> Idle Speed Control (ISC) System Test
April 5, 2026: LEMON Manuals is launched! Read the announcement.

Idle Speed Control (ISC) System Test

  1. Listen for "clicking" sound after engine is shut off. If no sound is heard, check ISC valve and wiring.
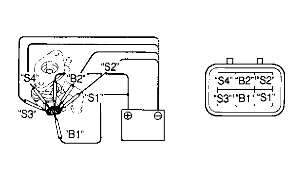
  2. To check wiring circuit, turn engine off. Unplug ISC valve connector. Turn ignition on with engine off. Connect voltmeter between "B1" and "B2" (2 center wires) terminals of wiring harness connector. See Fig 1. Battery voltage should be present. If not, check wiring between ISC valve and EFI main relay.
  3. If voltage in step 2) is okay, check wiring between ISC valve and ECU. With ignition on and engine off, there should be battery voltage at "ISC1", "ISC2", "ISC3" and "ISC4" terminals of ECU. Measure voltage at wiring side of connector (connector plugged in) with digital voltmeter. Also check ECU ground.
  4. To check ISC valve, turn ignition off. Unplug ISC valve connector. Measure resistance between ISC valve terminals. See Fig 1. See ISC VALVE RESISTANCE SPECIFICATIONS table. Replace ISC valve if resistance is not as specified.
    ISC VALVE RESISTANCE SPECIFICATIONS

    Terminals Ohms
    B1 to S1 or S 10-30
    B2 to S2 or S4 10-30
    NOTE: Before removing ISC valve, drain coolant from cooling system. Remove both coolant by-pass hoses.
  5. To check valve operation, remove ISC valve from vehicle. Apply battery voltage to terminal "B1" and terminal "B2". See Fig 1. Repeatedly ground terminals "S1", "S2", "S", "S4" and "S1" in sequence. Valve closes. Remove ground wires.
  6. Apply battery voltage to terminals "B1" and "B2". Repeatedly ground terminals "S4", "S", "S2", "S1" and "S4" in sequence. Valve should move toward open position. Replace valve if it failed to operate properly.
Fig 1: Checking ISC Valve
G118945Courtesy of © TOYOTA, LICENSE AGREEMENT TMS1002