LEMON Manuals: Even more car manuals for everyone: 1960-2025
Home >> Toyota >> 2003 >> Matrix Base, FWD, Automatic >> Repair and Diagnosis >> External Pages >> Different car >> Section 17 (Engine Control System Self-Diagnostics - V6) >> Diagnostic Tests >> DTC P0420: Catalyst System Efficiency Below Threshold >> Diagnosis & Repair
April 5, 2026: LEMON Manuals is launched! Read the announcement.

Diagnosis & Repair

WARNING: This page is about a different car, the 2002 Toyota Tundra. However, it is still accessible from the selected car via links, so may be relevant.
  1. Using Toyota hand-held tester or scan tool, check for any other DTCs. If only DTC P0420 exists, go to next step. If other DTCs exist, diagnose and repair those DTCs first and then retest.
  2. Check exhaust system for leaks. If no exhaust leak exists, go to next step. If exhaust leak exists, repair exhaust system as necessary.
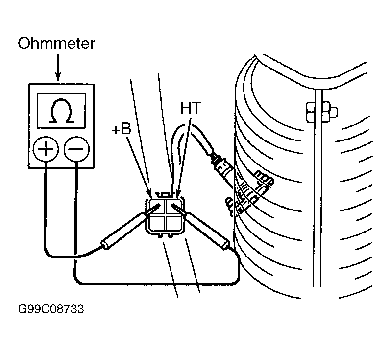
  3. Disconnect electrical connector for A/F sensor. A/F sensor is located on exhaust pipe in front of catalytic converter. Using ohmmeter, check resistance for heater on A/F sensor between +B and HT terminals on electrical connector for A/F sensor. See Fig 1. Resistance should be .8-1.4 ohms at 68°F (20°C) and 1.8-3.2 ohms at 1472°F (800°C). If resistance is within specification, go to next step. If resistance is not within specification, replace A/F sensor. See AIR/FUEL SENSOR under ENGINE SENSORS & SWITCHES in REMOVAL, OVERHAUL & INSTALLATION - V6 & V8 article.
  4. Disconnect electrical connector for heated oxygen sensor. Heated oxygen sensor is located on exhaust pipe, behind catalytic converter. Using ohmmeter, check resistance between +B and HT terminals on electrical connector for heater on heated oxygen sensor. See Fig 2. Resistance should be 11-16 ohms at 68°F (20°C) and 23-32 ohms at 1472°F (800°C). If resistance is within specification, replace catalytic converter. If resistance is not within specification, replace heated oxygen sensor. See HEATED OXYGEN SENSOR under ENGINE SENSORS & SWITCHES in REMOVAL, OVERHAUL & INSTALLATION - V6 & V8 article
    Fig 1: Testing Heater On A/F Sensor
    G99C08733Courtesy of © TOYOTA, LICENSE AGREEMENT TMS1002
    Fig 2: Testing Heater On Heated Oxygen Sensor
    G00023084Courtesy of © TOYOTA, LICENSE AGREEMENT TMS1002