LEMON Manuals: Even more car manuals for everyone: 1960-2025
Home >> Toyota >> 2003 >> Tacoma S-Runner >> Repair and Diagnosis >> Body & Frame >> Windows >> Power Window Control System >> Inspection
April 5, 2026: LEMON Manuals is launched! Read the announcement.

Power Window Control System: Inspection

  1. 2 Door: 

    INSPECT POWER WINDOW MASTER SWITCH CONTINUITY 

    Fig 1: Inspecting Power Window Master Switch (2 Door)
    G02846299Courtesy of © TOYOTA, LICENSE AGREEMENT TMS1002

    Driver's switch: 

    DRIVER'S SWITCH CONTINUITY

    Switch position Tester connection Specified condition
    UP 1 - 4, 3 - 9 Continuity
    OFF 1- 3 - 4 Continuity
    DOWN 1 - 3, 4 - 9 Continuity
    DOWN AUTO 1 - 3, 4 - 9 Continuity

    Passenger's switch (Window unlock): 

    PASSENGER'S SWITCH CONTINUITY (WINDOW UNLOCK)

    Switch position Tester connection Specified condition
    UP 1 - 10, 8 - 9 Continuity
    OFF 1 - 8 - 10 Continuity
    DOWN 1 - 8, 9 - 10 Continuity

    Passenger's switch: Window lock 

    PASSENGER'S SWITCH CONTINUITY (WINDOW LOCK)

    Switch position Tester connection Specified condition
    UP 8 - 9 Continuity
    OFF 8 - 10 Continuity
    DOWN 9 - 10 Continuity

    If continuity is not as specified, replace the switch.

  2. 4 Door: 

    INSPECT POWER WINDOW MASTER SWITCH CONTINUITY 

    Fig 2: Inspecting Power Window Master Switch (4 Door)
    G02846300Courtesy of © TOYOTA, LICENSE AGREEMENT TMS1002

    Driver's switch: 

    POWER WINDOW MASTER SWITCH CONTINUITY

    Switch position Tester connection Specified condition
    UP 1 - 10, 3 - 5 Continuity
    OFF 1 - 3 - 5 Continuity
    DOWN 1 - 3, 5 - 10 Continuity
    DOWN AUTO 1 - 3, 5 - 10 Continuity

    Front passenger's switch (Window unlock): 

    FRONT PASSENGER'S SWITCH CONTINUITY (WINDOW UNLOCK)

    Switch position Tester connection Specified condition
    UP 3 - 6, 10 - 14 Continuity
    OFF 3 - 6 - 14 Continuity
    DOWN 3 - 14, 6 - 10 Continuity

    Front passenger's switch (Window lock): 

    FRONT PASSENGER'S SWITCH CONTINUITY (WINDOW LOCK)

    Switch position Tester connection Specified condition
    UP 10 - 14 Continuity
    OFF 6 - 14 Continuity
    DOWN 6 - 10 Continuity

    Rear left switch (Window unlock): 

    REAR LEFT SWITCH CONTINUITY (WINDOW UNLOCK)

    Switch position Tester connection Specified condition
    UP 3 - 12, 9 - 10 Continuity
    OFF 3 - 9 - 12 Continuity
    DOWN 3 - 9, 10 - 12 Continuity

    Rear left switch (Window lock): 

    REAR LEFT SWITCH CONTINUITY (WINDOW LOCK)

    Switch position Tester connection Specified condition
    UP 9 - 10 Continuity
    OFF 9 - 12 Continuity
    DOWN 10 - 12 Continuity

    Rear right switch (Window unlock): 

    REAR RIGHT SWITCH CONTINUITY (WINDOW UNLOCK)

    Switch position Tester connection Specified condition
    UP 3 - 13, 8 - 10 Continuity
    OFF 3 - 8 - 13 Continuity
    DOWN 3 - 8, 10 - 13 Continuity

    Rear right switch (Window lock): 

    REAR RIGHT SWITCH CONTINUITY (WINDOW LOCK)

    Switch position Tester connection Specified condition
    UP 8 - 10 Continuity
    OFF 8 - 13 Continuity
    DOWN 10 - 13 Continuity

    If continuity is not as specified, replace the switch.

  3. INSPECT FRONT POWER WINDOW CONTROL SWITCH CONTINUITY 
    Fig 3: Inspecting Front Power Window Control Switch
    G02846301Courtesy of © TOYOTA, LICENSE AGREEMENT TMS1002
    FRONT POWER WINDOW CONTROL SWITCH CONTINUITY

    Switch position Tester connection Specified condition
    UP 1 - 2, 3 - 4 Continuity
    OFF 1 - 2, 3 - 5 Continuity
    DOWN 1 - 4, 3 - 5 Continuity

    If continuity is not as specified, replace the switch.

  4. INSPECT REAR POWER WINDOW CONTROL SWITCH CONTINUITY 
    Fig 4: Inspecting Rear Power Window Control Switch
    G02846302Courtesy of © TOYOTA, LICENSE AGREEMENT TMS1002
    REAR POWER WINDOW CONTROL SWITCH CONTINUITY

    Switch position Tester connection Specified condition
    UP 1 - 3, 4 - 5 Continuity
    OFF 1 - 2, 4 - 5 Continuity
    DOWN 1 - 2, 3 - 5 Continuity

    If continuity is not as specified, replace the switch.

  5. Driver's side: 

    INSPECT POWER WINDOW MOTOR OPERATION 

    1. Connect the positive (+) lead from the battery to terminal 2 and negative (-) lead to terminal 1. Check that the motor turns clockwise.
      Fig 5: Inspecting Power Window Motor Operation (Driver's Side)
      G02846303Courtesy of © TOYOTA, LICENSE AGREEMENT TMS1002
    2. Reverse the polarity, check that the motor turns counterclockwise.

    If operation is not as specified, replace the motor.

  6. Front passenger's side: 

    INSPECT POWER WINDOW MOTOR OPERATION 

    1. Connect the positive (+) lead from the battery to terminal 2 and negative (-) lead to terminal 1. Check that the motor turns clockwise.
      Fig 6: Inspecting Power Window Motor Operation (Front Passenger's Side)
      G02846304Courtesy of © TOYOTA, LICENSE AGREEMENT TMS1002
    2. Reverse the polarity, check that the motor turns counterclockwise.

    If operation is not as specified, replace the motor.

  7. Rear LH side: 

    INSPECT POWER WINDOW MOTOR OPERATION 

    1. Connect the positive (+) lead from the battery to terminal 1 and negative (-) lead to terminal 2. Check that the motor turns clockwise.
      Fig 7: Inspecting Power Window Motor Operation (Rear LH Side)
      G02846305Courtesy of © TOYOTA, LICENSE AGREEMENT TMS1002
    2. Reverse the polarity, check that the motor turns counterclockwise.

    If operation is not as specified, replace the motor.

  8. Rear RH side: 

    INSPECT POWER WINDOW MOTOR OPERATION 

    1. Connect the positive (+) lead from the battery to terminal 2 and negative (-) lead to terminal 1. Check that the motor turns clockwise.
      Fig 8: Inspecting Power Window Motor Operation (Rear RH Side)
      G02846306Courtesy of © TOYOTA, LICENSE AGREEMENT TMS1002
    2. Reverse the polarity, check that the motor turns counterclockwise.

    If operation is not as specified, replace the motor.

  9. Driver's door: 

    INSPECT POWER WINDOW MOTOR PTC THERMISTOR OPERATION 

    1. Disconnect the connector from the power window motor.
    2. Connect the positive (+) lead from the ammeter to terminal 2 on the wire harness side connector and the negative (-) lead to negative terminal of the battery.
      Fig 9: Connecting Positive (+) Lead From Ammeter To Terminal 2 On Wire Harness Side Connector And Negative (-) Lead To Negative Terminal Of Battery (Driver's Door)
      G02846307Courtesy of © TOYOTA, LICENSE AGREEMENT TMS1002
    3. Connect the positive (+) lead from the battery to terminal 1 on the wire harness side connector, and raise the window to the fully position.
    4. Continue to apply voltage, and check that the current changes to less than 1 A with 4 to 90 seconds.
    5. Disconnect the leads from terminals.
    6. Approximately 60 seconds later, connect the positive (+) lead from the battery to terminal 2 and negative (-) lead to terminal 1, and check that the window begins to descended.
      Fig 10: Connecting The Positive (+) Lead From The Battery To Terminal 2 And Negative (-) Lead To Terminal 1 (Driver's Door)
      G02846308Courtesy of © TOYOTA, LICENSE AGREEMENT TMS1002

      If operation is not as specified, replace the motor.

  10. Front Passenger's door: 

    INSPECT POWER WINDOW MOTOR PTC THERMISTOR OPERATION 

    1. Disconnect the connector from the power window motor.
    2. Connect the positive (+) lead from the ammeter to terminal 1 on the wire harness side connector and the negative (-) lead to negative terminal of the battery.
      Fig 11: Connecting The Positive (+) Lead From The Ammeter To Terminal 1 On The Wire Harness Side Connector And The Negative (-) Lead To Negative Terminal Of The Battery (Front Passenger's Door)
      G02846309Courtesy of © TOYOTA, LICENSE AGREEMENT TMS1002
    3. Connect the positive (+) lead from the battery to terminal 2 on the wire harness side connector, and raise the window to the fully position.
    4. Continue to apply voltage and check that the current changes to less than 1 A within 4 to 90 seconds.
    5. Disconnect the leads from the terminals.
    6. Approximately 60 seconds later, connect the positive (+) lead from the battery to terminal 1 and the negative (-) lead to terminal 2, and check that the window begins to descend.
      Fig 12: Connecting The Positive (+) Lead From The Battery To Terminal 1 And The Negative (-) Lead To Terminal 2 (Front Passenger's Door)
      G02846310Courtesy of © TOYOTA, LICENSE AGREEMENT TMS1002

    If operation is not as specified, replace the motor.

  11. Rear door: 

    INSPECT POWER WINDOW MOTOR PTC THERMISTOR OPERATION 

    1. Disconnect the connector from the power window motor.
    2. Connect the positive (+) lead from the ammeter to terminal 1 on the wire harness side connector and the negative (-) lead to negative terminal of the battery.
      Fig 13: Connecting The Positive (+) Lead From The Ammeter To Terminal 1 On The Wire Harness Side Connector And The Negative (-) Lead To Negative Terminal Of The Battery (Rear Door)
      G02846311Courtesy of © TOYOTA, LICENSE AGREEMENT TMS1002
    3. Connect the positive (+) lead from the battery to terminal 2 on the wire harness side connector, and raise the window to the fully position.
    4. Continue to apply voltage and check that the current changes to less than 1 A within 4 to 90 seconds.
    5. Disconnect the leads from the terminals.
    6. Approximately 60 seconds later, connect the positive (+) lead from the battery to terminal 1 and the negative (-) lead to terminal 2, and check that the window begins to descend.
      Fig 14: Connecting The Positive (+) Lead From The Battery To Terminal 1 And The Negative (-) Lead To Terminal 2 (Rear Door)
      G02846312Courtesy of © TOYOTA, LICENSE AGREEMENT TMS1002

    If operation is not as specified, replace the motor.

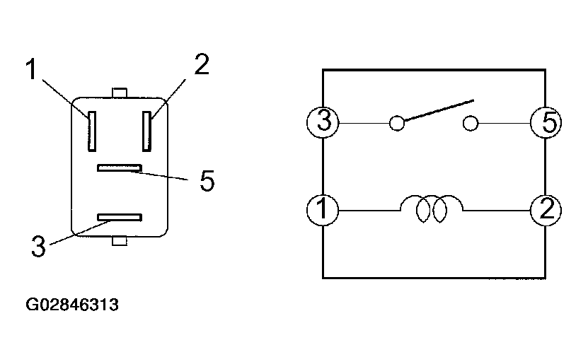
  12. INSPECT POWER MAIN (Marking: PWR) RELAY CONTINUITY 
    Fig 15: Inspecting Power Main (Marking: PWR) Relay Continuity
    G02846313Courtesy of © TOYOTA, LICENSE AGREEMENT TMS1002
    POWER MAIN RELAY CONTINUITY

    Condition Tester connection Specified condition
    Constant 1 - 2 Continuity
    Apply B+ between terminals 1 and 2. 3 - 5 Continuity

    If continuity is not as specified, replace the relay.