LEMON Manuals: Even more car manuals for everyone: 1960-2025
Home >> Toyota >> 2004 >> Matrix Base, FWD, Automatic >> Repair and Diagnosis >> External Pages >> Different car >> Section 78 (Engine Control System Self-Diagnostics) >> Diagnostic Tests >> DTC P0420: Catalyst System Efficiency Below Threshold >> Diagnosis & Repair
April 5, 2026: LEMON Manuals is launched! Read the announcement.

Diagnosis & Repair

WARNING: This page is about a different car, the 2002 Toyota Avalon. However, it is still accessible from the selected car via links, so may be relevant.
  1. Using Toyota hand-held tester or scan tool, check for any other DTCs. If only DTC P0420 exists, go to next step. If other DTCs exist, diagnose and repair those DTCs first and then retest.
  2. Check exhaust system for leaks. If no exhaust leak exists, go to next step. If exhaust leak exists, repair exhaust system as necessary.
  3. Disconnect electrical connector for A/F sensor. A/F sensors are located on each exhaust manifold. A/F sensor on rear (firewall side) exhaust manifold may also be referred to as bank No. 1 sensor No. 1. A/F sensor on front (radiator side) exhaust manifold may also be referred to as bank No. 2 sensor No. 1.
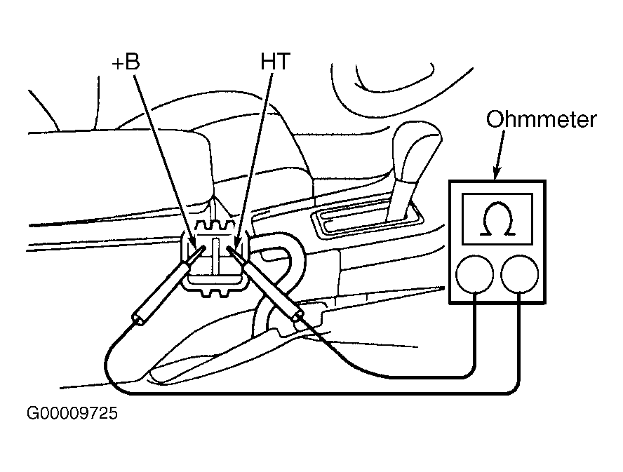
  4. Using ohmmeter, check resistance for heater on A/F sensor between +B and HT terminals on electrical connector for A/F sensor. See Figure. Resistance should be .8-1.4 ohms at 68°F (20°C) and 1.8-3.2 ohms at 1472°F (800°C). If resistance is within specification, go to next step. If resistance is not within specification, replace A/F sensor. See AIR/FUEL SENSOR under ENGINE SENSORS & SWITCHES in REMOVAL, OVERHAUL & INSTALLATION - V6 & V8 article.
  5. Disconnect electrical connector for heated oxygen sensor (bank No. 1 sensor No. 2). See Figure. Using ohmmeter, check resistance between +B and HT terminals on electrical connector for heater on heated oxygen sensor (bank No. 1 sensor No. 2). See Figure. Resistance should be 11-16 ohms at 68°F (20°C) and 23-32 ohms at 1472°F (800°C). If resistance is within specification, replace catalytic converter. If resistance is not within specification, replace heated oxygen sensor (bank No. 1 sensor No. 2). See HEATED OXYGEN SENSOR under ENGINE SENSORS & SWITCHES in REMOVAL, OVERHAUL & INSTALLATION - V6 & V8 article.