LEMON Manuals: Even more car manuals for everyone: 1960-2025
Home >> Toyota >> 2005 >> RAV4 Base, AWD, Standard >> Repair and Diagnosis >> Body & Frame >> Mirrors >> Power Mirror Control System >> Inspection
April 5, 2026: LEMON Manuals is launched! Read the announcement.

Power Mirror Control System: Inspection

  1. INSPECT LEFT SIDE MIRROR SWITCH CONTINUITY 
    SWITCH POSITION SPECIFIED CONDITION

    Switch Position Tester Connection Specified Condition
    OFF   No continuity
    UP 4 - 8
    6 - 7
    Continuity
    DOWN 4 - 7
    6 - 8
    Continuity
    LEFT 5 - 8
    6 - 7
    Continuity
    RIGHT 5 - 7
    6 - 8
    Continuity

    If the continuity is not as specified, replace the switch.

    Fig 1: Inspecting Left Side Mirror Switch Continuity
    G02640987Courtesy of © TOYOTA, LICENSE AGREEMENT TMS1002
  2. INSPECT RIGHT SIDE MIRROR SWITCH CONTINUITY 
    SWITCH POSITION SPECIFIED CONDITION

    Switch Position Tester Connection Specified Condition
    OFF   No Continuity
    UP 3 - 8
    6 - 7
    Continuity
    DOWN 3 - 7
    6 - 8
    Continuity
    LEFT 2 - 8
    6 - 7
    Continuity
    RIGHT 2 - 7
    6 - 8
    Continuity

    If the continuity is not as specified, replace the switch.

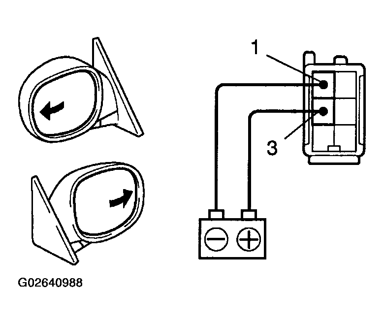
  3. INSPECT MIRROR MOTOR OPERATION 
    1. Connect the positive (+) lead from the battery to terminal 3 and the negative (-) lead to terminal 1. Check that the mirror angles outward, as shown.
      Fig 2: Connecting Positive (+) Lead From Battery To Terminal 3 And Negative (-) Lead To Terminal 1
      G02640988Courtesy of © TOYOTA, LICENSE AGREEMENT TMS1002
    2. Reverse the polarity. Check if the mirror angles inward, as shown.
      Fig 3: Connecting Terminal 1 And 3
      G02640989Courtesy of © TOYOTA, LICENSE AGREEMENT TMS1002
    3. Connect the positive (+) lead from the battery to terminal 3 and the negative (-) lead to terminal 5. Check if the mirror angles downward, as shown.
      Fig 4: Connecting Positive (+) Lead From Battery To Terminal 3 And Negative (-) Lead To Terminal 5
      G02640990Courtesy of © TOYOTA, LICENSE AGREEMENT TMS1002
    4. Reverse the polarity, and check that the mirror angles upward, as shown.

      If operation is not as specified, replace the mirror assembly.

      Fig 5: Connecting Terminal 3 And 5
      G02640991Courtesy of © TOYOTA, LICENSE AGREEMENT TMS1002