LEMON Manuals: Even more car manuals for everyone: 1960-2025
Home >> Toyota >> 2009 >> Land Cruiser >> Repair and Diagnosis >> Engine Performance >> Fuel Delivery >> Engine Fuel System >> Fuel Injector >> Installation
April 5, 2026: LEMON Manuals is launched! Read the announcement.

Fuel Injector: Installation

  1. INSTALL FUEL INJECTOR ASSEMBLY 
    1. Attach the 3 clamps to install the No. 6 wire harness to the delivery pipe RH.
      Fig 1: Identifying Fuel Delivery Pipe RH
      G05628805Courtesy of © TOYOTA, LICENSE AGREEMENT TMS1002
    2. Attach the 3 clamps to install the No. 7 wire harness to the delivery pipe LH.
      Fig 2: Identifying Fuel Delivery Pipe LH
      G05628806Courtesy of © TOYOTA, LICENSE AGREEMENT TMS1002
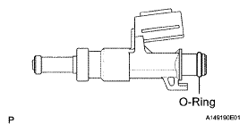
    3. Apply gasoline or spindle oil to a new O-ring and install it to the injector.
      NOTE: Make sure that there is no damage or foreign material in the groove of the injector when installing the O-ring.
      Fig 3: Identifying O-Ring From Fuel Injector
      G04947877Courtesy of © TOYOTA, LICENSE AGREEMENT TMS1002
    4. Connect the injector connector.
      Fig 4: Locating Injector Connector
      G05152025Courtesy of © TOYOTA, LICENSE AGREEMENT TMS1002
    5. Install the injector to the delivery pipe as shown in the illustration (Fig 5).
      NOTE:
      • Make sure that there are no scratches or foreign matter in or around the insertion hole of the delivery pipe.
      • When inserting the injector, be careful not to damage the O-ring.
      • Attach the part of the injector labeled B between the parts of the delivery pipe labeled A.
      Fig 5: Identifying Fuel Injector Correct And Incorrect Installation Position
      G05628818Courtesy of © TOYOTA, LICENSE AGREEMENT TMS1002
    6. Check that each injector is installed to the delivery pipe facing the direction shown in the illustration (Fig 6).
    Fig 6: Locating Fuel Injector Pipe And Fuel Injector Pipe (LH And RH)
    G05628819Courtesy of © TOYOTA, LICENSE AGREEMENT TMS1002
  2. INSTALL FUEL DELIVERY PIPE SUB-ASSEMBLY LH 
    1. Install the 2 delivery pipe spacers and 4 insulators to the cylinder head LH.
    2. Install the delivery pipe (with injectors) to the cylinder head LH.
    3. Install the 2 bolts.

      Torque: 21 N*m (214 kgf*cm, 15 ft.*lbf) 

      Fig 7: Locating Fuel Delivery Pipe With Bolts (LH)
      G05152009Courtesy of © TOYOTA, LICENSE AGREEMENT TMS1002
      NOTE: Make sure that the part of the injector labeled B is between the parts of the delivery pipe labeled A.
    4. Connect the No. 7 wire harness connector.
      Fig 8: Identifying Delivery Pipe Correct And Incorrect Position
      G05628821Courtesy of © TOYOTA, LICENSE AGREEMENT TMS1002
  3. INSTALL FUEL DELIVERY PIPE SUB-ASSEMBLY RH 
    1. Install the 2 delivery pipe spacers and 4 insulators to the cylinder head RH.
    2. Install the delivery pipe (with injectors) to the cylinder head RH.
    3. Install the 2 bolts.

      Torque: 21 N*m (214 kgf*cm, 15 ft.*lbf) 

      Fig 9: Locating Fuel Delivery Pipe With Bolts (RH)
      G05152008Courtesy of © TOYOTA, LICENSE AGREEMENT TMS1002
      NOTE: Make sure that the part of the injector labeled B is between the parts of the delivery pipe labeled A.
      Fig 10: Identifying Delivery Pipe Correct And Incorrect Position
      G05628821Courtesy of © TOYOTA, LICENSE AGREEMENT TMS1002
    4. Connect the No. 6 wire harness connector.
    5. Connect the ventilation hose.
    Fig 11: Locating Ventilation Hose And No. 6 Wire Harness Connector
    G05152007Courtesy of © TOYOTA, LICENSE AGREEMENT TMS1002
  4. CONNECT NO. 1 FUEL HOSE 
    1. Connect the No. 1 fuel hose to the fuel delivery pipe LH (See FUEL SYSTEM  ).
    Fig 12: Locating No. 1 Fuel Delivery Pipe LH
    G05152033Courtesy of © TOYOTA, LICENSE AGREEMENT TMS1002
  5. CONNECT NO. 1 FUEL TUBE 
    1. LH Side:

      Connect the No. 1 fuel tube to the delivery pipe LH (See FUEL SYSTEM  ).

      Fig 13: Identifying No. 1 Fuel Tube LH
      G05628797Courtesy of © TOYOTA, LICENSE AGREEMENT TMS1002
    2. RH Side:

      Connect the No. 1 fuel tube to the delivery pipe RH (See FUEL SYSTEM  ).

      Fig 14: Identifying No. 1 Fuel Tube RH
      G05628796Courtesy of © TOYOTA, LICENSE AGREEMENT TMS1002
  6. CONNECT NO. 2 FUEL TUBE 
    1. Connect the No. 2 fuel tube to the fuel pressure regulator (See FUEL SYSTEM  ).
    Fig 15: Identifying No. 2 Fuel Tube And Fuel Pressure Regulator
    G05152003Courtesy of © TOYOTA, LICENSE AGREEMENT TMS1002
  7. INSTALL NO. 1 ENGINE COVER SUB-ASSEMBLY 
    1. Install the No. 1 engine cover sub-assembly.
    Fig 16: Identifying No. 1 Engine Cover Sub-Assembly
    G05152627Courtesy of © TOYOTA, LICENSE AGREEMENT TMS1002
  8. INSTALL NO. 3 ENGINE COVER 
    1. Install the No. 3 engine cover.
  9. INSTALL AIR CLEANER HOSE ASSEMBLY  (See INSTALLATION )
  10. INSTALL V-BANK COVER SUB-ASSEMBLY  (See INSTALLATION )
    Fig 17: Identifying No. 3 Engine Cover
    G05628794Courtesy of © TOYOTA, LICENSE AGREEMENT TMS1002
  11. CONNECT CABLE TO NEGATIVE BATTERY TERMINAL 
  12. INSPECT FOR FUEL LEAK 
    1. Connect the Techstream to the DLC3.
    2. Turn the engine switch on (IG) and Techstream main switch on.
      NOTE: Do not start the engine.
    3. Enter the following menus: Powertrain / Engine and ECT / Active Test / Control the Fuel Pump / Speed.
    4. Check that there are no fuel leaks after doing maintenance anywhere on the fuel system.