LEMON Manuals: Even more car manuals for everyone: 1960-2025
Home >> Toyota >> 2009 >> Matrix Base, Automatic >> Repair and Diagnosis >> External Pages >> Different variant/trim >> Section 13 (Transfer Case MF1A/4WD/AWD) >> Transfer Case Front Oil Seal >> Replacement
April 5, 2026: LEMON Manuals is launched! Read the announcement.

Transfer Case Front Oil Seal: Replacement

WARNING: This page is about a different variant/trim than selected.
  1. REMOVE TRANSFER ASSEMBLY 

    (See REMOVAL  ).

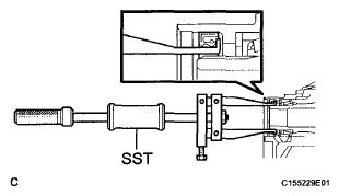
  2. REMOVE TRANSFER CASE FRONT OIL SEAL 
    1. Using SST, remove the transfer case front oil seal from the transfer case.

      SST 09308-00010 

      NOTE: Do not damage the oil seal contact surface on the case.
      Fig 1: Removing Transfer Case Front Oil Seal From Transfer Case
      G06025194Courtesy of © TOYOTA, LICENSE AGREEMENT TMS1002
  3. INSTALL TRANSFER CASE FRONT OIL SEAL 
    1. Using SST, drive in a new transfer case front oil seal into the transfer case until it reaches the position shown in the illustration.

      SST 09316-60011 (09316-00011) 

      Drive in depth: 

      9.7 to 10.3 mm (0.3819 to 0.4055 in.) 

      NOTE: Do not tilt the oil seal during installation.
    2. Apply a small amount of MP grease to the lip of the oil seal.
      Fig 2: Installing Transfer Case Front Oil Seal
      G06045841Courtesy of © TOYOTA, LICENSE AGREEMENT TMS1002
  4. INSTALL TRANSFER ASSEMBLY 

    (See INSTALLATION  )