LEMON Manuals: Even more car manuals for everyone: 1960-2025
Home >> Toyota >> 2009 >> Matrix S, AWD >> Repair and Diagnosis (Single Page) >> Accessories & Equipment >> Infotainment >> Navigation / Multi Info Display >> Navigation System >> Vehicle Speed Signal Circuit between Navigation Receiver Assembly and Combination Meter >> Inspection Procedure
April 5, 2026: LEMON Manuals is launched! Read the announcement.

Inspection Procedure

  1. INSPECT COMBINATION METER (OUTPUT WAVEFORM) 
    1. Check the output waveform.
      1. Remove the combination meter assembly with the connector still connected.
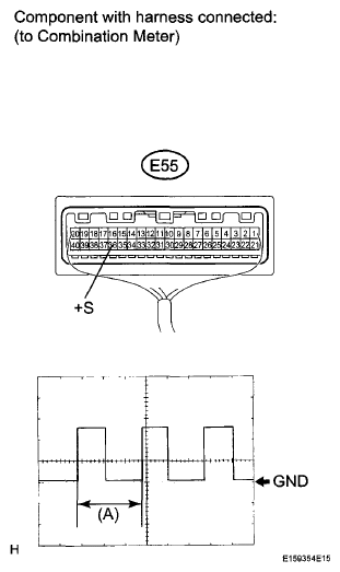
      2. Connect an oscilloscope to terminal E55-36 (+S) and body ground.
      3. Turn the ignition switch to ON.
      4. Turn the wheel slowly.
      5. Check the signal waveform according to the condition(s) in the table below.
        WAVEFORM SIGNAL REFERENCE

        Item Condition
        Tool setting 5V/DIV., 20ms./DIV.
        Vehicle condition Driving at approx. 20 km/h (12 mph)
        Fig 1: Identifying Terminal Of E55 Combination Meter Connector With Waveform Graph
        G06035965Courtesy of © TOYOTA, LICENSE AGREEMENT TMS1002

        OK: The waveform is displayed as shown in the illustration  .

        HINT:

        When the system is functioning normally, one wheel revolution generates 4 pulses. As the vehicle speed increases, the width indicated by (A) in the illustration narrows.

        NG: GO TO METER / GAUGE SYSTEM  (See METER / GAUGE SYSTEM )

        OK: Go to Next Step 

  2. CHECK HARNESS AND CONNECTOR (NAVIGATION RECEIVER ASSEMBLY - COMBINATION METER) 
    1. Disconnect the navigation receiver assembly connector and combination meter connector.
    2. Measure the resistance according to the value(s) in the table below.

      Standard Resistance 

      STANDARD RESISTANCE REFERENCE CHART

      Tester Connection Condition Specified Condition
      E52-3 (SPD) - E55-36 (+S) Always Below 1 Ω
      Fig 2: Identifying E52 Navigation Receiver Assembly And E55 Combination Meter Connectors
      G06035966Courtesy of © TOYOTA, LICENSE AGREEMENT TMS1002

      NG: REPAIR OR REPLACE HARNESS OR CONNECTOR 

      OK: REPLACE NAVIGATION RECEIVER ASSEMBLY  (See REMOVAL  )