LEMON Manuals: Even more car manuals for everyone: 1960-2025
Home >> Toyota >> 2009 >> Matrix XRS, Automatic >> Repair and Diagnosis >> Engine Performance >> Engine Control System (2AZ-FE) >> Ignition System >> System Diagram
April 5, 2026: LEMON Manuals is launched! Read the announcement.

System Diagram

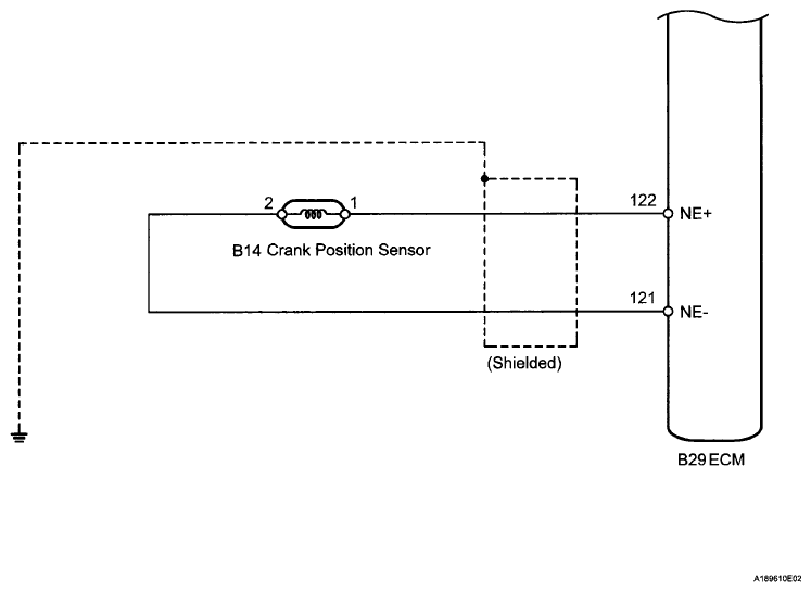
Fig 1: Ignition System Diagram (1 Of 2)
G06040269Courtesy of © TOYOTA, LICENSE AGREEMENT TMS1002
Fig 2: Ignition System Diagram (2 Of 2)
G06040270Courtesy of © TOYOTA, LICENSE AGREEMENT TMS1002