LEMON Manuals: Even more car manuals for everyone: 1960-2025
Home >> Toyota >> 2009 >> RAV4 Base, 2.5 F, AWD >> Repair and Diagnosis >> External Pages >> Different variant/trim >> Section 15 (Engine Control System (2GR-FE) - Component And System Testing, Removal, Inspection & Installation) >> Fuel Pump Control Circuit >> Inspection Procedure
April 5, 2026: LEMON Manuals is launched! Read the announcement.

Inspection Procedure

WARNING: This page is about a different variant/trim than selected.
  1. PERFORM ACTIVE TEST USING TECHSTREAM (FUEL PUMP/SPD) 
    1. Connect Techstream to the DLC3.
    2. Turn the ignition switch to ON and turn the tester ON.
    3. Select the following menu items: Powertrain / Engine and ECT / Active Test / Control the Fuel Pump / Speed.
    4. Check whether the fuel pump operating sound occurs when performing the Active Test on the tester.

      OK: Fuel pump operating sound occurs. 

      OK: Go to step  12

      NG: Go to next step 

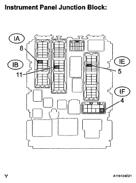
  2. INSPECT INSTRUMENT PANEL JUNCTION BLOCK ASSEMBLY (C/OPN RELAY INPUT VOLTAGE) 
    1. Measure the voltage between the terminal of the instrument panel junction block and the body ground when the ignition switch is turned to ON and off.

      Standard voltage 

      VOLTAGE SPECIFICATION

      Tester Connection Ignition Switch Condition Specified Condition
      IB-11 - Body ground Off Below 1 V
      IF-4 - Body ground
      IB-11 - Body ground ON 11 to 14 V
      IF-4 - Body ground

      OK: Go to step  4

      Fig 1: Identifying Instrument Panel Junction Block Assembly
      G05184231Courtesy of © TOYOTA, LICENSE AGREEMENT TMS1002

      NG: Go to next step 

  3. CHECK WIRE HARNESS (INSTRUMENT PANEL JUNCTION BLOCK - INTEGRATION RELAY AND IG2 RELAY) 
    1. Remove the integration relay and IG2 relay from the engine room No. 1 relay block.
    2. Disconnect the instrument panel junction block connectors.
    3. Measure the resistance.

      Standard resistance 

      RESISTANCE SPECIFICATION

      Tester Connection Specified Condition
      IG2 relay 5 - IF-4 Below 1 Ω
      1A-4 - IB-11 Below 1 Ω
      IF-4 - Body ground 10 kΩ or higher
      IB-11 - Body ground 10 kΩ or higher
    4. Reinstall the integration relay and IG2 relay.
    5. Reconnect the instrument panel junction block connectors.

      NG: REPAIR OR REPLACE HARNESS OR CONNECTOR 

      Fig 2: Identifying Integration Relay And IG2 Relay
      G05183786Courtesy of © TOYOTA, LICENSE AGREEMENT TMS1002

      OK: GO TO ECM POWER SOURCE CIRCUIT 

  4. INSPECT INSTRUMENT PANEL JUNCTION BLOCK ASSEMBLY (C/OPN RELAY) 
    1. Remove the instrument panel junction block.
    2. Measure the C/OPN relay resistance.

      Standard resistance 

      RESISTANCE SPECIFICATION

      Tester Connection Specified Condition
      IB-11 - IA-8 10 kΩ or higher
      Below 1 Ω (Battery voltage is applied to terminals IF-4 and IE-5)

      HINT:

      The relay coil circuit between IF-4 and IE-5 is through the IGN fuse.

    3. Reinstall the instrument panel junction block.

      NG: REPLACE INSTRUMENT PANEL JUNCTION BLOCK ASSEMBLY 

      Fig 3: Identifying Instrument Panel Junction Block
      G05184233Courtesy of © TOYOTA, LICENSE AGREEMENT TMS1002

      OK: Go to next step 

  5. CHECK WIRE HARNESS (INSTRUMENT PANEL JUNCTION BLOCK - ECM) 
    1. Disconnect the A9 ECM connector.
    2. Disconnect the IE connector from the instrument panel junction block.
    3. Measure the resistance.

      Standard resistance 

      RESISTANCE SPECIFICATION

      Tester Connection Specified Condition
      IE-5 - A9-52 (FC) Below 1 Ω
      IE-5 or A9-52 (FC) - Body ground 10 kΩ or higher
    4. Reconnect the instrument panel junction block and ECM connectors.

      NG: REPAIR OR REPLACE HARNESS OR CONNECTOR 

      Fig 4: Identifying A9 ECM Connector And IE Connector
      G05997604Courtesy of © TOYOTA, LICENSE AGREEMENT TMS1002

      OK: Go to next step 

  6. PERFORM ACTIVE TEST USING TECHSTREAM (FUEL PUMP/SPD) 
    1. Connect Techstream to the DLC3.
    2. Turn the ignition switch to ON and turn the tester ON.
    3. Select the following menu items: Powertrain / Engine and ECT / Active Test / Control the Fuel Pump / Speed.
    4. Check the operating noise of the relay while operating it using Techstream.

      OK: Operating noise can be heard from the relay. 

      OK: Go to step  9

      NG: Go to next step 

  7. INSPECT F/PMP RELAY  (See INSPECTION PROCEDURE )

    NG: REPLACE F/PMP RELAY 

    OK: Go to next step 

  8. CHECK WIRE HARNESS (F/PMP RELAY - ECM AND INSTRUMENT PANEL JUNCTION BLOCK) 
    1. Remove the F/PMP relay from the engine room No. 1 relay block.
    2. Disconnect the A9 ECM connector.
    3. Disconnect the IA instrument panel junction block connector.
    4. Measure the resistance.

      Standard resistance 

      RESISTANCE SPECIFICATION

      Tester Connection Specified Condition
      F/PMP relay terminal 1 - A9-48 (FPR) Below 1 Ω
      F/PMP relay terminal 2 - IA-8 Below 1 Ω
      F/PMP relay terminal 3 - IA-8 Below 1 Ω
      F/PMP relay terminal 1 or A9-48 (FPR) - Body ground 10 kΩ or higher
      F/PMP relay terminal 2 or IA-8 - Body ground 10 kΩ or higher
      F/PMP relay terminal 3 or IA-8 - Body ground 10 kΩ or higher
    5. Reconnect the ECM connector.
    6. Reconnect the instrument panel junction block connector.
    7. Reinstall the F/PMP relay.

      NG: REPAIR OR REPLACE HARNESS OR CONNECTOR 

      Fig 5: Identifying F/PMP Relay And A9 ECM A9 Connector
      G05997605Courtesy of © TOYOTA, LICENSE AGREEMENT TMS1002

      OK: Go to next step 

  9. CHECK WIRE HARNESS (F/PMP - FUEL PUMP AND PUMP RESISTOR) 
    1. Remove the F/PMP relay from the engine room No. 1 relay block.
    2. Disconnect the S1 fuel pump connector.
    3. Disconnect the A20 fuel pump resistor connector.
    4. Measure the resistance.

      Standard resistance 

      RESISTANCE SPECIFICATION

      Tester Connection Specified Condition
      F/PMP relay terminal 4 - S1-4 Below 1 Ω
      F/PMP relay terminal 5 - A20-1 Below 1 Ω
      A20-2 - S1-4 Below 1 Ω
      S1-5 - Body ground Below 1 Ω
      F/PMP relay terminal 4 or S1-4 - Body ground 10 kΩ or higher
      F/PMP relay terminal 5 or A20-1 - Body ground 10 kΩ or higher
      A20-2 or S1-4 - Body ground 10 kΩ or higher
    5. Reconnect the fuel pump resistor connector.
    6. Reconnect the fuel pump connector.
    7. Reinstall the F/PMP relay.

      NG: REPAIR OR REPLACE HARNESS OR CONNECTOR 

      Fig 6: Identifying F/PMP Relay, S1 Fuel Pump Connector And A20 Fuel Pump Resistor Connector
      G05184236Courtesy of © TOYOTA, LICENSE AGREEMENT TMS1002

      OK: Go to next step 

  10. INSPECT FUEL PUMP 
    1. Inspect the fuel pump resistance.
      1. Measure the resistance between the terminals.

        Standard resistance: 0.2 to 3.0 Ω at 20°C (68°F) 

    2. Inspect the fuel pump operation.
      1. Apply battery voltage to the terminals. Check that the pump operates.
        NOTE:
        • This test must be done quickly (within 10 seconds) to prevent the coil from burning out.
        • Keep the fuel pump as far away from the battery as possible.
        • Always turn the voltage on and off on the battery side, not the fuel pump side.
          Fig 7: Identifying Fuel Pump Connector
          G05184237Courtesy of © TOYOTA, LICENSE AGREEMENT TMS1002

        NG: REPLACE FUEL PUMP 

        OK: Go to next step 

  11. INSPECT FUEL PUMP RESISTOR 
    1. Measure the resistance of the fuel pump resistor.

      Standard resistance: 0.30 to 0.34 Ω at 20°C (68°F) 

      NG: REPLACE FUEL PUMP RESISTOR 

      OK: REPLACE ECM 

  12. READ VALUE USING TECHSTREAM (STARTER SIG) 
    1. Connect Techstream to the DLC3.
    2. Turn the ignition switch to ON and turn the tester ON.
    3. Select the following menu items: Powertrain / Engine and ECT / Data List / Starter Signal.
    4. Check the result when the ignition switch is turned to ON and START.

      OK 

      IGNITION SWITCH POSITION REFERENCE CHART

      Ignition Switch Position Starter Signal
      ON OFF
      START ON

      NG: REPAIR OR REPLACE STARTING SYSTEM 

      OK: Go to next step 

  13. READ VALUE USING TECHSTREAM (ENGINE SPD) 
    1. Connect Techstream to the DLC3.
    2. Turn the ignition switch to ON and turn the tester ON.
    3. Select the following menu items: Powertrain / Engine and ECT / Data List / Engine Speed.
    4. Read the values displayed on the tester while cranking.

      Standard: Values are displayed continuously. 

      NG: REPAIR OR REPLACE CRANKSHAFT POSITION SENSOR CIRCUIT 

      OK: REPLACE ECM