LEMON Manuals: Even more car manuals for everyone: 1960-2025
Home >> Toyota >> 2009 >> RAV4 Base, 2.5 F, AWD >> Repair and Diagnosis >> General Information >> Identification >> Introduction >> Repair Instruction >> Precaution
April 5, 2026: LEMON Manuals is launched! Read the announcement.

Repair Instruction: Precaution

  1. BASIC REPAIR HINT 
    1. HINTS ON OPERATIONS
      Fig 1: Identifying Basic Repair Operations
      G05996013Courtesy of © TOYOTA, LICENSE AGREEMENT TMS1002
    2. JACKING UP AND SUPPORTING VEHICLE
      1. Care must be taken when jacking up and supporting the vehicle. Be sure to lift and support the vehicle at the proper locations.
    3. PRECOATED PARTS
      1. Precoated parts are bolts and nuts that are coated with a seal lock adhesive at the factory.
      2. If a precoated part is retightened, loosened or moved in any way, it must be recoated with the specified adhesive.
      3. When reusing a precoated part, clean off the old adhesive and dry the part with compressed air. Then apply new seal lock adhesive appropriate to that part.
      4. Some seal lock agents harden slowly. You may have to wait for the seal lock adhesive to harden.
        Fig 2: Identifying Seal Lock Adhesive
        G05188531Courtesy of © TOYOTA, LICENSE AGREEMENT TMS1002
    4. GASKETS
      1. When necessary, use a sealer on gaskets to prevent leaks.
    5. BOLTS, NUTS AND SCREWS
      1. Carefully follow all the specifications for tightening torques. Always use a torque wrench.
    6. FUSES
      1. When inspecting a fuse, check that the wire of the fuse is not broken.
      2. If the wire of a fuse is broken, confirm that there are no shorts in its circuit.
      3. When a fuse is replaced, a fuse with the same amperage rating must be used.
        Fig 3: Identifying Correct And Incorrect Fuses
        G04947314Courtesy of © TOYOTA, LICENSE AGREEMENT TMS1002
        ILLUSTRATION SYMBOL CHART

        Illustration Symbol Part Name Abbreviation
        G05996016Courtesy of © TOYOTA, LICENSE AGREEMENT TMS1002
        G05996017Courtesy of © TOYOTA, LICENSE AGREEMENT TMS1002
        FUSE FUSE
        G05996018Courtesy of © TOYOTA, LICENSE AGREEMENT TMS1002
        G05996019Courtesy of © TOYOTA, LICENSE AGREEMENT TMS1002
        MEDIUM CURRENT FUSE M-FUSE
        G05996020Courtesy of © TOYOTA, LICENSE AGREEMENT TMS1002
        G05996021Courtesy of © TOYOTA, LICENSE AGREEMENT TMS1002
        HIGH CURRENT FUSE H-FUSE
        G05996022Courtesy of © TOYOTA, LICENSE AGREEMENT TMS1002
        G05996023Courtesy of © TOYOTA, LICENSE AGREEMENT TMS1002
        FUSIBLE LINK FL
        G05996024Courtesy of © TOYOTA, LICENSE AGREEMENT TMS1002
        G05996025Courtesy of © TOYOTA, LICENSE AGREEMENT TMS1002
        CIRCUIT BREAKER CB
    7. clips
      1. The removal and installation methods of typical clips used for vehicle body parts are shown in the table below.

        HINT:

        If clips are damaged during a procedure, always replace the clips with new clips.

        Fig 4: Identifying Removal And Installation Methods Of Clips
        G05996026Courtesy of © TOYOTA, LICENSE AGREEMENT TMS1002
    8. CLAWS
      1. The removal and installation methods of typical claws used for vehicle body parts are shown in the table below.

        HINT:

        If claws of caps or covers are damaged during a procedure, always replace the caps or covers with new ones.

        Fig 5: Identifying Removal And Installation Methods Of Claws
        G05996027Courtesy of © TOYOTA, LICENSE AGREEMENT TMS1002
    9. HINGE, GUIDE, CLAMP, PIN ETC.
      1. The removal and installation methods of typical hinges, guides, clamps and pins used for vehicle body parts are shown in the table below.

        HINT:

        If clamps are damaged during a procedure, always replace the cap or cover that has damaged clamps with a new one.

        Fig 6: Identifying Removal And Installation Methods Of Hinges, Guides, Clamps And Pins
        G05996028Courtesy of © TOYOTA, LICENSE AGREEMENT TMS1002
    10. REMOVAL AND INSTALLATION OF VACUUM HOSES
      1. To disconnect a vacuum hose, pull and twist from the end of the hose. Do not pull from the middle of the hose as this may cause damage.
        Fig 7: Identifying Correct And Incorrect Method Of Disconnecting Vacuum Hose
        G04947343Courtesy of © TOYOTA, LICENSE AGREEMENT TMS1002
      2. When disconnecting vacuum hoses, use tags to identify where they should be reconnected.
      3. After completing any hose related repairs, double-check that the vacuum hoses are properly connected. The label under the hood shows the proper layout.
      4. When using a vacuum gauge, never force the hose onto a connector that is too large. If a hose has been stretched, it may leak air. Use a step-down adapter if necessary.
        Fig 8: Identifying Tags On Replacement Parts
        G04947344Courtesy of © TOYOTA, LICENSE AGREEMENT TMS1002
    11. TORQUE WHEN USING TORQUE WRENCH WITH EXTENSION TOOL
      Fig 9: Identifying Length Of Extension Tool And Torque Wrench
      G04947345Courtesy of © TOYOTA, LICENSE AGREEMENT TMS1002
      1. Use the formula below to calculate special torque values for situations where SST or an extension tool is combined with a torque wrench.

        Formula: 

        T = L2/(L1 + L2)*T 

        TORQUE VALUES REFERENCE

        T' Reading of torque wrench {N*m (kgf*cm, ft.*lbf)}
        T Torque {N*m (kgf*cm, ft.*lbf)}
        L1 Length of SST or extension tool {cm (in.)}
        L2 Length of torque wrench {cm (in.)}
        Fig 10: Identifying Length Of SST And Torque Wrench
        G04947346Courtesy of © TOYOTA, LICENSE AGREEMENT TMS1002
        NOTE: If an extension tool or SST is combined with a torque wrench and the wrench is used to tighten to a torque specification in this article, the actual torque will be excessive and parts will be damaged.
  2. FOR VEHICLES WITH SUPPLEMENTAL RESTRAINT SYSTEM 

    The RAV4 is equipped with a Supplemental Restraint System (SRS). The SRS of this vehicle consists of the following:

    1. Steering pad
    2. Front passenger airbag assembly
    3. Front seat side airbag assembly
    4. Front seat outer belt assembly with pretensioner
    5. Curtain shield
    6. Center airbag sensor
    7. Front airbag sensor
    8. Side airbag sensor
    9. Rear airbag sensor
    10. Occupant Classification ECU
      CAUTION:
      • Failure to carry out service procedures in the correct sequence could cause SRS parts to unexpectedly deploy and possibly lead to serious injuries. Furthermore, if a mistake is made when servicing SRS parts, they may fail to operate when required. Before performing servicing (including installation/removal, inspection and replacement of parts), be sure to read the following precautions.
      • Before starting work, wait at least 90 seconds after the ignition switch is turned OFF and after the cable of the negative (-) battery terminal is disconnected. (SRS parts are equipped with a backup power source. If work is started within 90 seconds of turning the ignition switch OFF and disconnecting the cable from the negative (-) battery terminal, SRS parts may deploy.)
      • Do not expose SRS parts directly to hot air or flames.
      NOTE:
      • Malfunction symptoms of SRS parts are difficult to confirm. DTCs are the most important source of information when troubleshooting. During troubleshooting, always confirm DTCs before disconnecting the cable from the negative (-) battery terminal.
      • For minor collisions where SRS parts do not deploy, always inspect the SRS parts.
      • Before performing repairs, remove airbag sensors as necessary if any kind of impact is likely to occur to an airbag sensor during repairs.
      • Never use SRS parts from another vehicle. When replacing SRS parts, replace them with new ones.
      • Never disassemble or attempt to repair SRS parts.
      • If an SRS part has been dropped, or if there are any cracks, dents or other defects in the case, bracket or connector, replace the SRS part with a new one.
      • Use an ohmmeter/voltmeter with high impedance (10 kΩ/V minimum) for troubleshooting the electrical circuits.
      • Information labels are attached to the periphery of SRS parts. Follow the cautions and instructions on the labels.
      • After work on SRS parts is completed, perform the SRS warning light check.
      • When the cable is disconnected from the negative (-) battery terminal, the memory settings of each system will be cleared. Because of this, be sure to write down the settings of each system before starting work. When work is finished, reset the settings of each system as before. Never use a backup power supply from outside the vehicle to avoid erasing the memory in a system.
    1. SPIRAL CABLE
      1. The steering wheel must be fitted correctly to the steering column with the spiral cable at the neutral position, as cable disconnection and other problems may occur. Refer to the information about correct installation of the steering wheel.
    2. AIRBAG ASSEMBLY
      1. Airbag assembly with pad:

        Always place a removed or new airbag assembly with the pad surface facing upward. Placing the airbag assembly with the airbag inflation direction facing downward could cause a serious accident if the airbag inflates. Also, do not place anything on top of the airbag assembly.

      2. Never measure the resistance of the airbag squib. This may cause the airbag to inflate, which could cause a serious injury.
      3. Grease or detergents of any kind should not be applied to the airbag assembly.
      4. Store the airbag assembly in an area where the ambient temperature is below 93°C (200°F), the humidity is not high and there is no electrical noise.
      5. When using electric welding anywhere on the vehicle, disconnect the center airbag sensor assembly connectors. These connectors contain shorting springs. This feature reduces the possibility of the airbag deploying due to currents entering the squib wiring.
      6. When disposing of the vehicle or the airbag assembly by itself, the airbag should be deployed using SST before disposal. Activate the airbag in a safe place away from electrical noise.
    3. SEAT OUTER BELT ASSEMBLY WITH PRETENSIONER
      1. Never measure the resistance of the seat outer belt. This may cause the pretensioner of the seat outer belt to activate, which could cause a serious injury.
      2. Never install the seat outer belt on another vehicle.
      3. Store the seat outer belt in an area where the ambient temperature is below 80°C (176°F), the humidity is not high and there is no electrical noise.
      4. When using electric welding anywhere on the vehicle, disconnect the center airbag sensor assembly connectors. These connectors contain shorting springs. This feature reduces the possibility of the pretensioner deploying due to currents entering the squib wiring.
      5. When disposing of a vehicle or the seat outer belt by itself, the pretensioner should be activated before disposal. Activate the pretensioner in a safe place away from electrical noise.
      6. As the seat outer belt is hot after the pretensioner is activated, allow some time for it to cool down sufficiently before disposal. Never apply water to try to cool down the seat outer belt.
      7. Grease, detergents, oil or water should not be applied to the seat outer belt.
    4. CENTER AIRBAG SENSOR ASSEMBLY
      1. Never reuse a center airbag sensor assembly that has been involved in a collision where the SRS has deployed.
      2. The connectors to the center airbag sensor assembly should be connected or disconnected with the sensor placed on the floor. If the connectors are connected or disconnected while the center airbag sensor assembly is not placed on the floor, the SRS may activate.
      3. Work must be started at least 90 seconds after the ignition switch is turned OFF and the cable is disconnected from the negative (-) battery terminal, even if only loosening the set bolts of the airbag sensor assembly.
    5. WIRE HARNESS AND CONNECTOR
      1. All the connectors in the system are yellow. If the SRS wire harness becomes disconnected or the connector becomes broken, repair or replace it.
  3. ELECTRONIC CONTROL 
    1. REMOVAL AND INSTALLATION OF BATTERY TERMINAL
      NOTE: Certain systems need to be initialized after disconnecting and reconnecting the cable from the negative (-) battery terminal.
      1. Before performing electronic work, disconnect the cable from the negative (-) battery terminal to prevent component and wire damage caused by accidental short circuits.
        Fig 11: Disconnecting Cable From Negative (-) Battery Terminal
        G05188560Courtesy of © TOYOTA, LICENSE AGREEMENT TMS1002
      2. When disconnecting the cable, turn the ignition switch OFF and headlight dimmer switch OFF and loosen the cable nut completely. Perform these operations without twisting or prying the cable. Then disconnect the cable.
      3. Clock settings, radio settings, audio system memory, DTCs and other data are erased when the cable is disconnected from the negative (-) battery terminal. Write down any necessary data before disconnecting the cable.
    2. HANDLING OF ELECTRONIC PARTS
      1. Do not open the cover or case of the ECU unless absolutely necessary. If the IC terminals are touched, the IC may be rendered inoperative by static electricity.
      2. Do not pull the wires when disconnecting electronic connectors. Pull the connector.
      3. Be careful not to drop electronic components, such as sensors or relays. If they are dropped on a hard surface, they should be replaced.
      4. When cleaning the engine with steam, protect the electronic components, air filter and emission-related components from water.
      5. Never use an impact wrench to remove or install temperature switches or temperature sensors.
      6. When measuring the resistance of a wire connector, insert the tester probe carefully to prevent terminals from bending.
        Fig 12: Incorrect Method Of Handling ECU
        G04947348Courtesy of © TOYOTA, LICENSE AGREEMENT TMS1002
  4. REMOVAL AND INSTALLATION OF FUEL CONTROL PARTS 
    1. PLACE FOR REMOVING AND INSTALLING FUEL SYSTEM PARTS
      1. Work in a location with good air ventilation that does not have welders, grinders, drills, electric motors, stoves, or any other ignition sources.
      2. Never work in a pit or near a pit as vaporized fuel will collect in those places.
    2. REMOVING AND INSTALLING FUEL SYSTEM PARTS
      1. Prepare a fire extinguisher before starting the operation.
      2. To prevent static electricity, install a ground wire to the fuel changer, vehicle and fuel tank, and do not spray the surrounding area with water. Be careful when performing work in this area, as the work surface will become slippery. Do not clean up gasoline spills with water, as this may cause the gasoline to spread, and possibly create a fire hazard.
      3. Avoid using electric motors, working lights and other electric equipment that can cause sparks or high temperatures.
      4. Avoid using iron hammers as they may create sparks.
      5. Dispose of fuel-contaminated cloth separately using a fire resistant container.
  5. REMOVAL AND INSTALLATION OF ENGINE INTAKE PARTS 
    1. If any metal particles enter inlet system parts, they may damage the engine.
    2. When removing and installing inlet system parts, cover the openings of the removed parts and engine openings. Use gummed tape or other suitable materials.
    3. When installing inlet system parts, check that no metal particles have entered the engine or the installed parts.
      Fig 13: Identifying Cover On Engine Openings
      G05188562Courtesy of © TOYOTA, LICENSE AGREEMENT TMS1002
  6. HANDLING OF HOSE CLAMPS 
    1. Before removing the hose, check the clamp position so that it can be reinstalled in the same position.
    2. Replace any deformed or dented clamps with new ones.
    3. When reusing a hose, attach the clamp on the clamp track portion of the hose.
    4. For a spring type clamp, you may want to spread the tabs slightly after installation by pushing in the direction of the arrows as shown in the illustration.
      Fig 14: Identifying Clamp Track And Spring Type Clamp
      G04947350Courtesy of © TOYOTA, LICENSE AGREEMENT TMS1002
  7. FOR VEHICLES EQUIPPED WITH MOBILE COMMUNICATION SYSTEMS 
    1. Install the antenna as far away from the ECU and sensors of the vehicle electronic systems as possible.
    2. Install an antenna feeder at least 20 cm (7.87 in.) away from the ECU and sensors of the vehicle electronic systems.
    3. Keep the antenna and feeder separate from other wiring as much as possible. This will prevent signals of the communication equipment from affecting vehicle equipment and vice versa.
    4. Check that the antenna and feeder are correctly adjusted.
    5. Do not install a high-powered mobile communication system.
      Fig 15: Identifying Vehicle Equipped With Mobile Communication Systems
      G04947351Courtesy of © TOYOTA, LICENSE AGREEMENT TMS1002
  8. FOR VEHICLES EQUIPPED WITH VEHICLE STABILITY (VSC) SYSTEM 
    1. NOTICES WHEN USING DRUM TESTER
      1. Before beginning testing, disable the VSC. To disable the VSC, turn the ignition switch OFF and connect SST to terminals 12 (TS) and 4 (CG) of the DLC3.

        SST 09843-18040 

        NOTE:
        • Confirm that the VSC warning light blinks.
          Fig 16: Identifying DLC3 Connector Terminals
          G04949563Courtesy of © TOYOTA, LICENSE AGREEMENT TMS1002
        • VSC system will be reset when the engine is started.
        • For safety, secure the vehicle with restraint chains while using a wheel dynamometer.
    2. NOTICES OF RELATED OPERATIONS TO VSC
      1. Do not carry out unnecessary installation and removal as it might affect the adjustment of VSC related parts.
      2. Be sure to follow the instructions for work preparation and final confirmation of proper operation of the VSC system.
  9. WHEN SERVICING ACTIVE TORQUE CONTROL 4WD VEHICLES 
    1. The active torque control 4WD RAV4 is equipped with the 4 wheel drive control system.

      If incorrect preparations or test procedures are used, the test will not only be unsuccessful, but may be dangerous as well.

      CAUTION:
      • Never accelerate or decelerate the vehicle suddenly.
      • Observe the other cautions given for each individual test.
      NOTE:
      • Sudden shifting, braking, acceleration or deceleration is not allowed.
      • Do not use the parking brake while the vehicle's wheels are rotating.
      • Do not perform the measurements continuously for a long period of time.
      • Make sure to activate the Vehicle Stability Control (VSC) & Traction Control (TRAC) system to an operational condition after the test. Check that the VSC warning indicator light goes off when restarting the engine.

      Therefore, before beginning any such servicing or test, be sure to check the following items:

      1. Whether the tires are touching the ground or jacked up
      2. Transmission gear position
      3. Maximum testing vehicle speed
      4. Maximum testing time
    2. When using a braking force tester (not free roller type):

      When performing measurements using a low-speed type (Vehicle Speed: Below 0.5 km/h or 0.3 mph) brake tester, observe the following instructions.

      1. Press the 4WD LOCK-MODE SWITCH to OFF to disable the 4WD system.
      2. If the vehicle is equipped with the Vehicle Stability Control (VSC) & Traction Control (TRAC) system, prohibit the system from activating.
        Fig 17: Identifying 4WD Lock-Mode Switch
        G05996039Courtesy of © TOYOTA, LICENSE AGREEMENT TMS1002
      3. Position the front wheels to be tested on the tester.
      4. Jack up the rear wheels.
      5. Ensure that the vehicle does not move using wires.
      6. Shift the transmission shift lever to the "N" position.
      7. Idle the engine, operate the brake booster and perform the test.
        CAUTION: The maximum driving time should be 1 minute.
        Fig 18: Identifying Front Wheel On Tester Position
        G05996040Courtesy of © TOYOTA, LICENSE AGREEMENT TMS1002
    3. When using a braking force tester (free roller type): When performing measurements using a low-speed type (Vehicle Speed: Below 0.5 km/h or 0.3 mph) brake tester, observe the following instructions.
      1. Press the 4WD LOCK-MODE SWITCH to turn it OFF and disable the 4WD system.
      2. If the vehicle is equipped with the Vehicle Stability Control (VSC) & Traction Control (TRAC) system, prohibit the system from activating.
        Fig 19: Identifying 4WD Lock-Mode Switch
        G05996039Courtesy of © TOYOTA, LICENSE AGREEMENT TMS1002
      3. Position the front wheels on the tester roller.
      4. Position the rear wheels on the free roller.
      5. Ensure that the vehicle does not move using wires.
      6. Shift the transmission shift lever to the "N" position.
      7. Idle the engine, operate the brake booster and perform the test.
        CAUTION: The maximum driving time should be 1 minute.
        Fig 20: Identifying Rear Wheels On Free Roller Position
        G05996042Courtesy of © TOYOTA, LICENSE AGREEMENT TMS1002
    4. When using a speedometer (not free roller type): Observe the following instructions and then measure with the rear wheels.
      1. Press the 4WD LOCK-MODE SWITCH to turn it OFF and disable the 4WD system.
      2. If the vehicle is equipped with the Vehicle Stability Control (VSC) & Traction Control (TRAC) system, prohibit the system from activating.
        Fig 21: Identifying 4WD Lock-Mode Switch
        G05996039Courtesy of © TOYOTA, LICENSE AGREEMENT TMS1002
      3. Position the front wheels on the tester.
      4. Jack up the rear wheels.
      5. Ensure that the vehicle does not move using wires.
      6. Shift the transmission shift lever to the "D" position.
        CAUTION:
        • The maximum speed should be less than 50 km/h (31 mph).
        • If the measurement is required with over 50 km/h (31 mph), remove the propeller shaft.
          Fig 22: Identifying Front Wheel On Tester Position
          G05996040Courtesy of © TOYOTA, LICENSE AGREEMENT TMS1002
    5. When using a speedometer (free roller type): Observe the following instructions and then measure with the rear wheels.
      1. Press the 4WD LOCK-MODE SWITCH to turn it OFF and disable the 4WD system.
      2. If the vehicle is equipped with the Vehicle Stability Control (VSC) & Traction Control (TRAC) system, prohibit the system from activating.
        Fig 23: Identifying 4WD Lock-Mode Switch
        G05996039Courtesy of © TOYOTA, LICENSE AGREEMENT TMS1002
      3. Position the front wheels on the tester roller.
      4. Position the rear wheels on the free roller.
      5. Ensure that the vehicle does not move using wires.
      6. Shift the transmission shift lever to the "D" position.
        CAUTION:
        • The maximum speed should be less than 50 km/h (31 mph).
        • If the measurement is required with over 50 km/h (31 mph), remove the propeller shaft.
          Fig 24: Identifying Rear Wheels On Free Roller Position
          G05996042Courtesy of © TOYOTA, LICENSE AGREEMENT TMS1002
    6. Using chassis dynamometer
      CHASSIS DYNAMOMETER REFERENCE CHART

      Vehicle Condition Chassis dynamometer Type Note
      G05996047Courtesy of © TOYOTA, LICENSE AGREEMENT TMS1002
      2-Wheel Chassis Dynamometer
      • Remove the propeller shaft.
      • Remove the 4WD fuse from fuse box during the test.
        NOTE: After the test, reinstall the fuse, and then delete DTC C1298.
      G05996048Courtesy of © TOYOTA, LICENSE AGREEMENT TMS1002
      4-Wheel Free Chassis Dynamometer
      CAUTION: Do not use a 4 wheel chassis dynamometer.
      G05996049Courtesy of © TOYOTA, LICENSE AGREEMENT TMS1002
      4-Wheel Driven Chassis Dynamometer -

      When performing high speed, high load measurements on a chassis dynamometer, observe the following instructions and then measure with the front wheels.

      1. If the vehicle is equipped with the Vehicle Stability Control (VSC) & Traction Control (TRAC) system, prohibit the system from activating.
      2. Ensure that the vehicle is securely fixed in place.

        HINT:

        • Sudden shifting, braking, acceleration or deceleration is not allowed.
        • Make sure to activate the Vehicle Stability Control (VSC) & Traction Control (TRAC) system after the test. Check that the VSC warning indicator light goes off when restarting the engine.
    7. On-Vehicle Wheel Balancing:

      When performing on-vehicle wheel balancing on an active torque control 4WD vehicle, to prevent each wheel from being rotated at a different speed and in different directions, always be sure to observe the following precautions.

      1. All 4 wheels should be jacked up and lifted off of the ground completely.
      2. Press the 4WD LOCK-MODE SWITCH to turn it OFF and disable the 4WD system.
        CAUTION: Propeller shaft should be removed.
      3. If the vehicle is equipped with a Vehicle Stability Control (VSC) system, prohibit the system from activating (see previous step).
      4. The parking brake lever should be fully released.
      5. None of the brakes should be applied.
      6. The wheels should be driven on the wheel balancer with the engine running.
      7. Carry out the wheel balancing with the transmission in the D position.
        Fig 25: Checking Vehicle Wheel Balancing
        G05996050Courtesy of © TOYOTA, LICENSE AGREEMENT TMS1002

        HINT:

        • When performing the wheel balancing, pay attention to the other wheels rotating at the same time.
        • Sudden acceleration, deceleration or braking is not allowed.
        • Do not forget to change the Vehicle Stability Control (VSC) system to an operational condition after the test. Check that the VSC warning indicator light goes off when restarting the engine.
  10. WHEN TOWING ACTIVE TORQUE CONTROL 4WD VEHICLES 
    • Use one of the methods shown below to tow the vehicle.
    • If the vehicle has trouble in the chassis and drivetrain, use method 1 (flat bed truck).
      TOWING METHOD REFERENCE CHART

      Towing Method Parking Brake Condition
      1. Flat Type Truck
      G05996051Courtesy of © TOYOTA, LICENSE AGREEMENT TMS1002
      Applied
      2. Wheel Lift Type Truck From Front
      G05996052Courtesy of © TOYOTA, LICENSE AGREEMENT TMS1002
      Applied
      NOTE: Do not use any towing method other than those shown above.
    • For example, the towing methods shown below are dangerous or damage the vehicle, so do not use them.
      TOWING METHOD REFERENCE CHART

      G05996053Courtesy of © TOYOTA, LICENSE AGREEMENT TMS1002
      • Never tow the vehicle using a method where the lifted-up wheel cannot rotate.
      • If this towing method is used, either from the front or rear:
        1. There is a danger of the drivetrain heating up and causing a breakdown, or of the wheels flying off the dolly.
        2. In addition, if the vehicle is equipped with the Vehicle Stability Control (VSC) & Traction Control (TRAC) system, the system will apply the rotating wheel brake only when the engine is running.
      G05996054Courtesy of © TOYOTA, LICENSE AGREEMENT TMS1002
      CAUTION: Do not use the sling type method, either from the front or rear, as this method causes damage to the body.
      G05996055Courtesy of © TOYOTA, LICENSE AGREEMENT TMS1002
      CAUTION: Do not tow the vehicle with all of its wheels contacting the ground, as this causes damage to the transaxle.
  11. FOR VEHICLES EQUIPPED WITH CATALYTIC CONVERTER 
    CAUTION: If a large amount of unburned gasoline or gasoline vapors flow into the converter, it may cause overheating and create a fire hazard. To prevent this, observe the following precautions.
    1. Use only unleaded gasoline.
    2. Avoid idling the engine for more than 20 minutes.
    3. Avoid performing unnecessary spark jump tests.
      1. Perform a spark jump test only when absolutely necessary. Perform this test as rapidly as possible.
      2. While testing, never race the engine.
    4. Avoid a prolonged engine compression measurement. Engine compression measurements must be performed as rapidly as possible.
    5. Do not run the engine when the fuel tank is nearly empty. This may cause the engine to misfire and create an extra load on the converter.
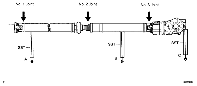
  12. INSPECTION AND ADJUSTMENT OF JOINT ANGLE DURING REMOVAL AND INSTALLATION OF PROPELLER SHAFT (4WD) 
    1. When performing operations which involve the removal and installation of the propeller shaft, always check the joint angle. Make adjustments if necessary (see INSTALLATION ).
      Fig 26: Locating Propeller Shaft Joints
      G05996056Courtesy of © TOYOTA, LICENSE AGREEMENT TMS1002