LEMON Manuals: Even more car manuals for everyone: 1960-2025
Home >> Toyota >> 2010 >> Prius Base >> Repair and Diagnosis (Single Page) >> Accessories & Equipment >> Communication Devices >> Can Communication System (Diagnostic Codes & Circuit Tests) (Except PHV) >> Can Communication System >> Circuit Test >> Steering Angle Sensor Communication Stop Mode >> Procedure
April 5, 2026: LEMON Manuals is launched! Read the announcement.

Steering Angle Sensor Communication Stop Mode: Procedure

  1. CHECK CAN BUS WIRE FOR DISCONNECTION (STEERING ANGLE SENSOR BRANCH WIRE) 
    1. Turn the power switch off.
    2. Disconnect the steering angle sensor connector.
      Fig 1: Identifying Steering Angle Sensor Connector Terminals
      GTY219485Courtesy of © TOYOTA, LICENSE AGREEMENT TMS1002
      *1 Front view of wire harness connector
      (to Steering Angle Sensor)
    3. Measure the resistance according to the value(s) in the table below.

      Standard Resistance

      Tester Connection Switch Condition Specified Condition
      L51-4 (CANH) - L51-3 (CANL) Power switch off 54 to 69 Ω

    NG → REPAIR OR REPLACE CAN BUS BRANCH WIRE OR CONNECTOR (STEERING ANGLE SENSOR BRANCH WIRE) 

    OK: Go to next step 

  2. CHECK HARNESS AND CONNECTOR (POWER SOURCE TERMINAL) 
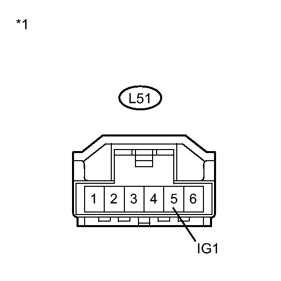
    1. Turn the power switch on (IG).
    2. Measure the voltage according to the value(s) in the table below.
      Fig 2: Identifying Steering Angle Sensor Connector Terminals
      GTY236518Courtesy of © TOYOTA, LICENSE AGREEMENT TMS1002

      Standard Voltage

      Tester Connection Switch Condition Specified Condition
      L51-5 (IG1) - Body ground Power switch on (IG) 11 to 14 V
      Callouts For Fig. 70

      *1 Front view of wire harness connector
      (to Steering Angle Sensor)

    NG → REPAIR OR REPLACE HARNESS OR CONNECTOR (POWER SOURCE CIRCUIT) 

    OK: Go to next step 

  3. CHECK HARNESS AND CONNECTOR (GROUND TERMINAL) 
    1. Turn the power switch off.
    2. Measure the resistance according to the value(s) in the table below.
      Fig 3: Identifying Steering Angle Sensor Connector Terminals
      GTY236516Courtesy of © TOYOTA, LICENSE AGREEMENT TMS1002

      Standard Resistance

      Tester Connection Condition Specified Condition
      L51-2 (ESS) - Body ground Always Below 1 Ω
      Callouts For Fig. 71

      *1 Front view of wire harness connector
      (to Steering Angle Sensor)

    NG → REPAIR OR REPLACE HARNESS OR CONNECTOR (GROUND CIRCUIT) 

    OK → See step   4 

  4. REPLACE SPIRAL CABLE WITH STEERING ANGLE SENSOR SUB-ASSEMBLY. Refer to  REMOVAL