LEMON Manuals: Even more car manuals for everyone: 1960-2025
Home >> Toyota >> 2010 >> Prius Base >> Repair and Diagnosis (Single Page) >> Accessories & Equipment >> Infotainment >> Navigation System (Diagnostic Codes & Circuit Tests) (Except PHV) >> Navigation System >> Circuit Test >> Stereo Component Amplifier Power Source Circuit >> Procedure
April 5, 2026: LEMON Manuals is launched! Read the announcement.

Stereo Component Amplifier Power Source Circuit: Procedure

  1. CONFIRM MODEL 
    1. Choose the model to be inspected.

      Result

      Result Proceed to
      w/ "Bluetooth" Audio System A
      w/o "Bluetooth" Audio System B

    B → See step   4 

    A: Go to next step 

  2. INSPECT STEREO COMPONENT AMPLIFIER ASSEMBLY 
    1. Disconnect the L30 stereo component amplifier assembly connector.
      Fig 1: Identifying L30 Stereo Component Amplifier Assembly Connector
      GTY218687Courtesy of © TOYOTA, LICENSE AGREEMENT TMS1002
    2. Disconnect the L31 stereo component amplifier assembly connector.
      Fig 2: Identifying L31 Stereo Component Amplifier Assembly Connector
      GTY222793Courtesy of © TOYOTA, LICENSE AGREEMENT TMS1002
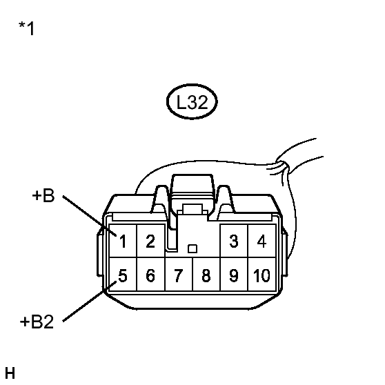
    3. Disconnect the L32 stereo component amplifier assembly connector.
      Fig 3: Identifying L32 Stereo Component Amplifier Assembly Connector
      GTY215490Courtesy of © TOYOTA, LICENSE AGREEMENT TMS1002
    4. Measure the resistance according to the value(s) in the table below.

      Standard Resistance

      Tester Connection Condition Specified Condition
      L30-6 (GND) - Body ground Always Below 1 Ω
      L30-7 (GND2) - Body ground Always Below 1 Ω
    5. Measure the voltage according to the value(s) in the table below.

      Standard Voltage

      Tester Connection Condition Specified Condition
      L32-1 (+B) - L30-6 (GND) Power switch off 11 to 14 V
      L32-5 (+B2) - L30-6 (GND) Power switch off 11 to 14 V
      L31-12 (ACC) - L30-6 (GND) Power switch on (ACC) 11 to 14 V
      TEXT IN ILLUSTRATION

      *1 Front view of wire harness connector
      (to Stereo Component Amplifier Assembly)

    NG → REPAIR OR REPLACE HARNESS OR CONNECTOR 

    OK → See step   3 

  3. PROCEED TO NEXT SUSPECTED AREA SHOWN IN PROBLEM SYMPTOMS TABLE. Refer to  PROBLEM SYMPTOMS TABLE 
  4. INSPECT STEREO COMPONENT AMPLIFIER ASSEMBLY 
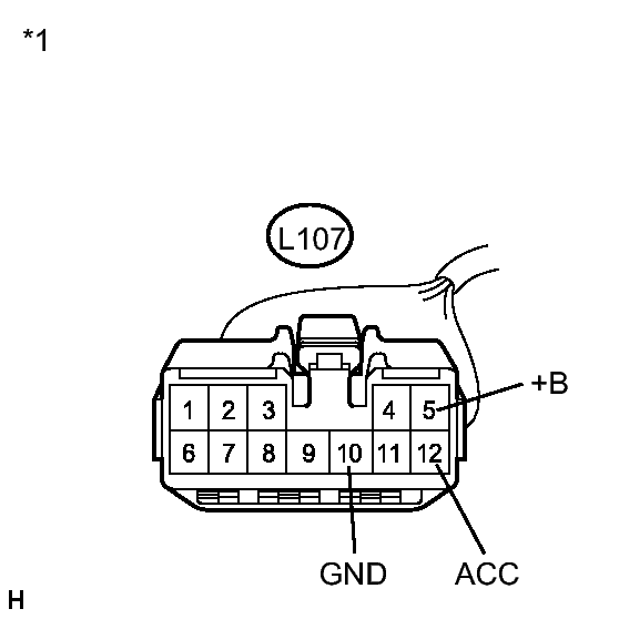
    1. Disconnect the L107 stereo component amplifier assembly connector.
      Fig 4: Identifying L107 Stereo Component Amplifier Assembly Connector
      GTY233425Courtesy of © TOYOTA, LICENSE AGREEMENT TMS1002
    2. Measure the resistance according to the value(s) in the table below.

      Standard Resistance

      Tester Connection Condition Specified Condition
      L107-10 (GND) - Body ground Always Below 1 Ω
    3. Measure the voltage according to the value(s) in the table below.

      Standard Voltage

      Tester Connection Condition Specified Condition
      L107-5 (+B) - L107-10 (GND) Power switch off 11 to 14 V
      L107-12 (ACC) - L107-10 (GND) Power switch on (ACC) 11 to 14 V
      TEXT IN ILLUSTRATION

      *1 Front view of wire harness connector
      (to Stereo Component Amplifier Assembly)

    NG → REPAIR OR REPLACE HARNESS OR CONNECTOR 

    OK: Go to next step 

  5. INSPECT STEREO COMPONENT AMPLIFIER ASSEMBLY 
    1. Measure the voltage according to the value(s) in the table below.
      Fig 5: Identifying l107 Connector
      GTY218185Courtesy of © TOYOTA, LICENSE AGREEMENT TMS1002

      Standard Voltage

      Tester Connection Condition Specified Condition
      L107-9 (AMP+) - L107-10 (GND) Power switch on (IG) 11 to 14 V
      TEXT IN ILLUSTRATION

      *1 Front view of wire harness connector
      (to Stereo Component Amplifier Assembly)

    NG → See step   6 

    OK → See step   3 

  6. CHECK HARNESS AND CONNECTOR 
    1. Disconnect the L34 navigation receiver assembly connector.
      Fig 6: Identifying L34 Navigation Receiver Assembly Connector
      GTY212477Courtesy of © TOYOTA, LICENSE AGREEMENT TMS1002
    2. Measure the resistance according to the value(s) in the table below.
      Fig 7: Identifying l107 Connector
      GTY218184Courtesy of © TOYOTA, LICENSE AGREEMENT TMS1002

      Standard Resistance

      Tester Connection Condition Specified Condition
      L34-9 (AMP) - L107-9 (AMP+) Always Below 1 Ω
      L34-9 (AMP) - Body ground Always 10 kΩ or higher
      TEXT IN ILLUSTRATION

      *1 Front view of wire harness connector
      (to Navigation Receiver Assembly)
      *2 Front view of wire harness connector
      (to Stereo Component Amplifier Assembly)

    NG → REPAIR OR REPLACE HARNESS OR CONNECTOR 

    OK → See step   7 

  7. REPLACE NAVIGATION RECEIVER ASSEMBLY. Refer to  REMOVAL