LEMON Manuals: Even more car manuals for everyone: 1960-2025
Home >> Toyota >> 2014 >> Prius Four >> Repair and Diagnosis >> Engine Performance >> System >> Engine Control System (Diagnostic Codes & Circuit Tests) (Except Plug-In) >> SFI System >> Circuit Tests >> EVAP System [10/2013 - ] >> Description
April 5, 2026: LEMON Manuals is launched! Read the announcement.

EVAP System [10/2013 - ]: Description

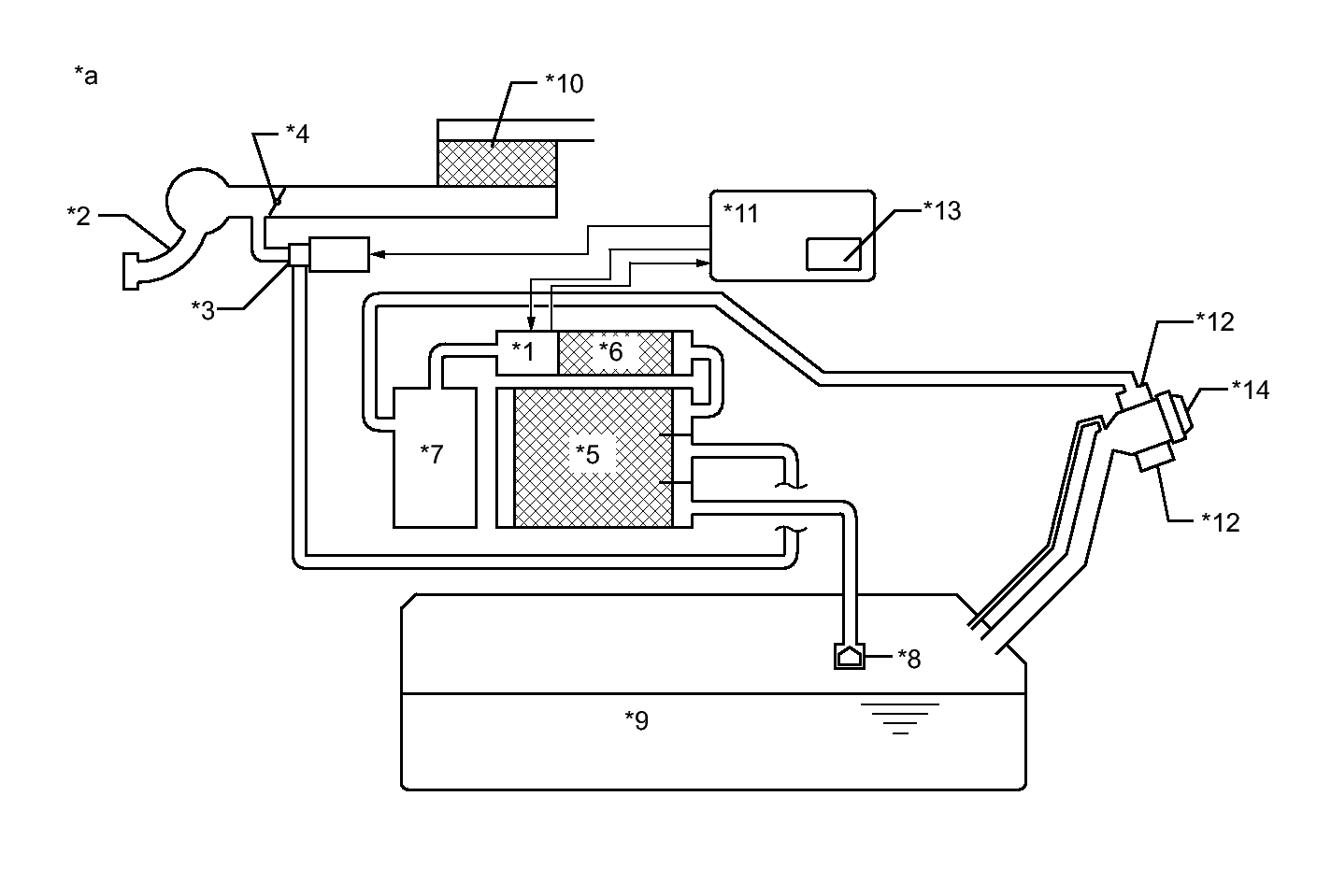
Fig 1: Identifying VSV Valve (Table 94)
GTY336941Courtesy of © TOYOTA, LICENSE AGREEMENT TMS1002
TEXT IN ILLUSTRATION

*1 Purge VSV *2 EVAP Hose (to Intake Manifold)
*3 EVAP Hose (from Canister) *4 Canister Pump Module
- Canister Pressure Sensor
- Leak Detection Pump
- Vent Valve
*5 Canister *6 Canister Air Filter
*7 Air Inlet Port *8 Fuel Cap
*9 Fuel Tank *10 Purge Line
*11 No. 1 Canister *12 No. 2 Canister
*a Location of EVAP (Evaporative Emission) System - -

HINT: 

The canister pressure sensor, the leak detection pump and the vent valve are built into the canister pump module.

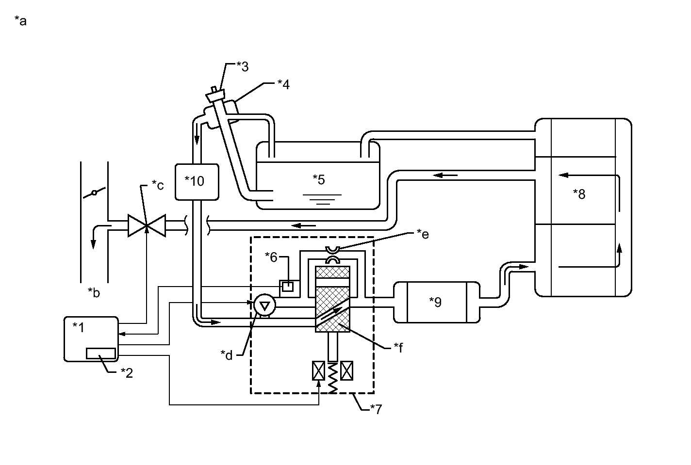
Fig 2: Identifying EVAP System Components Location (Table 95)
GTY334214Courtesy of © TOYOTA, LICENSE AGREEMENT TMS1002
TEXT IN ILLUSTRATION

*1 Canister Pump Module *2 Intake Manifold
*3 Purge VSV *4 Throttle Valve
*5 Canister *6 No. 1 Canister
*7 No. 2 Canister *8 Cut-off Valve
*9 Fuel Tank *10 Air Cleaner
*11 ECM *12 Canister Air Filter
*13 Soak Timer *14 Fuel Tank Cap Assembly
*a EVAP System Circuit - -
NOTE:

In the EVAP system of this vehicle, turning on the vent valve does not seal off the EVAP system. To check for leaks in the EVAP system, disconnect the air inlet vent hose and apply pressure from atmospheric side of the canister.

While the engine is running, if a predetermined condition (closed-loop, etc.) is met, the purge VSV is opened by the ECM and fuel vapors stored in the canister are purged to the intake manifold. The ECM changes the duty cycle ratio of the purge VSV to control purge flow volume.

The purge flow volume is also determined by the intake manifold pressure. Atmospheric pressure is allowed into the canister through the vent valve to ensure that the purge flow is maintained when negative pressure (vacuum) is applied to the canister.

The following two monitors run to confirm appropriate EVAP system operation.

  1. Key-off monitor 

    This monitor checks for EVAP (evaporative emission) system leaks and canister pump module malfunctions. The monitor starts 5 hours* after the power switch is turned off. At least 5 hours are required for the fuel to cool down to stabilize the EVAP pressure, thus making the EVAP system monitor more accurate.

    The leak detection pump creates negative pressure (vacuum) in the EVAP system and the pressure is measured. Finally, the ECM monitors for leaks from the EVAP system, and malfunctions in both the canister pump module and purge VSV based on the EVAP pressure.

    HINT: 

    *: If the engine coolant temperature is not below 35°C (95°F) 5 hours after the power switch is turned off, the monitor check starts 2 hours later. If it is still not below 35°C (95°F) 7 hours after the power switch is turned off, the monitor check starts 2.5 hours later.

  2. Purge flow monitor 

    The purge flow monitor consists of the 2 monitors. The 1st monitor is conducted every time and the 2nd monitor is activated if necessary.

    • The 1st monitor

      While the engine is running and the purge VSV (Vacuum Switching Valve) is on (open), the ECM monitors the purge flow by measuring the EVAP pressure change. If negative pressure is not created, the ECM begins the 2nd monitor.

    • The 2nd monitor

      The vent valve is turned on (closed) and the EVAP pressure is then measured. If the variation in the pressure is less than 0.5 kPa(gauge) [3.75 mmHg(gauge)], the ECM interprets this as the purge VSV being stuck closed, and illuminates the MIL and stores DTC P0441 (2 trip detection logic).

    • Atmospheric pressure check:
      • In order to ensure reliable malfunction detection, the variation between the atmospheric pressures, before and after of the purge flow monitor, is measured by the ECM.
    Fig 3: Identifying ECM Purge Flow Graph
    GTY319712Courtesy of © TOYOTA, LICENSE AGREEMENT TMS1002
    TEXT IN ILLUSTRATION

    *1 ECM *2 Soak Timer
    *3 Fuel Cap *4 Canister Air Filter
    *5 Fuel Tank *6 Canister Pressure Sensor
    *7 Canister Pump Module *8 Canister
    *9 No. 1 Canister *10 No. 2 Canister
    *a EVAP Purge Flow *b to Intake Manifold
    *c Purge VSV: on *d Leak Detection Pump: off
    *e Reference Orifice (0.02 inch) *f Vent Valve: off
    Component Operation
    Canister, No. 1 canister Contains activated charcoal to absorb EVAP (Evaporative Emissions) generated in fuel tank.
    No. 2 canister Temporarily collects EVAP (Evaporative Emission) generated in the fuel tank.
    Cut-off valve Located in fuel tank. Valve floats and closes when fuel tank is 100% full.
    Purge VSV (Vacuum Switching Valve) Opens or closes line between canister and intake manifold. ECM uses purge VSV to control EVAP purge flow. In order to discharge EVAP absorbed by canister to intake manifold, ECM opens purge VSV. EVAP discharge volume to intake manifold controlled by purge VSV duty cycle (current-carrying time). (Open: on, Close: off)
    Soak timer Built into ECM. To ensure accurate EVAP monitor, measures 5 hours (+/-15 min) after power switch is turned off. This allows fuel to cool down, stabilizing EVAP pressure. When approximately 5 hours elapsed, ECM activates (refer to fig. 3).
    Canister pump module Consists of (a) to (d) below. Canister pump module cannot be disassembled.
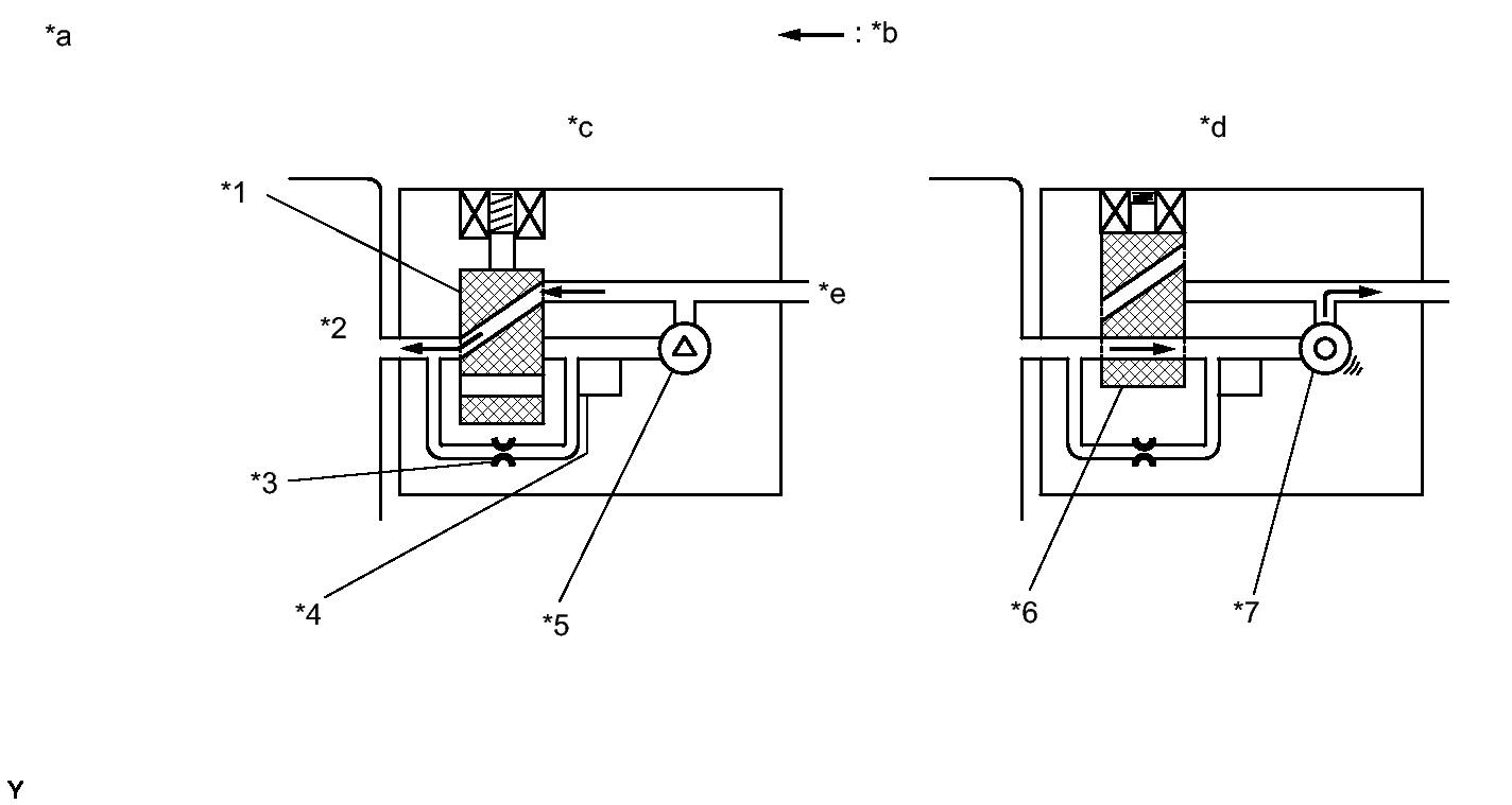
    (a) Vent valve Vents and closes EVAP system. When ECM turns valve on, EVAP system is closed. When ECM turns valve off, EVAP system is vented. Negative pressure (vacuum) is created in EVAP system to check for EVAP leaks by closing purge VSV, turning on vent valve (closing it) and operating leak detection pump (refer to fig. 1).
    (b) Canister pressure sensor Indicates pressure as voltages. ECM supplies regulated 5 V to pressure sensor, and uses feedback from sensor to monitor EVAP system pressure (refer to fig. 2).
    (c) Leak detection pump Creates negative pressure (vacuum) in EVAP system for leak check.
    (d) Reference orifice Has opening with 0.02 inch diameter. Vacuum is produced through orifice by closing purge VSV, turning off vent valve and operating leak detection pump, to monitor reference pressure. Reference pressure is used when checking for small EVAP leaks.
    Fig 4: Identifying Components Location Table 97
    GTY293067Courtesy of © TOYOTA, LICENSE AGREEMENT TMS1002
    TEXT IN ILLUSTRATION

    *1 Vent Valve: off (vent) *2 Canister
    *3 Reference Orifice (0.02 Inch) *4 Canister Pressure Sensor
    *5 Leak Detection Pump: off *6 Vent Valve: on (closed)
    *7 Leak Detection Pump: on - -
    *a Canister Pump Module (fig. 1) *b Airflow
    *c Condition: Purge Flow *d Condition: Leak Check
    *e to Canister Filter (Atmosphere) - -
    Fig 5: Canister Pressure Sensor Output Voltage Graph
    GTY337089Courtesy of © TOYOTA, LICENSE AGREEMENT TMS1002
    Fig 6: Soak Timer Circuit Wiring Diagram
    GTY332827Courtesy of © TOYOTA, LICENSE AGREEMENT TMS1002