LEMON Manuals: Even more car manuals for everyone: 1960-2025
Home >> Toyota >> 2014 >> Prius Plug-in >> Repair and Diagnosis (Single Page) >> Brakes >> Traction Control >> Electronically Controlled Brake System (Diagnostic Codes & Circuit Tests) (Plug-In) >> Electronically Controlled Brake System >> DTC C1273/73: Low Output Signal of Rear Speed Sensor RH (Test Mode DTC); DTC C1274/74: Low Output Signal of Rear Speed Sensor LH (Test Mode DTC); DTC C1466/33: Rear Speed Sensor RH Circuit; DTC C1467/34: Rear Speed Sensor LH Circuit [10/2013 - ] >> Procedure
April 5, 2026: LEMON Manuals is launched! Read the announcement.

DTC C1273/73: Low Output Signal of Rear Speed Sensor RH (Test Mode DTC); DTC C1274/74: Low Output Signal of Rear Speed Sensor LH (Test Mode DTC); DTC C1466/33: Rear Speed Sensor RH Circuit; DTC C1467/34: Rear Speed Sensor LH Circuit [10/2013 - ]: Procedure

  1. CHECK HARNESS AND CONNECTOR (MOMENTARY INTERRUPTION) 
    1. Using the Techstream, check for any momentary interruptions in the wire harness and connector corresponding to a DTC. Refer to CHECK FOR INTERMITTENT PROBLEMS [10/2013 - ] .
      ABS/VSC/TRAC

      Tester Display Measurement Item/Range Normal Condition Diagnostic Note
      RR Speed Open Rear speed sensor RH open detection / Error or Normal Error: Momentary interruption
      Normal: Normal
      -
      RL Speed Open Rear speed sensor LH open detection / Error or Normal Error: Momentary interruption
      Normal: Normal
      -

      OK

      There are no momentary interruptions.

      HINT: 

      Perform the above inspection before removing the sensor and connector.

    NG → REPAIR OR REPLACE HARNESS OR CONNECTOR 

    OK: Go to next step 

  2. READ VALUE USING TECHSTREAM (REAR SPEED SENSOR) 
    1. Select the Data List on the Techstream. Refer to DATA LIST / ACTIVE TEST [10/2013 - ] .
      ABS/VSC/TRAC

      Tester Display Measurement Item/Range Normal Condition Diagnostic Note
      RR Wheel Speed Rear speed sensor RH / Min.: 0 km/h (0 mph), Max.: 326.4 km/h (202 mph) Vehicle stopped: 0 km/h (0 mph) When driving at constant speed: No large fluctuations
      RL Wheel Speed Rear speed sensor LH / Min.: 0 km/h (0 mph), Max.: 326.4 km/h (202 mph) Vehicle stopped: 0 km/h (0 mph) When driving at constant speed: No large fluctuations
    2. Check that the speed value output from the speed sensor displayed on the Techstream.

      HINT: 

      Factors that affect the indicated vehicle speed include tire size, tire inflation, and tire wear. The speed indicated on the speedometer has an allowable margin of error. This can be tested using a speedometer tester (calibrated chassis dynamometer). For details about testing and the margin of error, see the reference chart. Refer to ON-VEHICLE INSPECTION [10/2013 - ] .

      OK

      The speed value output from the speed sensor displayed on the Techstream is the similar speed as indicated on the speedometer.

    NG → See step   5 

    OK: Go to next step 

  3. PERFORM TEST MODE INSPECTION (SIGNAL CHECK) 
    1. Turn the power switch off.
    2. Perform the sensor check in the Test Mode procedure. Refer to TEST MODE PROCEDURE [10/2013 - ] .

      OK

      All Test Mode DTCs are cleared.

    NG → See step   5 

    OK: Go to next step 

  4. RECONFIRM DTC 
    1. Turn the power switch off.
    2. Clear the DTCs. Refer to DTC CHECK / CLEAR [10/2013 - ] .
    3. Turn the power switch on (READY).
    4. Perform a road test.
    5. Check if the same DTC is recorded. Refer to DTC CHECK / CLEAR [10/2013 - ] .

      Result

      Result Proceed to
      DTCs (C1466/33 and C1467/34) are not output A
      DTCs (C1466/33 and/or C1467/34) are output B

      HINT: 

      If troubleshooting has been carried out according to Problem Symptoms Table, refer back to the table and proceed to the next step. Refer to PROBLEM SYMPTOMS TABLE [10/2013 - ] .

    B → See step   10 

    A → See step   13 

  5. CHECK REAR SPEED SENSOR INSTALLATION 
    1. Turn the power switch off.
      GTY333556Courtesy of © TOYOTA, LICENSE AGREEMENT TMS1002
    2. Check the speed sensor installation.

      OK

      There is no clearance between the sensor and rear axle carrier.

      TEXT IN ILLUSTRATION

      *1 Rear Speed Sensor
      *a OK
      *b NG
      *c No clearance

    NG → See step   14 

    OK: Go to next step 

  6. CHECK HARNESS AND CONNECTOR (SKID CONTROL SENSOR WIRE) 
    1. Make sure that there is no looseness at the locking part and the connecting part of the connectors.
      GTY335077Courtesy of © TOYOTA, LICENSE AGREEMENT TMS1002
    2. Disconnect the rear speed sensor connector and the skid control sensor wire.
    3. Measure the resistance according to the value(s) in the table below.

      Standard Resistance

      for RH 

      for LH 

      Tester Connection Condition Specified Condition
      z2-2 - zS2-1 Always Below 1 Ω
      z2-2 - zS2-2 Always 10 kΩ or higher
      z2-2 - Body ground Always 10 kΩ or higher
      z2-1 - zS2-2 Always Below 1 Ω
      z2-1 - zS2-1 Always 10 kΩ or higher
      z2-1 - Body ground Always 10 kΩ or higher
      Tester Connection Condition Specified Condition
      z1-2 - zR2-1 Always Below 1 Ω
      z1-2 - zR2-2 Always 10 kΩ or higher
      z1-2 - Body ground Always 10 kΩ or higher
      z1-1 - zR2-2 Always Below 1 Ω
      z1-1 - zR2-1 Always 10 kΩ or higher
      z1-1 - Body ground Always 10 kΩ or higher
      TEXT IN ILLUSTRATION

      *A for RH
      *B for LH
      *a Front view of skid control sensor wire
      *b Front view of wire harness connector
      (to Sensor Side Connector)
      *c Front view of wire harness connector
      (to Vehicle Side Connector)
      NOTE:

      Check the speed sensor signal after replacement. Refer to TEST MODE PROCEDURE [10/2013 - ] .

    NG → See step   15 

    OK: Go to next step 

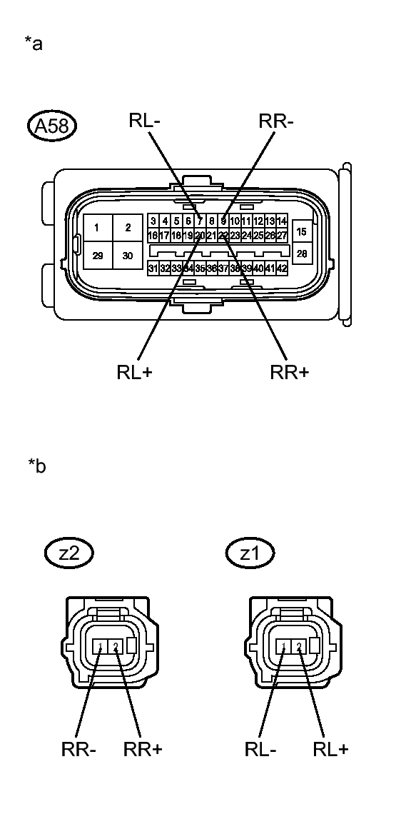
  7. CHECK HARNESS AND CONNECTOR (SKID CONTROL ECU - REAR SPEED SENSOR) 
    1. Reconnect the skid control sensor wire (for vehicle side connector).
      GTY338163Courtesy of © TOYOTA, LICENSE AGREEMENT TMS1002
    2. Make sure that there is no looseness at the locking part and the connecting part of the connector.
    3. Disconnect the skid control ECU connector.
    4. Measure the resistance according to the value(s) in the table below.

      Standard Resistance

      for RH 

      for LH 

      Tester Connection Condition Specified Condition
      A58-22 (RR+) - z2-2 (RR+) Always Below 1 Ω
      A58-22 (RR+) - Body ground Always 10 kΩ or higher
      A58-9 (RR-) - z2-1 (RR-) Always Below 1 Ω
      A58-9 (RR-) - Body ground Always 10 kΩ or higher
      Tester Connection Condition Specified Condition
      A58-20 (RL+) - z1-2 (RL+) Always Below 1 Ω
      A58-20 (RL+) - Body ground Always 10 kΩ or higher
      A58-7 (RL-) - z1-1 (RL-) Always Below 1 Ω
      A58-7 (RL-) - Body ground Always 10 kΩ or higher
      TEXT IN ILLUSTRATION

      *a Front view of wire harness connector
      (to Skid Control ECU)
      *b Front view of wire harness connector
      (to Rear Speed Sensor)

    NG → REPAIR OR REPLACE HARNESS OR CONNECTOR 

    OK: Go to next step 

  8. INSPECT SKID CONTROL ECU (SENSOR OUTPUT) 
    1. Reconnect the skid control ECU connector.
      GTY329822Courtesy of © TOYOTA, LICENSE AGREEMENT TMS1002
    2. Turn the power switch on (IG).
    3. Measure the voltage according to the value(s) in the table below.

      Standard Voltage

      for RH 

      for LH 

      Tester Connection Switch Condition Specified Condition
      z2-2 (RR+) - Body ground Power switch on (IG) 5.7 to 14 V
      Tester Connection Switch Condition Specified Condition
      z1-2 (RL+) - Body ground Power switch on (IG) 5.7 to 14 V
      TEXT IN ILLUSTRATION

      *a Front view of wire harness connector
      (to Rear Speed Sensor)

    NG → See step   12 

    OK: Go to next step 

  9. RECONFIRM DTC 
    1. Turn the power switch off.
    2. Reconnect the rear speed sensor connector.
    3. Clear the DTCs. Refer to DTC CHECK / CLEAR [10/2013 - ] .
    4. Turn the power switch on (READY).
    5. Perform a road test.
    6. Check if the same DTC is recorded. Refer to DTC CHECK / CLEAR [10/2013 - ] .

      Result

      Result Proceed to
      DTCs (C1466/33 and/or C1467/34) are output A
      DTCs (C1466/33 and C1467/34) are not output B

      HINT: 

      If troubleshooting has been carried out according to Problem Symptoms Table, refer back to the table and proceed to the next step. Refer to PROBLEM SYMPTOMS TABLE [10/2013 - ] .

    B → See step   13 

    A: Go to next step 

  10. REPLACE REAR SPEED SENSOR AND REAR SPEED SENSOR ROTOR 
    1. Turn the power switch off.
    2. Replace the rear speed sensor and the rear axle hub and bearing assembly (rear speed sensor rotor). Refer to REMOVAL [10/2013 - ] .

      HINT: 

      The rear speed sensor rotor is incorporated into the rear axle hub and bearing assembly.

      If the rear speed sensor rotor needs to be replaced, replace it together with the rear axle hub and bearing assembly with rear speed sensor.

      NOTE:

      Check the speed sensor signal after replacement. Refer to TEST MODE PROCEDURE [10/2013 - ] .

    NEXT: Go to next step 

  11. RECONFIRM DTC 
    1. Clear the DTCs. Refer to DTC CHECK / CLEAR [10/2013 - ] .
    2. Turn the power switch on (READY).
    3. Perform a road test.
    4. Check if the same DTC is recorded. Refer to DTC CHECK / CLEAR [10/2013 - ] .

      Result

      Result Proceed to
      DTCs (C1466/33 and/or C1467/34) are output A
      DTCs (C1466/33 and C1467/34) are not output B

      HINT: 

      If troubleshooting has been carried out according to Problem Symptoms Table, refer back to the table and proceed to the next step. Refer to PROBLEM SYMPTOMS TABLE [10/2013 - ] .

    B → END 

    A → See step   12 

  12. REPLACE BRAKE BOOSTER WITH MASTER CYLINDER. Refer to  REMOVAL [10/2013 - ] 
  13. CHECK FOR INTERMITTENT PROBLEMS. Refer to  HOW TO PROCEED WITH TROUBLESHOOTING [10/2013 - ] 
  14. INSTALL REAR SPEED SENSOR CORRECTLY. Refer to  INSTALLATION [10/2013 - ] 
  15. REPLACE SKID CONTROL SENSOR WIRE. Refer to  REMOVAL [10/2013 - ]