LEMON Manuals: Even more car manuals for everyone: 1960-2025
Home >> Toyota >> 2014 >> Prius Plug-in >> Repair and Diagnosis >> Brakes >> Traction Control >> Electronically Controlled Brake System (Diagnostics - Introduction) (Plug-In) >> Electronically Controlled Brake System >> Test Mode Procedure [10/2013 - ] >> Test Mode Procedure [10/2013 - ]
April 5, 2026: LEMON Manuals is launched! Read the announcement.

Test Mode Procedure [10/2013 - ]

  1. WARNING LIGHT AND INDICATOR LIGHT INITIAL CHECK 
    1. Release the parking brake.
      NOTE:

      When releasing the parking brake, push the P position switch for safety.

      HINT: 

      When the parking brake is applied or the brake fluid level is low, the brake warning light / red (malfunction) comes on.

    2. When the power switch is turned on (IG), check that the ABS warning, brake warning / red (malfunction), brake warning / yellow (minor malfunction) and slip indicator lights come on until the power switch is turned on (READY).
      Fig 1: Identifying ABS Warning, Brake Warning & Slip Indicator Lights
      GTY328732Courtesy of © TOYOTA, LICENSE AGREEMENT TMS1002

      HINT: 

      • If the skid control ECU stores any DTCs, the ABS warning, brake warning / red (malfunction), brake warning / yellow (minor malfunction) and slip indicator lights will come on.
      • If any of the indicators remains on or does not come on, proceed to troubleshooting for the light circuits listed below.
      Trouble Area See Procedure
      ABS warning light circuit (Remains on) Refer to ABS Warning Light Remains ON [10/2013 - ]
      ABS warning light circuit (Does not come on) Refer to ABS Warning Light does not Come ON [10/2013 - ]
      Brake warning light / red (malfunction) circuit (Remains on) Refer to Brake Warning Light Remains ON [10/2013 - ]
      Brake warning light / red (malfunction) circuit (Does not come on) Refer to Brake Warning Light does not Come ON [10/2013 - ]
      Brake warning light / yellow (minor malfunction) circuit (Remains on) Refer to Brake Control Warning Light Remains ON [10/2013 - ]
      Brake warning light / yellow (minor malfunction) circuit (Does not come on) Refer to Brake Control Warning Light does not Come ON [10/2013 - ]
      Slip indicator light circuit (Remains on) Refer to Slip Indicator Light Remains ON [10/2013 - ]
      Slip indicator light circuit (Does not come on) Refer to Slip Indicator Light does not Come ON [10/2013 - ]
      TEXT IN ILLUSTRATION

      *a ABS Warning Light
      *b for U.S.A.
      *c Except for U.S.A.
      *d Brake Warning Light / Red (Malfunction)
      *e Brake Warning Light / Yellow (Minor Malfunction)
      *f Slip Indicator Light
  2. SENSOR CHECK USING TEST MODE (SIGNAL CHECK) (When Using the Techstream) 
    NOTE:

    Before performing the master cylinder pressure sensor check or yaw rate sensor zero point voltage check, perform linear valve offset learning.

    HINT: 

    • If the power switch is turned from on (IG) to on (ACC) or off during Test Mode (signal check), DTCs recorded during the sensor check will be cleared.
    • During Test Mode (signal check), the skid control ECU records all DTCs detected in the sensor check. By performing Test Mode (signal check), the codes are cleared if a normal condition is confirmed. The remaining codes are the codes where an abnormality was found.
    1. Procedure to enter the Test Mode
      1. Turn the power switch off.
      2. Check that the steering wheel is centered.
      3. Check that the parking brake is released.
      4. Check that park (P) is selected.
      5. Connect the Techstream to the DLC3.
      6. Turn the power switch on (IG).
      7. Turn the Techstream on.
      8. Switch the skid control ECU to Test Mode using the Techstream. Enter the following menus: Chassis / ABS/VSC/TRAC / Utility / Signal Check.
      9. Check that the ABS warning, brake warning / yellow (minor malfunction) and slip indicator lights come on for several seconds and then blink in Test Mode.
        Fig 2: Checking Blinking Interval
        GTY340661Courtesy of © TOYOTA, LICENSE AGREEMENT TMS1002

        HINT: 

        If the ABS warning, brake warning / yellow (minor malfunction) and slip indicator lights do not blink, inspect the TS and CG terminal circuit and ABS warning, brake warning / yellow (minor malfunction) and slip indicator light circuits.

        TEXT IN ILLUSTRATION

        *a Test Mode Blinking Pattern
        *b 0.125 sec.
        *c ON
        *d OFF
      10. Check the ABS sensors.

        HINT: 

        Check that the ABS warning light is blinking in the Test Mode blinking pattern before performing the ABS sensor check.

    2. Acceleration Sensor Check
      1. Keep the vehicle stationary on a level surface for 1 second or more.

        HINT: 

        The acceleration sensor check can be performed with the master cylinder pressure sensor check below.

    3. Master Cylinder Pressure Sensor Check
      NOTE:

      Before performing the master cylinder pressure sensor check, perform linear valve offset learning.

      1. Leave the vehicle in a stationary condition and release the brake pedal for 1 second or more, and quickly and continuously depress the brake pedal with a force greater than 98 N (10 kgf, 22.0 lbf) for 1 second.
      2. Check that the ABS warning light stays on for 3 seconds.

        HINT: 

        • Confirm that the ABS warning light comes on.
        • While the ABS warning light stays on, continue to depress the brake pedal with a force of 98 N (10 kgf, 22.0 lbf) or more.
        • The ABS warning light comes on for 3 seconds every time the preceding brake pedal operation is performed.
    4. Speed Sensor Check
      NOTE:

      Before performing the speed sensor check, complete the acceleration sensor and master cylinder pressure sensor checks.

      1. Drive the vehicle straight-ahead.

        Accelerate the vehicle to a speed of 45 km/h (28 mph) or more for several seconds and check that the ABS warning light goes off.

        HINT: 

        • The sensor check may not be completed if wheelspin occurs.
        • The ABS warning light comes on immediately if a malfunction is detected during the speed sensor check.
      2. Stop the vehicle.
        NOTE:
        • The speed sensor check may not be completed if the speed sensor check is started while turning the steering wheel or spinning the wheels.
        • After the ABS warning light goes off, if vehicle speed exceeds 80 km/h (50 mph), a sensor check code will be stored again. Decelerate or stop the vehicle before the speed reaches 80 km/h (50 mph).
        • If the sensor check has not been completed, the ABS warning light will blink while driving and the ABS will not operate.
    5. End of Sensor Check
      1. If the sensor check is completed, the ABS warning light blinks (Test Mode) when the vehicle is stopped and goes off while the vehicle is driving.
        Fig 3: Checking Blinking Interval
        GTY340661Courtesy of © TOYOTA, LICENSE AGREEMENT TMS1002
        NOTE:
        • When all the acceleration sensor, speed sensor, and master cylinder pressure sensor checks are completed, the sensor check is completed.
        • If the sensor check has not been completed, the ABS warning light will blink while driving and the ABS will not operate.
        TEXT IN ILLUSTRATION

        *a Test Mode Blinking Pattern
        *b 0.125 sec.
        *c ON
        *d OFF
    6. Read Sensor Check DTCs
      1. Read the DTC(s) by following the Techstream screen.
        NOTE:
        • If only DTCs other than Test Mode sensor check DTCs are displayed, repair the malfunction and clear the DTCs.
        • If Test Mode sensor check DTCs and other DTCs are displayed or if only Test Mode sensor check DTCs are displayed, repair the malfunction, clear the DTCs, and perform the Test Mode inspection again.

        HINT: 

        See "Sensor Check DTCs".

      2. Turn the power switch off and disconnect the Techstream.
    7. Sensor Check DTCs
      ABS SENSOR

      DTC Code Detection Item Trouble Area
      C1271 Low Output Signal of Front Speed Sensor RH
      • Front speed sensor RH
      • Sensor installation
      • Speed sensor rotor
      C1272 Low Output Signal of Front Speed Sensor LH
      • Front speed sensor LH
      • Sensor installation
      • Speed sensor rotor
      C1273 Low Output Signal of Rear Speed Sensor RH
      • Rear speed sensor RH
      • Sensor installation
      • Speed sensor rotor
      C1274 Low Output Signal of Rear Speed Sensor LH
      • Rear speed sensor LH
      • Sensor installation
      • Speed sensor rotor
      C1275 Abnormal Change in Output Signal of Front Speed Sensor RH
      • Front speed sensor RH
      • Speed sensor rotor
      C1276 Abnormal Change in Output Signal of Front Speed Sensor LH
      • Front speed sensor LH
      • Speed sensor rotor
      C1277 Abnormal Change in Output Signal of Rear Speed Sensor RH
      • Rear speed sensor RH
      • Speed sensor rotor
      C1278 Abnormal Change in Output Signal of Rear Speed Sensor LH
      • Rear speed sensor LH
      • Speed sensor rotor
      C1279 Acceleration Sensor Output Voltage Malfunction
      • Sensor installation
      • Yaw rate and acceleration sensor
      C1281 Master Cylinder Pressure Sensor Output Malfunction
      • Stop light switch
      • Regulator pressure sensor
      ELECTRONICALLY CONTROLLED BRAKE SYSTEM SENSOR

      DTC Code Detection Item Trouble Area
      C1346 Stroke Sensor Zero Point Learning Malfunction
      • Brake pedal stroke sensor
      • Brake pedal stroke sensor circuit

      HINT: 

      The codes in this table are output only in Test Mode (signal check).

  3. SENSOR CHECK USING TEST MODE (SIGNAL CHECK) (When not Using the Techstream) 
    NOTE:

    Before performing the master cylinder pressure sensor check or yaw rate sensor zero point voltage check, perform linear valve offset learning.

    HINT: 

    • If the power switch is turned from on (IG) to on (ACC) or off during Test Mode (signal check), DTCs recorded during the sensor check will be cleared.
    • During Test Mode (signal check), the skid control ECU records all DTCs detected in the sensor check. By performing Test Mode (signal check), the codes are cleared if a normal condition is confirmed. The remaining codes are the codes where an abnormality was found.
    1. Procedure to enter Test Mode
      1. Turn the power switch off.
      2. Check that the steering wheel is centered.
      3. Check that the parking brake is released.
      4. Check that park (P) is selected.
      5. Using SST, connect terminals TS and CG of the DLC3.
        Fig 4: Identifying DLC3 Connector Terminals
        GTY341577Courtesy of © TOYOTA, LICENSE AGREEMENT TMS1002
        • SST: 09843-18040 
        TEXT IN ILLUSTRATION

        *a Front view of DLC3
      6. Turn the power switch on (IG).
      7. Check that the ABS warning, brake warning / yellow (minor malfunction) and slip indicator lights come on for several seconds and then blink in Test Mode.
        Fig 5: Checking Blinking Interval
        GTY340661Courtesy of © TOYOTA, LICENSE AGREEMENT TMS1002

        HINT: 

        If the ABS warning, brake warning / yellow (minor malfunction) and slip indicator lights do not blink, inspect the TS and CG terminal circuit and ABS warning, brake warning / yellow (minor malfunction) and slip indicator light circuits.

        TEXT IN ILLUSTRATION

        *a Test Mode Blinking Pattern
        *b 0.125 sec.
        *c ON
        *d OFF
      8. Check the ABS sensors.

        HINT: 

        Check that the ABS warning light is blinking in the Test Mode blinking pattern before performing the ABS sensor check.

    2. Acceleration Sensor Check
      1. Keep the vehicle stationary on a level surface for 1 second or more.

        HINT: 

        The acceleration sensor check can be performed with the master cylinder pressure sensor check below.

    3. Master Cylinder Pressure Sensor Check
      NOTE:

      Before performing the master cylinder pressure sensor check, perform linear valve offset learning.

      1. Leave the vehicle in a stationary condition and release the brake pedal for 1 second or more, and quickly and continuously depress the brake pedal with a force greater than 98 N (10 kgf, 22.0 lbf) for 1 second.
      2. Check that the ABS warning light stays on for 3 seconds.

        HINT: 

        • Confirm that the ABS warning light comes on.
        • While the ABS warning light stays on, continue to depress the brake pedal with a force of 98 N (10 kgf, 22.0 lbf) or more.
        • The ABS warning light comes on for 3 seconds every time the preceding brake pedal operation is performed.
    4. Speed Sensor Check
      NOTE:

      Before performing the speed sensor check, complete the acceleration sensor and master cylinder pressure sensor checks.

      1. Drive the vehicle straight-ahead.

        Accelerate the vehicle to a speed of 45 km/h (28 mph) or more for several seconds and check that the ABS warning light goes off.

        HINT: 

        • The sensor check may not be completed if wheelspin occurs.
        • The ABS warning light comes on immediately if a malfunction is detected during the speed sensor check.
      2. Stop the vehicle.
        NOTE:
        • The speed sensor check may not be completed if the speed sensor check is started while turning the steering wheel or spinning the wheels.
        • After the ABS warning light goes off, if vehicle speed exceeds 80 km/h (50 mph), a sensor check code will be stored again. Decelerate or stop the vehicle before the speed reaches 80 km/h (50 mph).
        • If the sensor check has not been completed, the ABS warning light will blink while driving and the ABS will not operate.
    5. End of Sensor Check
      1. If the sensor check is completed, the ABS warning light blinks (Test Mode) when the vehicle is stopped and goes off while the vehicle is driving.
        Fig 6: Checking Blinking Interval
        GTY340661Courtesy of © TOYOTA, LICENSE AGREEMENT TMS1002
        NOTE:
        • When the acceleration sensor, speed sensor, and master cylinder pressure sensor checks are completed, the sensor check is completed.
        • If the sensor check has not been completed, the ABS warning light will blink while driving and the ABS will not operate.
        TEXT IN ILLUSTRATION

        *a Test Mode Blinking Pattern
        *b 0.125 sec.
        *c ON
        *d OFF
    6. Read Sensor Check DTCs
      1. Using SST, connect terminals TC and CG of the DLC3.
        Fig 7: Identifying DLC3 Connector Terminals
        GTY324284Courtesy of © TOYOTA, LICENSE AGREEMENT TMS1002
        • SST: 09843-18040 
        TEXT IN ILLUSTRATION

        *a Front view of DLC3
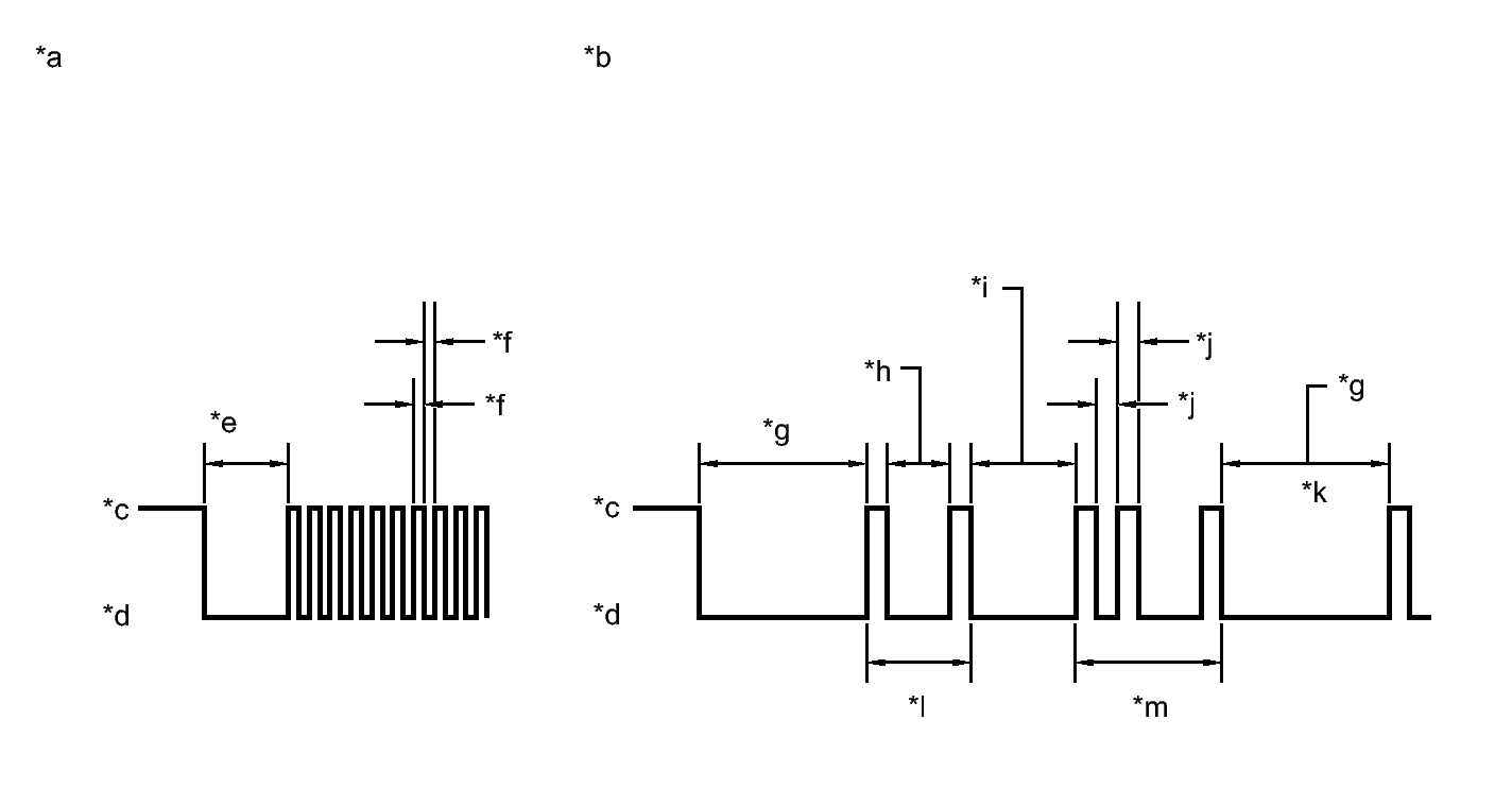
      2. Count the number of blinks of the ABS warning, brake warning / yellow (minor malfunction) and slip indicator lights.
        Fig 8: Identifying Warning Light Blinks
        GTY335731Courtesy of © TOYOTA, LICENSE AGREEMENT TMS1002
        NOTE:
        • If only DTCs other than the Test Mode sensor check DTCs are displayed, repair the malfunctions and clear the DTCs.
        • If Test Mode sensor check DTCs and other DTCs are displayed or if only the Test Mode sensor check DTCs are displayed, repair the malfunctions, clear the DTCs, and perform the Test Mode inspection again.

        HINT: 

        • If more than 1 malfunction is detected at the same time, the lowest numbered code will be displayed first.
        • See "Sensor Check DTCs".
        TEXT IN ILLUSTRATION

        *a Normal System Code Blinking Pattern *b Trouble Code Blinking Pattern (Example Codes 11 and 21)
        *c ON *d OFF
        *e 2 sec. *f 0.25 sec.
        *g 4 sec. *h 1.5 sec.
        *i 2.5 sec. *j 0.5 sec.
        *k Repeat *l Code 11
        *m Code 21 - -
      3. After performing the check, disconnect SST from terminals TS and CG, and TC and CG of the DLC3 and turn the power switch off.

        HINT: 

        • If the power switch is not turned on (IG) after SST is removed from the DLC3, the previous Test Mode will continue.
        • If the power switch is turned on (IG) with terminals TS and CG connected, the previous Test Mode will continue.
    7. Sensor Check DTCs
      ABS SENSOR

      DTC Code Detection Item Trouble Area
      71 Low Output Signal of Front Speed Sensor RH
      • Front speed sensor RH
      • Sensor installation
      • Speed sensor rotor
      72 Low Output Signal of Front Speed Sensor LH
      • Front speed sensor LH
      • Sensor installation
      • Speed sensor rotor
      73 Low Output Signal of Rear Speed Sensor RH
      • Rear speed sensor RH
      • Sensor installation
      • Speed sensor rotor
      74 Low Output Signal of Rear Speed Sensor LH
      • Rear speed sensor LH
      • Sensor installation
      • Speed sensor rotor
      75 Abnormal Change in Output Signal of Front Speed Sensor RH
      • Front speed sensor RH
      • Speed sensor rotor
      76 Abnormal Change in Output Signal of Front Speed Sensor LH
      • Front speed sensor LH
      • Speed sensor rotor
      77 Abnormal Change in Output Signal of Rear Speed Sensor RH
      • Rear speed sensor RH
      • Speed sensor rotor
      78 Abnormal Change in Output Signal of Rear Speed Sensor LH
      • Rear speed sensor LH
      • Speed sensor rotor
      79 Acceleration Sensor Output Voltage Malfunction
      • Sensor installation
      • Yaw rate and acceleration sensor
      81 Master Cylinder Pressure Sensor Output Malfunction
      • Stop light switch
      • Regulator pressure sensor
      ELECTRONICALLY CONTROLLED BRAKE SYSTEM SENSOR

      DTC Code Detection Item Trouble Area
      71 Stroke Sensor Zero Point Learning Malfunction
      • Brake pedal stroke sensor
      • Brake pedal stroke sensor circuit

      HINT: 

      The codes in this table are output only in Test Mode (signal check).