LEMON Manuals: Even more car manuals for everyone: 1960-2025
Home >> Toyota >> 2014 >> Prius Plug-in >> Repair and Diagnosis >> Engine Performance >> System >> Engine Control System (Diagnostic Code (P0010 - P0300)) - PRIUS (Plug-In) >> SFI System >> DTC P0102: Mass or Volume Air Flow Circuit Low Input; DTC P0103: Mass or Volume Air Flow Circuit High Input [10/2013 - ] >> Procedure
April 5, 2026: LEMON Manuals is launched! Read the announcement.

DTC P0102: Mass or Volume Air Flow Circuit Low Input; DTC P0103: Mass or Volume Air Flow Circuit High Input [10/2013 - ]: Procedure

  1. READ OUTPUT DTC (DTC P0102 OR P0103) 
    1. Connect the Techstream to the DLC3.
    2. Turn the power switch on (IG).
    3. Turn the Techstream on.
    4. Enter the following menus: Powertrain / Engine and ECT / Trouble Codes.
    5. Read the DTCs.
      RESULT

      Result Proceed to
      DTC P0102 is output A
      DTC P0103 is output B

    B → See step   5 

    A: Go to next step 

  2. CHECK TERMINAL VOLTAGE (POWER SOURCE OF MASS AIR FLOW METER SUB-ASSEMBLY) 
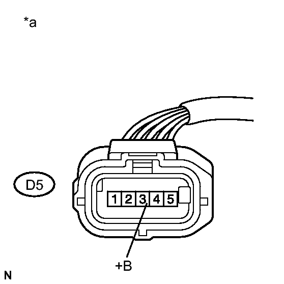
    GTY331894Courtesy of © TOYOTA, LICENSE AGREEMENT TMS1002
    1. Disconnect the mass air flow meter sub-assembly connector.
    2. Turn the power switch on (IG).
    3. Measure the voltage according to the value(s) in the table below.

      Standard Voltage

      Tester Connection Condition Specified Condition
      D5-3 (+B) - Body ground Power switch on (IG) 11 to 14 V
      TEXT IN ILLUSTRATION

      *a Front view of wire harness connector
      (to Mass Air Flow Meter Sub-assembly)

    NG → See step   7 

    OK: Go to next step 

  3. CHECK HARNESS AND CONNECTOR (MASS AIR FLOW METER SUB-ASSEMBLY - ECM) 
    1. Disconnect the mass air flow meter sub-assembly connector.
    2. Disconnect the ECM connector.
    3. Measure the resistance according to the value(s) in the table below.

      Standard Resistance

      Tester Connection Condition Specified Condition
      D5-5 (VG) - D28-94 (VG) Always Below 1 Ω
      D5-4 (E2G) - D28-117 (E2G) Always Below 1 Ω
      D5-5 (VG) or D28-94 (VG) - Body ground Always 10 kΩ or higher

    NG → REPAIR OR REPLACE HARNESS OR CONNECTOR 

    OK: Go to next step 

  4. INSPECT MASS AIR FLOW METER SUB-ASSEMBLY 
    1. Inspect the mass air flow meter sub-assembly, referring to the On-vehicle Inspection for Mass Air Flow Meter. Refer to ON-VEHICLE INSPECTION [10/2013 - ] .
    2. Inspect the mass air flow meter sub-assembly, referring to the Inspection for Mass Air Flow Meter. Refer to INSPECTION [10/2013 - ] .
    3. Inspect the function of the mass air flow meter sub-assembly.
      1. Connect the Techstream to the DLC3.
      2. Turn the power switch on (IG).
      3. Turn the Techstream on.
      4. Put the engine in inspection mode (maintenance mode). Refer to INSPECTION MODE PROCEDURE [10/2013 - ] .
      5. Start the engine.
      6. Enter the following menus: Powertrain / Engine and ECT / Data List / Primary / MAF.
      7. Check that the MAF value changes when the engine is raced.

        OK

        The reading changes.

        HINT: 

        Perform "Inspection After Repair" after replacing the mass air flow meter sub-assembly. Refer to INITIALIZATION [10/2013 - ] .

    NG → See step   8 

    OK → See step   9 

  5. CHECK HARNESS AND CONNECTOR (SENSOR GROUND) 
    1. Disconnect the mass air flow meter sub-assembly connector.
    2. Measure the resistance according to the value(s) in the table below.

      Standard Resistance

      Tester Connection Condition Specified Condition
      D5-4 (E2G) - Body ground Always Below 1 Ω

      HINT: 

      Perform "Inspection After Repair" after replacing the mass air flow meter sub-assembly. Refer to INITIALIZATION [10/2013 - ] .

    NG → See step   6 

    OK → See step   10 

  6. CHECK HARNESS AND CONNECTOR (MASS AIR FLOW METER SUB-ASSEMBLY - ECM) 
    1. Disconnect the mass air flow meter sub-assembly connector.
    2. Disconnect the ECM connector.
    3. Measure the resistance according to the value(s) in the table below.

      Standard Resistance

      Tester Connection Condition Specified Condition
      D5-4 (E2G) - D28-117 (E2G) Always Below 1 Ω

    NG → REPAIR OR REPLACE HARNESS OR CONNECTOR 

    OK → See step   9 

  7. CHECK HARNESS AND CONNECTOR (MASS AIR FLOW METER SUB-ASSEMBLY - ECM) 
    1. Disconnect the mass air flow meter sub-assembly connector.
    2. Disconnect the ECM connector.
    3. Measure the resistance according to the value(s) in the table below.

      Standard Resistance

      Tester Connection Condition Specified Condition
      D5-3 (+B) - D28-17 (+BVG) Always Below 1 Ω
      D5-3 (+B) or D28-17 (+BVG) - Body ground Always 10 kΩ or higher

    NG → REPAIR OR REPLACE HARNESS OR CONNECTOR 

    OK → See step   11 

  8. REPLACE MASS AIR FLOW METER SUB-ASSEMBLY. Refer to  REMOVAL [10/2013 - ] 
  9. REPLACE ECM. Refer to  REMOVAL [10/2013 - ] 
  10. REPLACE MASS AIR FLOW METER SUB-ASSEMBLY. Refer to  REMOVAL [10/2013 - ] 
  11. REPLACE ECM. Refer to  REMOVAL [10/2013 - ]