LEMON Manuals: Even more car manuals for everyone: 1960-2025
Home >> Toyota >> 2014 >> Prius Plug-in >> Repair and Diagnosis >> Engine Performance >> System >> Engine Control System (Diagnostic Code (P0010 - P0300)) - PRIUS (Plug-In) >> SFI System >> DTC P0102: Mass or Volume Air Flow Circuit Low Input; DTC P0103: Mass or Volume Air Flow Circuit High Input [10/2013 - ] >> Wiring Diagram
April 5, 2026: LEMON Manuals is launched! Read the announcement.

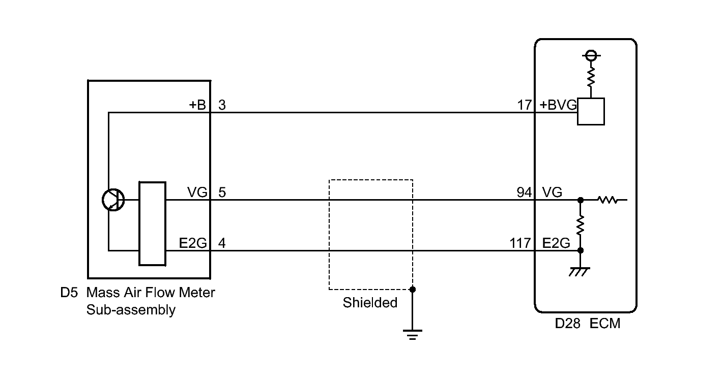
DTC P0102: Mass or Volume Air Flow Circuit Low Input; DTC P0103: Mass or Volume Air Flow Circuit High Input [10/2013 - ]: Wiring Diagram

Fig 1: Identifying Mass Air Flow Meter Circuit Diagram
GTY324542Courtesy of © TOYOTA, LICENSE AGREEMENT TMS1002