LEMON Manuals: Even more car manuals for everyone: 1960-2025
Home >> Toyota >> 2015 >> Corolla S, Standard Trans >> Repair and Diagnosis >> External Pages >> Different variant/trim >> Section 5 (Continuously Variable Transaxle (Service Information) (Model Code: ZRE172)) >> Shift Paddle Switch >> Removal [08/2013 - ] >> Procedure
April 5, 2026: LEMON Manuals is launched! Read the announcement.

Removal [08/2013 - ]: Procedure

WARNING: This page is about a different variant/trim than selected.
  1. REMOVE STEERING WHEEL ASSEMBLY 

    Refer to REMOVAL [08/2013 - 04/2014] Refer to REMOVAL [04/2014 - 08/2017] Refer to REMOVAL [08/2017 - ]

  2. REMOVE SHIFT PADDLE SWITCH (TRANSMISSION SHIFT SWITCH ASSEMBLY) 
    1. Remove the 2 screws from the steering wheel assembly.
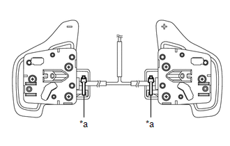
      GTY436446Courtesy of © TOYOTA, LICENSE AGREEMENT TMS1002
      *a Guide
    2. Disengage the guide from the steering wheel assembly.
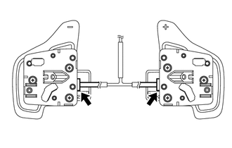
    3. Disengage the 5 guides to remove the 2 shift paddle switches (transmission shift switch assemblies) with No. 1 switch wire from the steering wheel assembly.
      GTY428684Courtesy of © TOYOTA, LICENSE AGREEMENT TMS1002
    4. Remove the 2 clamps.
      GTY437557Courtesy of © TOYOTA, LICENSE AGREEMENT TMS1002
      *a Clamp
    5. Disconnect the 2 shift paddle switch (transmission shift switch assembly) connectors to remove the No. 1 switch wire from the 2 shift paddle switches (transmission shift switch assemblies).
      GTY452623Courtesy of © TOYOTA, LICENSE AGREEMENT TMS1002