LEMON Manuals: Even more car manuals for everyone: 1960-2025
Home >> Toyota >> 2016 >> RAV4 LE, AWD >> Repair and Diagnosis (Single Page) >> Accessories & Equipment >> Anti-Theft Systems >> Smart Key System (Entry Function) - Diagnostic Codes & Symptom Tests - (Except Hybrid) >> SMART KEY SYSTEM (for Entry Function) >> Symptom Tests >> All Door Entry Lock/Unlock Functions do not Operate, but Wireless Functions Operate [12/2012 - 08/2016] >> Procedure
April 5, 2026: LEMON Manuals is launched! Read the announcement.

All Door Entry Lock/Unlock Functions do not Operate, but Wireless Functions Operate [12/2012 - 08/2016]: Procedure

  1. CHECK FOR DTC 
    1. Check for DTCs.

      Refer to DTC CHECK / CLEAR [12/2012 - ] .

      Body Electrical > Smart Key > Trouble Codes 

      Result Proceed to
      DTC is not output
      DTC is output

    Result: 

    DTC is output 

    GO TO DIAGNOSTIC TROUBLE CODE CHART. Refer to  DIAGNOSTIC TROUBLE CODE CHART [12/2012 - 08/2016]  . 

    Result: 

    DTC is not output 

    See step  2

  2. CHECK WAVE ENVIRONMENT 
    1. Move the electrical key transmitter sub-assembly as described below and perform the operation inspection.

      HINT: 

      • When the electrical key transmitter sub-assembly is brought near the front door outside handle assembly (for driver door) or electrical key antenna, the possibility of wave interference decreases, and it can be determined if wave interference is causing the problem symptom.
      • The transmitting wave of the wireless function and entry function are the same, but the wave logic is different. As a result, it is possible that only the wireless function or only the entry function is affected by wave interference.
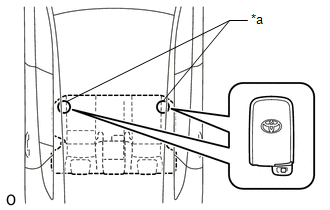
      1. Bring the electrical key transmitter sub-assembly approximately 0.3 m (0.984 ft.) from the front door outside handle assembly (for driver door) and perform a driver door entry lock and unlock operation check.
        NOTE:

        If the electrical key transmitter sub-assembly is brought within 0.2 m (0.656 ft.) of the door handle, communication may not be possible.

        GTY367217Courtesy of © TOYOTA, LICENSE AGREEMENT TMS1002
        *a Approximately 0.3 m (0.984 ft.)
      2. Bring the electrical key transmitter sub-assembly approximately 0.3 m (0.984 ft.) from the front door outside handle assembly (for front passenger door) and perform a front passenger door entry lock and unlock operation check.
        NOTE:

        If the electrical key transmitter sub-assembly is brought within 0.2 m (0.656 ft.) of the door handle, communication may not be possible.

        GTY376711Courtesy of © TOYOTA, LICENSE AGREEMENT TMS1002
        *a Approximately 0.3 m (0.984 ft.)
      3. Bring the electrical key transmitter sub-assembly approximately 0.3 m (0.984 ft.) from the electrical key antenna (outside luggage) and perform a back door open function check.
        NOTE:

        If the electrical key transmitter sub-assembly is brought within 0.2 m (0.656 ft.) of the rear bumper, communication may not be possible.

        HINT: 

        • If the inspection result is that the problem only occurs in certain locations or at certain times of day, the possibility of wave interference is high. Also, added vehicle components may cause wave interference. If installed, remove them and perform the operation check.
        • If wave interference seems to be the likely cause of the problem, ask the customer if the problem occurs in specific locations.
        • Move the vehicle to a different location, perform the following procedure and check if the symptoms can be reproduced.
        • If a tool for checking electric waves, such as a signal strength meter, is available, move around the area while observing both the LF band (used by the vehicle antenna to form the detection area) and RF band (used by the electrical key transmitter sub-assembly for transmission) to check for locations where there is wave interference.
        GTY375359Courtesy of © TOYOTA, LICENSE AGREEMENT TMS1002
        *a Approximately 0.3 m (0.984 ft.)
      Result Proceed to
      All operation checks fail
      All operation checks are normal
      Some operation checks are normal

    Result: 

    All operation checks are normal 

    AFFECTED BY WAVE INTERFERENCE 

    Result: 

    Some operation checks are normal 

    GO TO OTHER PROBLEM (PROCEED TO PROBLEM SYMPTOMS TABLE FOR EACH DOOR). Refer to  PROBLEM SYMPTOMS TABLE [12/2012 - 08/2016]  . 

    Result: 

    All operation checks fail 

    See step  3

  3. CHECK KEY DIAGNOSTIC MODE 
    1. Check the following antennas in key diagnostic mode.
    2. Select either channel 1 or channel 2 and perform the key diagnostic mode inspection for each channel.

      HINT: 

      If the buzzer sounds with [CH1] displayed but not with [CH2], the electrical key transmitter sub-assembly cannot be detected by channel 2 due to a malfunction, such as wave interference.

      1. Check the electrical key antenna (for driver door):

        When the electrical key transmitter sub-assembly is brought within 0.7 to 1 m (2.30 to 3.28 ft.) of the front door outside handle assembly (for driver door), check that the wireless door lock buzzer sounds.

        GTY367217Courtesy of © TOYOTA, LICENSE AGREEMENT TMS1002
        *a 0.7 to 1 m (2.30 to 3.28 ft.)

        Body Electrical > Smart Key > Utility 

        Tester Display
        Communication Check(Key Diag Mode)
      2. Check the electrical key antenna (for front passenger door):

        When the electrical key transmitter sub-assembly is brought within 0.7 to 1 m (2.30 to 3.28 ft.) of the front door outside handle assembly (for front passenger door), check that the wireless door lock buzzer sounds.

        GTY376743Courtesy of © TOYOTA, LICENSE AGREEMENT TMS1002
        *a 0.7 to 1 m (2.30 to 3.28 ft.)

        Body Electrical > Smart Key > Utility 

        Tester Display
        Communication Check(Key Diag Mode)
      3. Check the electrical key antenna (outside luggage):
        GTY375359Courtesy of © TOYOTA, LICENSE AGREEMENT TMS1002
        *a 0.7 to 1 m (2.30 to 3.28 ft.)

        When the electrical key transmitter sub-assembly is brought within 0.7 to 1 m (2.30 to 3.28 ft.) of the electrical key antenna (outside luggage), check that the wireless door lock buzzer sounds.

        Body Electrical > Smart Key > Utility 

        Tester Display
        Communication Check(Key Diag Mode)
      4. Check the No. 1 indoor electrical key antenna (front floor):
        GTY376002Courtesy of © TOYOTA, LICENSE AGREEMENT TMS1002
        *a Inspection Point

        When the electrical key transmitter sub-assembly is at either inspection point, check that the wireless door lock buzzer sounds.

        Body Electrical > Smart Key > Utility 

        Tester Display
        Communication Check(Key Diag Mode)
      5. Check the No. 2 indoor electrical key antenna (rear floor):
        GTY376438Courtesy of © TOYOTA, LICENSE AGREEMENT TMS1002
        *a Inspection Point

        When the electrical key transmitter sub-assembly is at either inspection point, check that the wireless door lock buzzer sounds.

        Body Electrical > Smart Key > Utility 

        Tester Display
        Communication Check(Key Diag Mode)
      6. Check the No. 3 indoor electrical key antenna (inside luggage):
        GTY373007Courtesy of © TOYOTA, LICENSE AGREEMENT TMS1002
        *a Inspection Point

        When the electrical key transmitter sub-assembly is at either inspection point, check that the wireless door lock buzzer sounds.

        Body Electrical > Smart Key > Utility 

        Tester Display
        Communication Check(Key Diag Mode)

        OK

        Wireless door lock buzzer sounds.

      Result Proceed to
      All diagnostic mode inspections fail
      Some diagnostic mode inspections fail (door)
      Some diagnostic mode inspections fail (interior)
      Some diagnostic mode inspections fail (outside luggage)
      All diagnostic mode inspections are normal

    Result: 

    Some diagnostic mode inspections fail (door) 

    GO TO OTHER PROBLEM (PROCEED TO PROBLEM SYMPTOM TABLE FOR EACH DOOR). Refer to  PROBLEM SYMPTOMS TABLE [12/2012 - 08/2016]  . 

    Result: 

    Some diagnostic mode inspections fail (interior) 

    GO TO OTHER PROBLEM. Refer to  HOW TO PROCEED WITH TROUBLESHOOTING [12/2012 - ]  . 

    Result: 

    Some diagnostic mode inspections fail (outside luggage) 

    GO TO OTHER PROBLEM. Refer to  PROBLEM SYMPTOMS TABLE [12/2012 - 08/2016]  . 

    Result: 

    All diagnostic mode inspections are normal 

    REPLACE CERTIFICATION ECU (SMART KEY ECU ASSEMBLY): 

    Refer to REMOVAL [12/2012 - 10/2015] or REMOVAL [10/2015 - ] .

    Result: 

    All diagnostic mode inspections fail 

    See step  4

  4. INSPECT ELECTRICAL KEY TRANSMITTER SUB-ASSEMBLY 
    1. Check if there is another electrical key transmitter sub-assembly available that is already registered to the vehicle.
      Result Proceed to
      Another registered electrical key transmitter sub-assembly is not available A
      Another registered electrical key transmitter sub-assembly is available B

    Result: 

    See step  6

    Result: 

    See step  5

  5. ELECTRICAL KEY TRANSMITTER SUB-ASSEMBLY REGISTRATION (NEW ELECTRICAL KEY TRANSMITTER SUB-ASSEMBLY) 
    1. Register a new electrical key transmitter sub-assembly.

      Refer to REGISTRATION [12/2012 - ] .

      Result Proceed to
      OK
      NG

    Result: 

    NEXT 

    See step  6

  6. CHECK ENTRY DOOR LOCK OPERATION 
    1. Check the operation of the entry lock function.

      Refer to OPERATION CHECK [12/2012 - 08/2016] .

      OK

      Entry lock function operates normally.

      Result Proceed to
      OK
      NG

    Result: 

    OK 

    END (ELECTRICAL KEY TRANSMITTER SUB-ASSEMBLY WAS DEFECTIVE) 

    Result: 

    NG 

    REPLACE CERTIFICATION ECU (SMART KEY ECU ASSEMBLY).  

    Refer to REMOVAL [12/2012 - 10/2015] or REMOVAL [10/2015 - ] .