LEMON Manuals: Even more car manuals for everyone: 1960-2025
Home >> Toyota >> 2017 >> 4Runner TRD Pro >> Repair and Diagnosis (Single Page) >> Restraints >> Air Bag, SRS >> Occupant Classification System - Diagnostic Codes & Symptom Tests >> Occupant Classification System >> DTC B1783: Rear Occupant Classification Sensor RH Circuit Malfunction [08/2019 - ] >> Procedure
April 5, 2026: LEMON Manuals is launched! Read the announcement.

DTC B1783: Rear Occupant Classification Sensor RH Circuit Malfunction [08/2019 - ]: Procedure

  1. CHECK FOR DTC 
    1. Turn the ignition switch to ON, and wait for at least 60 seconds.
    2. Clear the DTCs stored in memory (Refer to DTC CHECK / CLEAR [08/2019 - ] ).

      HINT: 

      • First clear the DTCs stored in the occupant classification ECU, and then clear the DTCs stored in the airbag sensor assembly.
      • Use the Techstream to clear the DTCs of the occupant classification ECU, otherwise the DTCs cannot be cleared.
    3. Turn the ignition switch off.
    4. Turn the ignition switch to ON, and wait for at least 60 seconds.
    5. Using the Techstream, check for DTCs of the occupant classification ECU (Refer to DTC CHECK / CLEAR [08/2019 - ] ).

      OK

      DTC B1783 is not output.

      HINT: 

      DTCs other than DTC B1783 may be output at this time, but they are not related to this check.

    Result: 

    OK 

    USE SIMULATION METHOD TO CHECK 

    (Refer to DIAGNOSIS SYSTEM [08/2015 - ] )

    Result: 

    NG 

    See step  2

  2. CHECK CONNECTION OF CONNECTOR 
    1. Turn the ignition switch off.
    2. Disconnect the cable from the negative (-) battery terminal, and wait for at least 90 seconds.
    3. Check that the connectors are properly connected to the occupant classification ECU and rear occupant classification sensor RH.

      OK

      Connectors are properly connected.

    Result: 

    NG 

    CONNECT CONNECTOR 

    Result: 

    OK 

    See step  3

  3. CHECK CONNECTOR 
    1. Disconnect the connectors from the occupant classification ECU and rear occupant classification sensor RH.
    2. Check that the connectors (on the occupant classification ECU side and rear occupant classification sensor RH side) are not damaged (Refer to ELECTRONIC CIRCUIT INSPECTION PROCEDURE [08/2015 - ] ).

      OK

      Connectors are not deformed or damaged.

    Result: 

    NG 

    REPLACE FRONT SEAT WIRE RH 

    Result: 

    OK 

    See step  4

  4. CHECK FRONT SEAT WIRE RH 
    1. Connect the cable to the negative (-) battery terminal, and wait for at least 2 seconds.
      GTY893466Courtesy of © TOYOTA, LICENSE AGREEMENT TMS1002
    2. Measure the voltage according to the value(s) in the table below.

      Standard Voltage

      Tester Connection Switch Condition Specified Condition
      a10-4 (SGD4) - Body ground Ignition switch ON Below 1 V
      a10-6 (SVC4) - Body ground Ignition switch ON Below 1 V
      a10-10 (SIG4) - Body ground Ignition switch ON Below 1 V
    3. Turn the ignition switch off.
    4. Disconnect the cable from the negative (-) battery terminal, and wait for at least 90 seconds.
    5. Using service wires, connect terminals 1 and 3, and terminals 2 and 3 of connector C.
      NOTE:

      Do not forcibly insert the service wires into the terminals of the connector.

    6. Measure the resistance according to the value(s) in the table below.

      Standard Resistance

      Tester Connection Condition Specified Condition
      a10-6 (SVC4) - a10-4 (SGD4) Always Below 1 Ω
      a10-10 (SIG4) - a10-4 (SGD4) Always Below 1 Ω
    7. Disconnect the service wires from connector C.
    8. Measure the resistance according to the value(s) in the table below.

      Standard Resistance

      Tester Connection Condition Specified Condition
      a10-6 (SVC4) - a10-4 (SGD4) Always 1 MΩ or higher
      a10-10 (SIG4) - a10-4 (SGD4) Always 1 MΩ or higher
      a10-6 (SVC4) - a10-10 (SIG4) Always 1 MΩ or higher
      a10-4 (SGD4) - Body ground Always 1 MΩ or higher
      a10-6 (SVC4) - Body ground Always 1 MΩ or higher
      a10-10 (SIG4) - Body ground Always 1 MΩ or higher
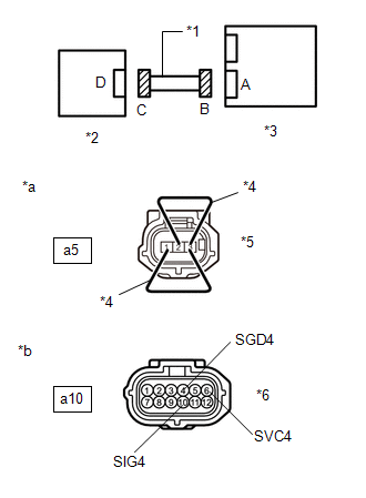
      TEXT IN ILLUSTRATION

      *1 Front Seat Wire RH
      *2 Rear Occupant Classification Sensor RH
      *3 Occupant Classification ECU
      *4 Service Wire
      *5 Connector C
      *6 Connector B
      *a Front view of wire harness connector
      (to Rear Occupant Classification Sensor RH)
      *b Front view of wire harness connector
      (to Occupant Classification ECU)

    Result: 

    NG 

    REPLACE FRONT SEAT WIRE RH 

    Result: 

    OK 

    See step  5

  5. CHECK FOR DTC 
    1. Connect the connectors to the occupant classification ECU and rear occupant classification sensor RH.
    2. Connect the cable to the negative (-) battery terminal, and wait for at least 2 seconds.
    3. Turn the ignition switch to ON, and wait for at least 60 seconds.
    4. Clear the DTCs stored in memory (Refer to DTC CHECK / CLEAR [08/2019 - ] ).

      HINT: 

      • First clear the DTCs stored in the occupant classification ECU, and then clear the DTCs stored in the airbag sensor assembly.
      • Use the Techstream to clear the DTCs of the occupant classification ECU, otherwise the DTCs cannot be cleared.
    5. Turn the ignition switch off.
    6. Turn the ignition switch to ON, and wait for at least 60 seconds.
    7. Using the Techstream, check for DTCs of the occupant classification ECU (Refer to DTC CHECK / CLEAR [08/2019 - ] ).

      OK

      DTC B1783 is not output.

      HINT: 

      DTCs other than DTC B1783 may be output at this time, but they are not related to this check.

    Result: 

    OK 

    USE SIMULATION METHOD TO CHECK 

    (Refer to DIAGNOSIS SYSTEM [08/2015 - ] )

    Result: 

    NG 

    See step  6

  6. REPLACE OCCUPANT CLASSIFICATION ECU 
    1. Turn the ignition switch off.
    2. Disconnect the cable from the negative (-) battery terminal, and wait for at least 90 seconds.
    3. Replace the occupant classification ECU (Refer to REMOVAL [08/2015 - ] ).

      HINT: 

      Perform the inspection using parts from a normal vehicle when possible.

    Result: 

    NEXT 

    See step  7

  7. PERFORM ZERO POINT CALIBRATION 
    1. Connect the cable to the negative (-) battery terminal, and wait for at least 2 seconds.
    2. Turn the ignition switch to ON, and wait for at least 60 seconds.
    3. Using the Techstream, perform the zero point calibration (Refer to INITIALIZATION [08/2015 - ] ).

      OK

      "Zero Point Calibration is complete." is displayed.

    Result: 

    NG 

    See step  10

    Result: 

    OK 

    See step  8

  8. PERFORM SENSITIVITY CHECK 
    1. Using the Techstream, perform the sensitivity check (Refer to INITIALIZATION [08/2015 - ] ).

      Standard range

      27 to 33 kg (59.5 to 72.8 lb)

    Result: 

    NG 

    See step  10

    Result: 

    OK 

    See step  9

  9. CHECK FOR DTC 
    1. Clear the DTCs stored in memory (Refer to DTC CHECK / CLEAR [08/2019 - ] ).

      HINT: 

      • First clear the DTCs stored in the occupant classification ECU, and then clear the DTCs stored in the airbag sensor assembly.
      • Use the Techstream to clear the DTCs of the occupant classification ECU, otherwise the DTCs cannot be cleared.
    2. Turn the ignition switch off.
    3. Turn the ignition switch to ON, and wait for at least 60 seconds.
    4. Using the Techstream, check for DTCs of the occupant classification ECU (Refer to DTC CHECK / CLEAR [08/2019 - ] ).

      OK

      DTC B1783 is not output.

      HINT: 

      DTCs other than DTC B1783 may be output at this time, but they are not related to this check.

    Result: 

    OK 

    END 

    Result: 

    NG 

    See step  10

  10. REPLACE SEPARATE TYPE FRONT SEAT CUSHION SPRING ASSEMBLY RH 
    1. Turn the ignition switch off.
    2. Disconnect the cable from the negative (-) battery terminal, and wait for at least 90 seconds.
    3. for Manual Seat:
      1. Replace the separate type front seat cushion spring RH (Refer to DISASSEMBLY [08/2015 - ] ).
    4. for Power Seat:
      1. Replace the separate type front seat cushion spring RH (Refer to DISASSEMBLY [08/2015 - ] ).

      HINT: 

      Perform the inspection using parts from a normal vehicle when possible.

    Result: 

    NEXT 

    See step  11

  11. PERFORM ZERO POINT CALIBRATION 
    1. Connect the cable to the negative (-) battery terminal, and wait for at least 2 seconds.
    2. Turn the ignition switch to ON, and wait for at least 60 seconds.
    3. Using the Techstream, perform the zero point calibration (Refer to INITIALIZATION [08/2015 - ] ).

      OK

      "Zero Point Calibration is complete." is displayed.

    Result: 

    NEXT 

    See step  12

  12. PERFORM SENSITIVITY CHECK 
    1. Using the Techstream, perform the sensitivity check (Refer to INITIALIZATION [08/2015 - ] ).

      Standard range

      27 to 33 kg (59.5 to 72.8 lb)

    Result: 

    NEXT 

    END