LEMON Manuals: Even more car manuals for everyone: 1960-2025
Home >> Toyota >> 2017 >> 86 Base, Standard Trans >> Repair and Diagnosis (Single Page) >> Steering >> Steering Column >> Steering Column (Service Information) >> Steering Column Assembly >> Inspection [06/2016 - 03/2017] >> Procedure
April 5, 2026: LEMON Manuals is launched! Read the announcement.

Inspection [06/2016 - 03/2017]: Procedure

  1. INSPECT PRELOAD 
    1. Secure the steering column assembly in a vice using aluminum plates, cloth and wooden block as shown in the illustration.
      GTY387684Courtesy of © TOYOTA, LICENSE AGREEMENT TMS1002
      TEXT IN ILLUSTRATION

      *1 Wooden Block
      *2 Cloth
      NOTE:
      • Do not overtighten the vice, as the steering column assembly may become deformed.
      • Support the steering column assembly with a wooden block or similar item to ensure that it does not fall.
    2. Install the 2 service nuts to the steering main shaft.
      GTY471299Courtesy of © TOYOTA, LICENSE AGREEMENT TMS1002

      Recommended service nut

      Thread diameter 

      12.0 mm (0.472 in.)

      Thread pitch 

      1.25 mm (0.0492 in.)

      TEXT IN ILLUSTRATION

      *1 Service Nut
    3. Tighten the 2 service nuts each other to lock them.
      NOTE:

      Do not apply excess torque to the service nuts by using a tool such as an impact wrench.

      HINT: 

      These nuts are installed to turn the steering main shaft. They should be removed after inspecting the steering main shaft rotating torque.

    4. Using a torque wrench, turn the main shaft and measure the preload.
      GTY471255Courtesy of © TOYOTA, LICENSE AGREEMENT TMS1002

      Preload

      1.6 to 2.1 N*m (16.3 to 21.4 kgf*cm, 14.2 to 18.6 in.*lbf)

      If the preload is not as specified, replace the steering column assembly with a new one.

  2. INSPECT STEERING LOCK OPERATION 
    1. Check that the steering lock mechanism is activated when the key is removed.
      GTY315762Courtesy of © TOYOTA, LICENSE AGREEMENT TMS1002
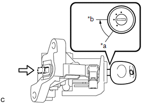
    2. Check that the steering lock mechanism is deactivated when the key is inserted and turned to ACC.
      GTY316540Courtesy of © TOYOTA, LICENSE AGREEMENT TMS1002
      TEXT IN ILLUSTRATION

      *a LOCK
      *b ACC

      HINT: 

      If there is any abnormality, replace the ignition switch lock cylinder assembly or upper steering column with switch bracket assembly.

  3. INSPECT STEERING COLUMN ASSEMBLY 
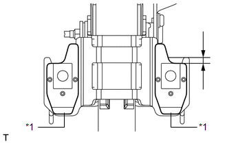
    1. Check that the 2 capsules are securely installed to the steering column assembly as shown in the illustration.
      GTY471626Courtesy of © TOYOTA, LICENSE AGREEMENT TMS1002

      OK

      5.0 mm (0.1969 in.) or more

      TEXT IN ILLUSTRATION

      *1 Capsule

      If the capsules are not positioned as specified, replace the steering column assembly with a new one.

    2. Check the 2 capsules for deformation and damage.

      If either of the capsules is deformed, loose, missing or damaged, replace the steering column assembly with a new one.

  4. INSPECT STEERING INTERMEDIATE SHAFT ASSEMBLY 
    1. Check for play
      1. Check that there is no play at the universal joint.
        GTY471241Courtesy of © TOYOTA, LICENSE AGREEMENT TMS1002

        OK

        No play

        HINT: 

        If the result is not as specified, replace the steering intermediate shaft assembly with a new one.

    2. Turning toque
      1. Hold the steering intermediate shaft assembly in a vise with the yoke on the rack and pinion power steering gear assembly side facing upward.
        GTY471239Courtesy of © TOYOTA, LICENSE AGREEMENT TMS1002
      2. Using a push and pull gauge, measure the turning load in the both directions.

        OK

        6.6 N (0.67 kgf, 1.48 lbf) or less

        HINT: 

        If the result is not as specified, replace the steering intermediate shaft assembly with a new one.

      3. Hold the steering intermediate shaft assembly in a vise with the yoke on the steering column assembly side facing upward.
      4. Using a push and pull gauge, measure the turning load in the both directions.

        OK

        6.6 N (0.67 kgf, 1.48 lbf) or less

        HINT: 

        If the result is not as specified, replace the steering intermediate shaft assembly with a new one.