LEMON Manuals: Even more car manuals for everyone: 1960-2025
Home >> Toyota >> 2017 >> Corolla XLE >> Repair and Diagnosis (Single Page) >> Steering >> Steering Column >> Steering Column (Service Information) (Model Code: ZRE172) >> Steering Column Assembly >> Inspection [08/2013 - ] >> Procedure
April 5, 2026: LEMON Manuals is launched! Read the announcement.

Inspection [08/2013 - ]: Procedure

  1. INSPECT PRELOAD 
    1. Secure the steering column assembly in a vise using aluminum plates, cloths and wooden blocks.
      NOTE:

      Do not overtighten the vise.

      GTY441474Courtesy of © TOYOTA, LICENSE AGREEMENT TMS1002
      *a Cloth
      *b Wooden Block
    2. Using SST and a torque wrench, turn the steering main shaft at a constant rate of approximately 1 revolution every 4 seconds and measure the preload.
      • SST: 09616-00011 

      Preload

      0.8 to 1.4 N*m (8 to 14 kgf*cm, 7 to 12 in.*lbf)

      If the preload is not as specified, replace the power steering motor assembly or electric power steering column sub-assembly with a new one.

      GTY425859Courtesy of © TOYOTA, LICENSE AGREEMENT TMS1002
  2. INSPECT STEERING COLUMN ASSEMBLY 
    1. Check that the 2 bushings are securely installed to the steering column assembly.
      GTY448713Courtesy of © TOYOTA, LICENSE AGREEMENT TMS1002

      If the bushings are deformed, missing or damaged, replace the electric power steering column sub-assembly with a new one.

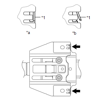
    2. Check that the 2 capsules are securely installed to the electric power steering column sub-assembly as shown in the illustration.
      GTY436272Courtesy of © TOYOTA, LICENSE AGREEMENT TMS1002
      *1 Capsule
      *a OK
      *b NG

      If the capsules are deformed, damaged or misaligned, replace the electric power steering column sub-assembly with a new one.

  3. INSPECT STEERING LOCK OPERATION (w/o Smart Key System) 
    1. Check that the steering lock mechanism is activated when the key is removed.
    2. Check that the steering lock mechanism is deactivated when the key is inserted and turned to the ACC position.

      If there are any abnormalities, replace the ignition switch lock cylinder assembly or upper steering column bracket assembly.