LEMON Manuals: Even more car manuals for everyone: 1960-2025
Home >> Toyota >> 2020 >> 86 Base, Automatic Trans >> Repair and Diagnosis (Single Page) >> Accessories & Equipment >> Anti-Theft Systems >> Smart Key System (Keyless Entry) - Diagnostics - Introduction >> SMART KEY SYSTEM (for Entry Function) >> Operation Check [03/2017 - 12/2017] >> Operation Check [03/2017 - 12/2017]
April 5, 2026: LEMON Manuals is launched! Read the announcement.

Operation Check [03/2017 - 12/2017]

  1. CHECK SMART KEY SYSTEM (for Entry Function) OPERATION 
    NOTE:

    Make sure that the smart key system (for Entry Function) has not been canceled before performing this inspection.

    1. Check the entry unlock function (driver side door, front passenger side door).
      1. Perform a wireless lock operation to lock all the doors, touch the unlock sensor built into the backside of the front door outside handle assembly of the driver side door while carrying the electrical key transmitter and check that all the doors unlock.

        HINT: 

        To perform a wireless lock operation, press the lock switch of the electrical key transmitter while standing near the front door outside handle assembly.

      2. Inspect the entry unlock detection area. Hold the electrical key transmitter at the same height as the front door outside handle assembly (approximately 0.8 m (2.62 ft.) from the ground) and approximately 0.7 m (2.30 ft.) from the vehicle as shown in the illustration and check that the LED (red) of the electrical key transmitter sub-assembly blinks.
        GTY714220Courtesy of © TOYOTA, LICENSE AGREEMENT TMS1002
        TEXT IN ILLUSTRATION

        *1 Electrical Key Transmitter Sub-assembly
        *a 0.7 to 1 m (2.30 to 3.28 ft.)
      3. With the system in unlock standby mode, hold the front door outside handle assembly and check that all the doors unlock.

        HINT: 

        • The system is in unlock standby mode when the electrical key transmitter sub-assembly is in the detection area and the key ID code sent by the key matches the key ID code stored by the certification ECU (smart key ECU assembly).
        • Communication may not be possible if the electrical key transmitter sub-assembly is within 0.2 m (0.66 ft.) of the front door outside handle assembly.
        • Inspect the front passenger side door using the same procedure.
      4. Check the unlock response sensitivity. With the system in unlock standby mode, touch the area shown in the illustration and check that the door unlocks.
        NOTE:

        If the sensor is touched too quickly or released too slowly, the sensor may not react and the door will not unlock.

        GTY703452Courtesy of © TOYOTA, LICENSE AGREEMENT TMS1002
        TEXT IN ILLUSTRATION

        *1 Unlock Sensor (Backside)
    2. Check the entry lock function (driver side door, front passenger side door).
      NOTE:

      If the electrical key transmitter sub-assembly is in the vehicle but outside the detection area (on the instrument panel, accessory box of the instrument panel, package tray trim panel, or in/near the front cup holder, in the glove box or on the floor) and a door lock operation is performed, the key lock-in prevention function will not operate and the electrical key transmitter sub-assembly will be locked inside the vehicle.

      1. With all the doors closed and unlocked, touch the lock sensor of the front door outside handle assembly of the driver side door while carrying the electrical key transmitter sub-assembly and check that all the doors lock.
        GTY714220Courtesy of © TOYOTA, LICENSE AGREEMENT TMS1002
        TEXT IN ILLUSTRATION

        *1 Electrical Key Transmitter Sub-assembly
        *a Approximately 0.3 m (0.98 ft.)
      2. Inspect the entry lock operating range. Hold the electrical key transmitter sub-assembly approximately 0.1 m (0.33 ft.) below the bottom edge of the door glass (approximately 0.8 m (2.62 ft.) from the ground) and approximately 0.3 m (0.98 ft.) from the vehicle as shown in the illustration, touch the lock sensor and check that all the doors lock.
        GTY708351Courtesy of © TOYOTA, LICENSE AGREEMENT TMS1002
        TEXT IN ILLUSTRATION

        *1 Lock Sensor

        HINT: 

        • If the door does not lock when you touch the lock sensor, push the lock sensor with your thumb.
        • As communication may not be possible if the electrical key transmitter sub-assembly is within 0.2 m (0.66 ft.) of the front door outside handle assembly, the door may not lock if the lock sensor is touched with the same hand that is holding the electrical key transmitter sub-assembly, etc.
        • If the key lock-in prevention function buzzer sounds, electric waves from the indoor electrical key oscillator may be leaking from the vehicle.
        • Inspect the front passenger side door using the same procedure.
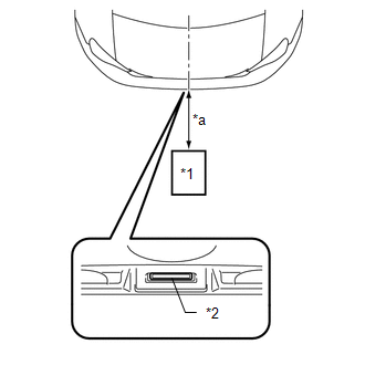
    3. Check the entry luggage compartment open function.
      1. Perform a wireless lock operation to lock the doors, operate the unlock switch of the back door opener switch assembly while carrying the electrical key transmitter sub-assembly and check that the door unlocks.
        GTY732042Courtesy of © TOYOTA, LICENSE AGREEMENT TMS1002
        TEXT IN ILLUSTRATION

        *1 Electrical Key Transmitter Sub-assembly
        *2 Back Door Opener Switch Assembly
        *a Approximately 0.7 m (2.30 ft.)
      2. Inspect the entry luggage compartment door unlock operating range. While standing at the rear of the vehicle, hold the electrical key transmitter sub-assembly so that it is facing the direction shown in the above illustration at the same height as the back door opener switch assembly and approximately 0.7 m (2.30 ft.) from the vehicle, press the unlock switch of the back door opener switch assembly and check that the luggage compartment door open.
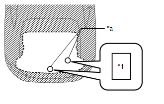
    4. Check the key lock-in prevention function (in luggage compartment).
      1. Place the electrical key transmitter sub-assembly in the luggage compartment with all doors locked. Check that: 1) closing the luggage compartment door triggers the key wireless buzzer (which lasts approximately 2 seconds), and 2) pressing the back door opener switch assembly opens the luggage compartment door.
      2. Inspect the key lock-in prevention detection area. Pay attention to the direction of the electrical key transmitter sub-assembly shown in the illustration. When the electrical key transmitter sub-assembly is in either of the 2 locations in the illustration, check that: 1) closing the luggage compartment door sounds the wireless buzzer, and 2) pressing the back door opener switch assembly.
        GTY686421Courtesy of © TOYOTA, LICENSE AGREEMENT TMS1002
        TEXT IN ILLUSTRATION

        *1 Electrical Key Transmitter Sub-assembly
        *a Inspection Point
      3. Inspect the key lock-in prevention detection area and the door control receiver for wave leaks. Hold the electrical key transmitter sub-assembly at the same height as the lower edge of the luggage compartment door aligning it with the center of the rear of the vehicle. Pay attention to the direction and position of the electrical key transmitter sub-assembly shown in the illustration.
        GTY735836Courtesy of © TOYOTA, LICENSE AGREEMENT TMS1002
        TEXT IN ILLUSTRATION

        *a 0.1 m or more (0.328 ft. or more)

        HINT: 

        • When the electrical key transmitter sub-assembly is over 0.1 m (0.328 ft.) from the rear bumper, the wireless buzzer does not sound.
        • If the warning buzzer sounds, the No. 3 indoor electrical key oscillator (inside luggage compartment) may have a wave leak.
    5. Check the push start function (for Automatic Transmission).
      1. With the engine switch off, move the shift lever to P, depress the brake pedal while carrying the electrical key transmitter sub-assembly and check that the entry key indicator light in the combination meter assembly illuminates green. Then, with the entry key indicator light in the combination meter assembly illuminates green, press the engine switch and check that the engine starts.
      2. With the brake pedal released and the engine switch off, press the engine switch while carrying the electrical key transmitter sub-assembly and check that the power source mode changes as follows: off → on (ACC) → on (IG) → off. However, if the shift lever is in any position other than P while the engine switch is on (IG), the power source mode will not change to off, but to on (ACC).
      3. Stop the vehicle, press the engine switch and check that the power source mode changes to off (the engine stops and all electrical systems are off). However, if the shift lever is in any position other than P, even if the engine switch is pressed while the vehicle is stationary, the power source mode will not change to off, but to on (ACC). Move the shift lever to P, open the door and check that the steering lock operates.
      4. Inspect the entry ignition operating range (front floor). Place the electrical key transmitter sub-assembly on the front seat at either inspection point so that it is facing in the direction shown in the illustration and check that the engine can be started.
        GTY734959Courtesy of © TOYOTA, LICENSE AGREEMENT TMS1002
        TEXT IN ILLUSTRATION

        *1 Electrical Key Transmitter Sub-assembly
        *a Inspection Point
        NOTE:
        • Even if the electrical key transmitter sub-assembly is in the vehicle interior key detection area, the electrical key transmitter sub-assembly may not be properly detected if it is on the instrument panel, accessory box of the instrument panel, package tray trim panel, or in/near the front cup holder, in the glove box or on the floor.
        • Communication may not be possible if the electrical key transmitter sub-assembly is within 0.2 m (0.66 ft.) of the shift lever.

        HINT: 

        Perform the inspection for both inspection points.

      5. Inspect the push start operating range (inside luggage). Place the electrical key transmitter sub-assembly at either inspection point and check that the engine can be started.
        GTY698476Courtesy of © TOYOTA, LICENSE AGREEMENT TMS1002
        TEXT IN ILLUSTRATION

        *1 Electrical Key Transmitter Sub-assembly
        *a Inspection Point
        NOTE:
        • Even if the electrical key transmitter sub-assembly is in the vehicle interior key detection area, the electrical key transmitter sub-assembly may not be properly detected if it is on the instrument panel, accessory box of the instrument panel, package tray trim panel, or in/near the front cup holder, in the glove box or on the floor.
        • Communication may not be possible if the electrical key transmitter sub-assembly is within 0.2 m (0.66 ft.) of the center of the rear seat cushion.

        HINT: 

        Perform the inspection for both inspection points.

    6. Check the push start function (for Manual Transmission).
      1. With the engine switch off, depress the clutch pedal while carrying the electrical key transmitter sub-assembly and check that the entry key indicator light in the combination meter assembly illuminates green. Then, with the entry key indicator light in the combination meter assembly illuminates green, press the engine switch and check that the engine starts.
      2. With the clutch pedal released and the engine switch off, press the engine switch while carrying the electrical key transmitter sub-assembly and check that the power source mode changes as follows: off → on (ACC) → on (IG) → off.
      3. Stop the vehicle, press the engine switch and check that the power source mode changes to off (the engine stops and all electrical systems are off). Open the door and check that the steering lock operates.
      4. Inspect the push start operating range (front floor). Place the electrical key transmitter sub-assembly on the front seat at either inspection point so that it is facing in the direction shown in the illustration and check that the engine can be started.
        GTY734959Courtesy of © TOYOTA, LICENSE AGREEMENT TMS1002
        TEXT IN ILLUSTRATION

        *1 Electrical Key Transmitter Sub-assembly
        *a Inspection Point
        NOTE:
        • Even if the electrical key transmitter sub-assembly is in the vehicle interior key detection area, the electrical key transmitter sub-assembly may not be properly detected if it is on the instrument panel, accessory box of the instrument panel, package tray trim panel, or in/near the front cup holder, in the glove box or on the floor.
        • Communication may not be possible if the electrical key transmitter sub-assembly is within 0.2 m (0.66 ft.) of the shift lever.

        HINT: 

        Perform the inspection for both inspection points.

      5. Inspect the push start operating range (rear floor). Place the electrical key transmitter sub-assembly at either inspection point and check that the engine can be started.
        GTY698476Courtesy of © TOYOTA, LICENSE AGREEMENT TMS1002
        TEXT IN ILLUSTRATION

        *1 Electrical Key Transmitter Sub-assembly
        *a Inspection Point
        NOTE:
        • Even if the electrical key transmitter sub-assembly is in the vehicle interior key detection area, the electrical key transmitter sub-assembly may not be properly detected if it is on the instrument panel, accessory box of the instrument panel, package tray trim panel, or in/near the front cup holder, in the glove box or on the floor.
        • Communication may not be possible if the electrical key transmitter sub-assembly is within 0.2 m (0.66 ft.) of the center of the rear seat cushion.

        HINT: 

        Perform the inspection for both inspection points.

    7. Check the key lock-in prevention function (vehicle interior).
      NOTE:

      In order to prevent the key lock-in, perform this inspection with the window of a door open.

      1. Turn the engine switch off.
      2. Place the electrical key transmitter sub-assembly on a front or rear seat.
      3. Close all the doors, but make sure all the doors are unlocked.
      4. Touch a front door lock sensor and check that the doors do not lock and the key lock-in prevention function buzzer (external) sounds for approximately 5 seconds.
    8. Check the entry cancel function.
      1. Cancel the smart key system and check that all the functions of the smart key system (for entry function) no longer operate.

        HINT: 

        • Refer to the following procedures to cancel the smart key system (for entry function) (Refer to CUSTOMIZE PARAMETERS [03/2017 - ] ).
        • While the smart key system is canceled, it is possible to lock and unlock the doors with the wireless operation, and the start system can be operated by holding the electrical key transmitter sub-assembly against the engine switch.
      2. While the key cancel function (entry cancel function) is on, check that all functions of the smart key system cannot be operated.
    9. Check the answer-back function (hazard warning light flashing and buzzer sounding).
      Entry Operation Wireless Buzzer Hazard Warning Light
      Entry Door Lock Sounds once Flashes once
      Entry Door Unlock Sounds twice Flashes twice
      Entry Luggage Compartment Open Does not sound Does not flash
  2. KEY DIAGNOSTIC MODE (Using Techstream) 
    NOTE:

    Perform this check with the vehicle is stopped.

    HINT: 

    With key diagnostic mode, it is possible to check if the electrical key transmitter sub-assembly is operating properly with the selected electrical key antenna and within the selected detection area by the sounding of the wireless buzzer.

    1. Enter the following menus: Body Electrical / Smart Key / Utility / Communication Check (Key Diag Mode).
    2. Inspect the appropriate item according to the following table.
      Tester Display Inspection Item
      Overhead + Driver Side*1 Front door outside handle assembly LH (electrical key antenna)
      Overhead + Passenger Side*2 Front door outside handle assembly RH (electrical key antenna)
      Overhead + Front Room*3 Indoor electrical key oscillator (front floor)
      Overhead + Rear Room*4 No. 2 indoor electrical key oscillator (rear floor)
      Overhead + Luggage*5 Electrical key antenna (outside luggage)
      Luggage + Luggage (inside)*6 No. 3 indoor electrical key oscillator (inside luggage)
      Immobiliser Amp*7 Amplifier (engine switch)
    3. Bring the electrical key transmitter sub-assembly near the selected electrical key antenna and check that the wireless door lock buzzer sounds.
      1. *1: Front door outside handle assembly LH (electrical key antenna)
        GTY714220Courtesy of © TOYOTA, LICENSE AGREEMENT TMS1002
        TEXT IN ILLUSTRATION

        *1 Electrical Key Transmitter Sub-assembly
        *a Approximately 0.7 m (2.30 ft.)

        HINT: 

        • Hold the electrical key transmitter sub-assembly at the same height as the front door outside handle assembly LH (approximately 0.8 m (2.62 ft.) from the ground) in the position shown in the illustration.
        • *2: Perform the same inspection for the passenger side.
    4. *3: Indoor electrical key oscillator (front floor)
      GTY734959Courtesy of © TOYOTA, LICENSE AGREEMENT TMS1002
      TEXT IN ILLUSTRATION

      *1 Electrical Key Transmitter Sub-assembly
      *a Inspection Point

      HINT: 

      Place the electrical key transmitter sub-assembly on the front seat cushion of the driver seat or front passenger seat.

    5. *4: No. 2 indoor electrical key oscillator (inside luggage)
      GTY698476Courtesy of © TOYOTA, LICENSE AGREEMENT TMS1002
      TEXT IN ILLUSTRATION

      *1 Electrical Key Transmitter Sub-assembly
      *a Inspection Point

      HINT: 

      Place the electrical key transmitter sub-assembly on the rear seat cushion.

    6. *5: Electrical key antenna (outside luggage)
      GTY711346Courtesy of © TOYOTA, LICENSE AGREEMENT TMS1002
      TEXT IN ILLUSTRATION

      *1 Electrical Key Transmitter Sub-assembly
      *a Approximately 0.7 m (2.30 ft.)

      HINT: 

      Hold the electrical key transmitter sub-assembly at the same height as the rear bumper upper surface and align it with the center of the rear of the vehicle, as shown in the illustration.

    7. *6: No. 3 indoor electrical key oscillator (inside luggage)
      GTY686421Courtesy of © TOYOTA, LICENSE AGREEMENT TMS1002
      TEXT IN ILLUSTRATION

      *1 Electrical Key Transmitter Sub-assembly
      *a Inspection Point

      HINT: 

      Place the electrical key transmitter sub-assembly in the luggage compartment. Even if the electrical key transmitter sub-assembly is in the luggage compartment, the buzzer may not sound.

    8. *7: Amplifier (engine switch)
      GTY720226Courtesy of © TOYOTA, LICENSE AGREEMENT TMS1002

      HINT: 

      Hold the electrical key transmitter sub-assembly near the engine switch as shown in the illustration.