LEMON Manuals: Even more car manuals for everyone: 1960-2025
Home >> Toyota >> 2021 >> Highlander LE, FWD >> Repair and Diagnosis (Single Page) >> Body & Frame >> Door Locks >> Smart Key System (For Start, Except HV) - Diagnostic Codes (1 Of 2) >> SMART KEY SYSTEM (for Start Function, Gasoline Model) >> DTC B2799-86: Engine Immobilizer System Signal (Some Circuit Quantity, Reported via Serial Data) Invalid [12/2019 - 10/2021] >> Procedure
April 5, 2026: LEMON Manuals is launched! Read the announcement.

DTC B2799-86: Engine Immobilizer System Signal (Some Circuit Quantity, Reported via Serial Data) Invalid [12/2019 - 10/2021]: Procedure

  1. REGISTER ECU COMMUNICATION ID 
    1. Register the ECU communication ID code.

      Refer to REGISTRATION [12/2019 - 10/2021]

      Result

      Proceed to
      NEXT

    Result: 

    NEXT 

    See step  2

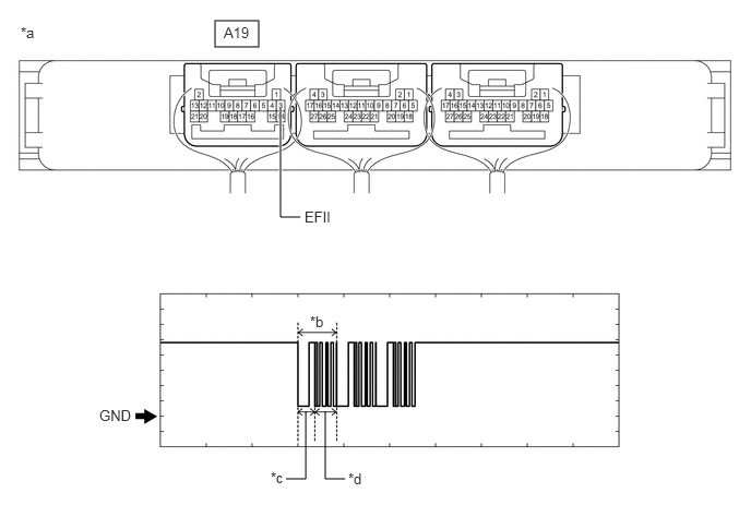
  2. CHECK CERTIFICATION ECU (SMART KEY ECU ASSEMBLY) (TERMINAL EFII) 
    1. Using an oscilloscope, check the waveform.
      GTY855900Courtesy of © TOYOTA, LICENSE AGREEMENT TMS1002
      *a Component with harness connected
      (Certification ECU (Smart Key ECU Assembly))
      *b Waveform
      *c Approximately 160 ms. *d Approximately 270 ms.

      Measurement Condition

      Tester Connection Condition Tool Setting Specified Condition
      A19-3 (EFII) - Body ground Ignition switch ON 2 V/DIV., 500 ms./DIV. Pulse generation
      (See waveform)

      Result

      Result Proceed to
      Normal waveform A
      Terminal EFII stuck low (2.4 V or less) B
      Waveform not output, or has abnormal wavelength or shape C

    Result: 

    See step  6

    Result: 

    REPLACE ECM. Refer to  REMOVAL [12/2019 - 09/2020]  , or refer to  REMOVAL [09/2020 - 10/2022] 

    Result: 

    See step  3

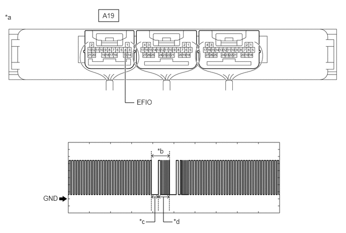
  3. CHECK CERTIFICATION ECU (SMART KEY ECU ASSEMBLY) (TERMINAL EFIO) 
    1. Using an oscilloscope, check the waveform.
      GTY851426Courtesy of © TOYOTA, LICENSE AGREEMENT TMS1002
      *a Component with harness connected
      (Certification ECU (Smart Key ECU Assembly))
      *b Waveform
      *c Approximately 160 ms. *d Approximately 270 ms.

      Measurement Condition

      Tester Connection Condition Tool Setting Specified Condition
      A19-4 (EFIO) - Body ground Ignition switch turned to ON using registered electrical key transmitter sub-assembly 2 V/DIV., 500 ms./DIV. Pulse generation
      (See waveform)

      Result

      Proceed to
      OK
      NG

    Result: 

    NG 

    REPLACE CERTIFICATION ECU (SMART KEY ECU ASSEMBLY). Refer to  REMOVAL [12/2019 - 11/2023] 

    Result: 

    OK 

    See step  4

  4. REGISTER ECU COMMUNICATION ID 
    1. Register the ECU communication ID code.

      Refer to REGISTRATION [12/2019 - 10/2021]

      Result

      Proceed to
      NEXT

    Result: 

    NEXT 

    See step  5

  5. CHECK WHETHER ENGINE STARTS 
    1. Using an electrical key transmitter sub-assembly which is registered to the vehicle, turn the ignition switch to ON.
    2. Check that the engine starts 5 seconds after the ignition switch turned to ON.

      OK

      Engine starts normally.

      Result

      Proceed to
      OK
      NG

    Result: 

    OK 

    END (ECU COMMUNICATION ID HAS NOT BEEN REGISTERED) 

    Result: 

    NG 

    REPLACE ECM. Refer to  REMOVAL [12/2019 - 09/2020]  , or refer to  REMOVAL [09/2020 - 10/2022] 

  6. CHECK ECM 
    1. Disconnect the A28 ECM connector.
    2. Measure the voltage according to the value(s) in the table below.

      Standard Voltage

      Tester Connection Condition Specified Condition
      A28-45 (IMO) - Body ground Ignition switch turned to ON using registered electrical key transmitter sub-assembly Terminal IMO stuck low (2.4 V or less)
      Terminal IMO stuck high (12 V) or abnormal waveform

      Result

      Result Proceed to
      Terminal IMO stuck low (2.4 V or less) A
      Terminal IMO stuck high (12 V) or abnormal waveform B

    Result: 

    REPLACE ECM. Refer to  REMOVAL [12/2019 - 09/2020]  , or refer to  REMOVAL [09/2020 - 10/2022] 

    Result: 

    See step  7

  7. CHECK HARNESS AND CONNECTOR (CERTIFICATION ECU (SMART KEY ECU ASSEMBLY) - ECM) 
    1. Disconnect the A19 certification ECU (smart key ECU assembly) connector.
    2. Measure the resistance according to the value(s) in the table below.

      Standard Resistance

      Tester Connection Condition Specified Condition
      A19-3 (EFII) - A28-45 (IMO) Always Below 1 Ω
      A19-3 (EFII) or A28-45 (IMO) - Other terminals and body ground Always 10 kΩ or higher

      Result

      Proceed to
      OK
      NG

    Result: 

    OK 

    REPLACE CERTIFICATION ECU (SMART KEY ECU ASSEMBLY). Refer to  REMOVAL [12/2019 - 11/2023] 

    Result: 

    NG 

    REPAIR OR REPLACE HARNESS OR CONNECTOR