LEMON Manuals: Even more car manuals for everyone: 1960-2025
Home >> Toyota >> 2021 >> RAV4 LE, AWD >> Repair and Diagnosis (Single Page) >> Accessories & Equipment >> Anti-Theft Systems >> Smart Key System (For Entry, Except HV) - Symptom Tests (2 Of 2) >> SMART KEY SYSTEM (for Entry Function, Gasoline Model) >> Rear Door LH Entry Lock Function does not Operate [11/2018 - ] >> Procedure
April 5, 2026: LEMON Manuals is launched! Read the announcement.

Rear Door LH Entry Lock Function does not Operate [11/2018 - ]: Procedure

  1. CHECK POWER DOOR LOCK CONTROL SYSTEM 
    1. When the door control switch on the multiplex network master switch assembly is operated, check that the doors unlock and lock according to the switch operation.

      Refer to OPERATION CHECK [11/2018 - 10/2023] , or refer to OPERATION CHECK [10/2023 - 11/2024] , or refer to OPERATION CHECK [11/2024 - ]

      OK

      Door locks operate normally.

      Result

      Proceed to
      OK
      NG

    Result: 

    NG 

    GO TO POWER DOOR LOCK CONTROL SYSTEM 

    Refer to HOW TO PROCEED WITH TROUBLESHOOTING [11/2018 - 10/2023] , or refer to HOW TO PROCEED WITH TROUBLESHOOTING [10/2023 - 11/2024] , or refer to HOW TO PROCEED WITH TROUBLESHOOTING [11/2024 - ]

    Result: 

    OK 

    See step  2

  2. READ VALUE USING TECHSTREAM (DR-DOOR TRIGGER SWITCH) 
    1. Turn the engine switch off.
      GTY932601Courtesy of © TOYOTA, LICENSE AGREEMENT TMS1002
      *a Lock Sensor
    2. Turn the engine switch on (IG).
    3. Open and close the rear door LH.
    4. Hold the electrical key transmitter sub-assembly at the same height as the door outside handle assembly and approximately 0.3 m (0.984 ft.) from the rear door LH.
    5. Enter the following menus: Body Electrical / Smart Key / Data List.
    6. Read the Data List according to the display on the Techstream.
    7. Touch the lock sensor of the rear door outside handle assembly LH.

      HINT: 

      • If the door does not lock even when touching the lock sensor, touch it with your palm.
      • When checking the operation of the lock sensor again, make sure to perform the procedure from step (a).

      Body Electrical > Smart Key > Data List 

      Tester Display Measurement Item Range Normal Condition Diagnostic Note
      Dr-Door Trigger Switch Rear door LH touch sensor (lock sensor) ON or OFF ON: Rear door LH touch sensor (lock sensor) touched
      OFF: Rear door LH touch sensor (lock sensor) not touched
      • Displays whether the lock sensor is on or off (even if the sensor is touched and contact is maintained, "ON" is displayed only momentarily).
      • Use this Data List item to help determine if there is a lock sensor malfunction when the entry lock function does not operate.

      Body Electrical > Smart Key > Data List 

      Tester Display
      Dr-Door Trigger Switch

      HINT: 

      When checking the operation of the entry lock function several times, it can be operated up to 2 times consecutively. To operate the function 3 times or more consecutively, the doors need to be unlocked once. However, this is only for the entry lock function. Other door lock operations, such as a wireless door lock operation, can be performed consecutively.

      OK

      The Techstream display changes correctly in response to the operation of the rear door outside handle assembly LH.

      Result

      Proceed to
      OK
      NG

    Result: 

    OK 

    REPLACE CERTIFICATION ECU (SMART KEY ECU ASSEMBLY) 

    Refer to REMOVAL [11/2018 - 02/2019] , or refer to REMOVAL [02/2019 - 10/2019] , or refer to REMOVAL [10/2019 - 08/2020] , or refer to REMOVAL [08/2020 - 12/2021] , or refer to REMOVAL [12/2021 - 10/2022] , or refer to REMOVAL [10/2022 - 10/2023] , or refer to REMOVAL [10/2023 - ]

    Result: 

    NG 

    See step  3

  3. CHECK HARNESS AND CONNECTOR (CERTIFICATION ECU (SMART KEY ECU ASSEMBLY) - REAR DOOR OUTSIDE HANDLE ASSEMBLY LH) 
    1. Disconnect the M7 certification ECU (smart key ECU assembly) connector.
    2. Disconnect the L6 rear door outside handle assembly LH connector.
    3. Measure the resistance according to the value(s) in the table below.

      Standard Resistance

      Tester Connection Condition Specified Condition
      M7-1 (CLG3) - L6-6 (ANT1) Always Below 1 Ω
      M7-2 (CG3B) - L6-4 (ANT2) Always Below 1 Ω
      M7-1 (CLG3) or L6-6 (ANT1) - Other terminals and body ground Always 10 kΩ or higher
      M7-2 (CG3B) or L6-4 (ANT2) - Other terminals and body ground Always 10 kΩ or higher
    4. Reconnect the L6 rear door outside handle assembly LH connector.
    5. Reconnect the M7 certification ECU (smart key ECU assembly) connector.

      Result

      Proceed to
      OK
      NG

    Result: 

    NG 

    REPAIR OR REPLACE HARNESS OR CONNECTOR 

    Result: 

    OK 

    See step  4

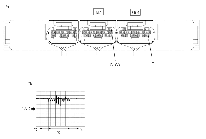
  4. CHECK REAR DOOR OUTSIDE HANDLE ASSEMBLY LH (INPUT TO REAR DOOR LH LOCK SENSOR) 
    GTY853121Courtesy of © TOYOTA, LICENSE AGREEMENT TMS1002
    *a Component with harness connected
    (Certification ECU (Smart Key ECU Assembly))
    *b Waveform 1
    *c Lock sensor not touched *d Lock sensor touched
    1. Using an oscilloscope, check the waveform.

      OK

      Tester Connection Condition Tool Setting Specified Condition
      M7-1 (CLG3) - G54-18 (E) Procedure:
      1. Engine switch off
      2. Electrical key transmitter sub-assembly brought outside vehicle
      3. All doors closed
      4. All doors locked through wireless operation

        (electrical key transmitter sub-assembly brought outside detection area*)

      5. Rear door LH lock sensor touched
      5 V/DIV., 40 ms/DIV. Pulse generation
      (See waveform 1)

      *: For details about the entry function detection area, refer to Operation Check.

      Refer to OPERATION CHECK [11/2018 - 10/2023] , or refer to OPERATION CHECK [10/2023 - ]

      Result

      Proceed to
      OK
      NG

    Result: 

    OK 

    REPLACE CERTIFICATION ECU (SMART KEY ECU ASSEMBLY) 

    Refer to REMOVAL [11/2018 - 02/2019] , or refer to REMOVAL [02/2019 - 10/2019] , or refer to REMOVAL [10/2019 - 08/2020] , or refer to REMOVAL [08/2020 - 12/2021] , or refer to REMOVAL [12/2021 - 10/2022] , or refer to REMOVAL [10/2022 - 10/2023] , or refer to REMOVAL [10/2023 - ]

    Result: 

    NG 

    REPLACE REAR DOOR OUTSIDE HANDLE ASSEMBLY LH 

    Refer to DISASSEMBLY [11/2018 - 02/2019] , or refer to DISASSEMBLY [02/2019 - 10/2019] , or refer to DISASSEMBLY [10/2019 - 08/2020] , or refer to DISASSEMBLY [08/2020 - 12/2021] , or refer to DISASSEMBLY [12/2021 - 10/2022] , or refer to DISASSEMBLY [10/2022 - 10/2023] , or refer to DISASSEMBLY [10/2023 - ]