LEMON Manuals: Even more car manuals for everyone: 1960-2025
Home >> Toyota >> 2024 >> Land Cruiser Base >> Repair and Diagnosis (Single Page) >> Accessories & Equipment >> Communication Devices >> Can Communication System - Circuit Tests (1 Of 3) & Diagnostic Codes >> Can Communication System >> DTC U0077-88: Control Module Communication Bus "E" Off Bus Off; DTC U029A-87: Lost Communication with Hybrid/EV Battery Sensor Module Missing Message; DTC U111A-00: Lost Communication with ECM/PCM "A" (ch2); DTC U111A-87: Lost Communication with ECM/PCM "A" (ch2) Missing Message; DTC U1150-87: Lost Communication with Hybrid/EV Powertrain Control Module (Hybrid/EV Battery Local Bus) Missing Message; DTC U1159-87: Lost Communication with Electronic Brake Booster Control Module "A" (ch3) Missing Message; DTC U1170-87: Lost Communication With Brake System Control Module(ch2) Missing Message; DTC U117D-87: Lost Communication with Brake System Control Module (ch4) Missing Message [02/2024 - ] >> Wiring Diagram
April 5, 2026: LEMON Manuals is launched! Read the announcement.

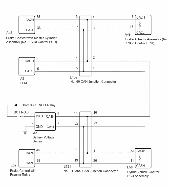
DTC U0077-88: Control Module Communication Bus "E" Off Bus Off; DTC U029A-87: Lost Communication with Hybrid/EV Battery Sensor Module Missing Message; DTC U111A-00: Lost Communication with ECM/PCM "A" (ch2); DTC U111A-87: Lost Communication with ECM/PCM "A" (ch2) Missing Message; DTC U1150-87: Lost Communication with Hybrid/EV Powertrain Control Module (Hybrid/EV Battery Local Bus) Missing Message; DTC U1159-87: Lost Communication with Electronic Brake Booster Control Module "A" (ch3) Missing Message; DTC U1170-87: Lost Communication With Brake System Control Module(ch2) Missing Message; DTC U117D-87: Lost Communication with Brake System Control Module (ch4) Missing Message [02/2024 - ]: Wiring Diagram

GTY1223937Courtesy of © TOYOTA, LICENSE AGREEMENT TMS1002