LEMON Manuals: Even more car manuals for everyone: 1960-2025
Home >> Volkswagen >> 2000 >> GTI GLX >> Repair and Diagnosis (Single Page) >> Engine Mechanical >> Fuel System >> 2.8L & 3.2L - Generic Scan Tool, Engine Code(S): AFP, BDF, BJS [A4 Platform] (28 Ignition/Glow Plug System - St Generic Scan Tool) >> 28 Ignition/Glow plug system >> Ignition, servicing >> Camshaft Position (CMP) sensor, checking >> Test sequence (vehicles with engine codes BDF and BJS) >> Notes
April 5, 2026: LEMON Manuals is launched! Read the announcement.

Test sequence (vehicles with engine codes BDF and BJS): Notes

Fig 1: Camshaft Position Sensor -G40- Intake Camshaft & Camshaft Position Sensor 2 -G163- Exhaust Camshaft
GW00001273Courtesy of VOLKSWAGEN UNITED STATES, INC.

1 - Camshaft Position (CMP) Sensor -G40- intake camshaft

2 - Camshaft Position (CMP) Sensor 2 -G163- exhaust camshaft

NOTE: Before disconnecting harness connectors, mark allocation to component.

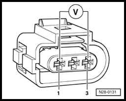
Checking voltage supply 

Fig 2: Measuring Voltage Between Terminal 1 And 3 Of Camshaft Position Sensor Connector
GW00001237Courtesy of VOLKSWAGEN UNITED STATES, INC.

Specified value: at least 4.5 V

If there is no voltage: