Front Passenger Seat Heating Element With Seat Occupant Detection Control Module -ZX14-: Overview
Passenger Occupant Detection System Pressure Sensor -G452-
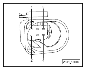
6-PIN CONNECTOR -T6AD-
Fig 1: Front Passenger Seat Heating Element With Seat Occupant Detection Control Module Connector End View (ZX14)
| Cavity | Function |
|---|---|
| 1 | Signal (+), heater |
| 2 | Ground (31). |
| 3 | Signal |
| 4 | Ground (31) |
| 5 | Signal monitor |
| 6 | ... |