LEMON Manuals: Even more car manuals for everyone: 1960-2025
Home >> Volkswagen >> 2017 >> Passat R-Line >> Repair and Diagnosis >> Steering >> Steering Column >> Steering System (Service Information) >> 48 Steering >> Steering Gear >> Tie Rod Length, Checking And Adjusting >> Notes
April 5, 2026: LEMON Manuals is launched! Read the announcement.

Tie Rod Length, Checking And Adjusting: Notes

Special Tools And Workshop Equipment Required 

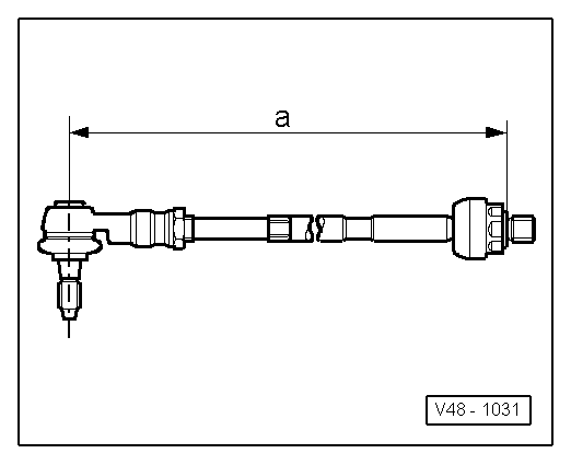
-- Check left tie rod for dimension "a" and adjust if necessary.

GWWV48-1031Courtesy of VOLKSWAGEN GROUP OF AMERICA, INC.

Dimension -a- = 392 ± 1 mm

Also check new tie rods for dimension "a" before installing and adjust if necessary.

The total toe must be checked on the alignment rack and adjusted if necessary.