LEMON Manuals: Even more car manuals for everyone: 1960-2025
Home >> Volvo >> 1990 >> 760 GLE, AW71L >> Repair and Diagnosis >> Engine Performance >> System >> Engine Controls - System/Component Tests >> Electronic Control Unit (Ignition) >> Ground Circuit Checks
April 5, 2026: LEMON Manuals is launched! Read the announcement.

Ground Circuit Checks

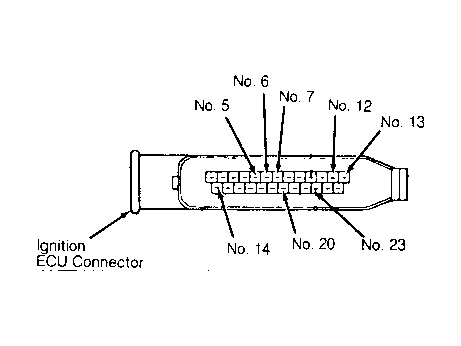
  1. Turn ignition switch to OFF position. On all models except 740 GL with Bendix Rex 1 ignition and 740 GLE, connect an ohmmeter between ground and ECU connector pins No. 20 and No. 14.
  2. On 740 GL with Bendix RX7 1 ignition and 740 GLE models, connect ohmmeter between ground and ECU connector pin No. 20. On all models, ohmmeter should read continuity.


  1. Turn ignition switch to OFF position. Connect voltmeter leads between ECU connector pins No. 6 (Blue wire) and No. 20 (Brown wire). See Figure .
  2. Turn ignition switch to ON. Voltmeter should read 12 volts (battery voltage. If no voltage exists, check pin No. 20 wire for bad ground.