LEMON Manuals: Even more car manuals for everyone: 1960-2025
Home >> Volvo >> 2000 >> S80 T-6 >> Repair and Diagnosis (Single Page) >> Accessories & Equipment >> Infotainment >> Media, Communication And Navigation - Removal, Replacement And Installation >> Communication Radio, CARPHONE (1999-2006) >> Telephone Module/-Control Module (PHM), Changing >> Installing The Car Phone Unit/Phone Module (PHM)
April 5, 2026: LEMON Manuals is launched! Read the announcement.

Installing The Car Phone Unit/Phone Module (PHM)

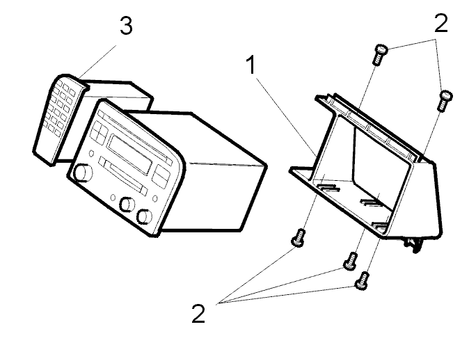
Fig 1: Identifying Phone Module, Radio And Casing
GLL104281Courtesy of VOLVO CARS OF NORTH AMERICA.

Install: 

NOTE:

Ensure that the keypad engages in the radio and frame.

Order the software. See 8633684 .