LEMON Manuals: Even more car manuals for everyone: 1960-2025
Home >> Volvo >> 2002 >> V70 XC >> Repair and Diagnosis (Single Page) >> Electrical >> Body Electrical >> Accessory Electronic Module (AEM) & Central Electronic Module (CEM) Diagnostic Trouble Codes (XC) >> CEM-8D02: Ignition Switch Lighting And High-Mounted Stop Lamp (Led). Signal Too High / Signal Missing (2004) >> Signal too high / Signal missing >> Stop lamp, rear windshield, replacing >> Installing components
April 5, 2026: LEMON Manuals is launched! Read the announcement.

Installing components

Testing the stop lamp 

Fig 1: Identifying Stop Lamp Connected
GLL103132Courtesy of VOLVO CARS OF NORTH AMERICA.

Connect a new stop lamp.

Check its function.

Disconnect it.

Removing the backing 

Fig 2: Identifying Double Sided Adhesive Backing
GLL103133Courtesy of VOLVO CARS OF NORTH AMERICA.

Remove the backing (1) from the double-sided adhesive tape on the stop lamp.

Installing the stop lamp 

Fig 3: Identifying Stop Lamp Positioned On Headlining With Bevel
GLL103129Courtesy of VOLVO CARS OF NORTH AMERICA.

Position the stop lamp on the headlining with the bevel (1)against  the headlining.Do not  allow the double-sided adhesive tape touch the headlining.

NOTE:

To avoid squeaking it is important that the stop lamp is correctly positioned on the headlining.

Press the stop lamp into place on the headlining.

Finishing work 

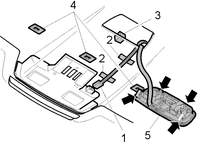
Fig 4: Identifying Stop Lamp Components
GLL103134Courtesy of VOLVO CARS OF NORTH AMERICA.

Connect the connector (1) to the stop lamp.

Tape (2) stop lamp wiring to the headlining so that they cannot make a noise.

Install foam rubber (3), just behind the hole for the rear interior lighting. Use contact adhesive, P/N 1161434, if there is too little adhesive left on the foam rubber for it to stick to the headlining.

Install clip (4) in the headlining by pressing straight up and twisting a quarter turn.

Install the interior lighting (5) by pressing straight up.