LEMON Manuals: Even more car manuals for everyone: 1960-2025
Home >> Volvo >> 2003 >> S80 Base >> Repair and Diagnosis >> Electrical >> Wiring Diagrams >> OEM Connector End Views >> Connector End Views >> Passenger/Driver Door Module (PDM/DDM) Connector End View (3/127)
April 5, 2026: LEMON Manuals is launched! Read the announcement.

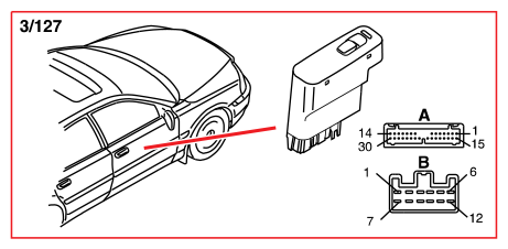
Passenger/Driver Door Module (PDM/DDM) Connector End View (3/127)

Fig 1: Passenger/Driver Door Module (PDM/DDM) Connector End View (3/127)
G10827514Courtesy of VOLVO CARS CORPORATION