LEMON Manuals: Even more car manuals for everyone: 1960-2025
Home >> Volvo >> 2004 >> S80 Base, 2.5 59, AWD >> Repair and Diagnosis >> Engine Performance >> System >> Engine Control Module (ECM) Diagnostic Trouble Codes - 4 Of 11 >> ECM-280A: Front Heated Oxygen Sensor (Ho2S), Bank 1. Signal Missing. Permanent Fault (B5254T2; 2004) >> Signal missing. Permanent fault >> Checking components and wiring >> Notes
April 5, 2026: LEMON Manuals is launched! Read the announcement.

Checking components and wiring: Notes

CAUTION:

Do not apply rust solvent spray or grease to the heated oxygen sensor (HO2S) connector.

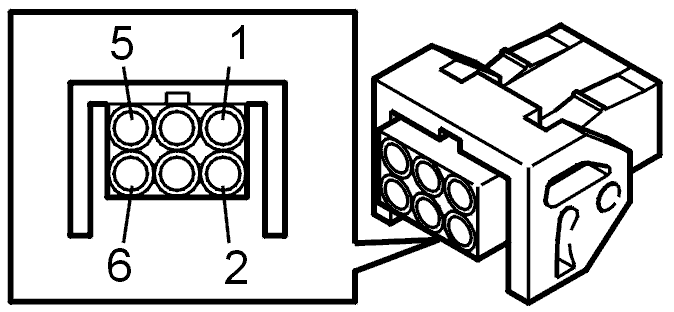
Check the signal cable (+) between heated oxygen sensor (HO2S) terminal #1 and control module terminal #A41 (#A41). Check the signal cable (-) between heated oxygen sensor (HO2S) terminal #5 and control module terminal #A42 (#A42). Check for a short-circuit to each other.

Check the power supply to heated oxygen sensor (HO2S) terminal #3 and the signal cable between heated oxygen sensor (HO2S) terminal #4 and control module terminal #A18 (#A18). Check for a short-circuit to the other cables for the heated oxygen sensor (HO2S).

Try a new heated oxygen sensor (HO2S) if the wiring is OK.

Remedy as necessary.

Other information 

Fig 1: Identifying Front Heated Oxygen Sensor Connector Terminals
GLL104133Courtesy of VOLVO CARS OF NORTH AMERICA.
Fig 2: Identifying Ohmmeter
GLL101042Courtesy of VOLVO CARS OF NORTH AMERICA.
Fig 3: Identifying Front Heated Oxygen Sensor
GLL102931Courtesy of VOLVO CARS OF NORTH AMERICA.