LEMON Manuals: Even more car manuals for everyone: 1960-2025
Home >> Volvo >> 2004 >> XC90 Base, AWD >> Repair and Diagnosis (Single Page) >> Quick Lookups >> Wiring Diagrams >> OEM Connector End Views >> Connector End Views >> Control Module Front Right Door PDM/DDM, V70 Connector End View (3/127)
April 5, 2026: LEMON Manuals is launched! Read the announcement.

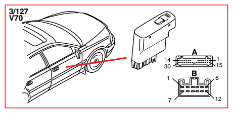
Control Module Front Right Door PDM/DDM, V70 Connector End View (3/127)

Fig 1: Control Module Front Right Door PDM/DDM, V70 Connector End View (3/127)
G10908889Courtesy of VOLVO CARS CORPORATION