Checking The Component And Wiring
- Ignition off.
- Disconnect the connector for the microphone.
Check the cable terminals. Check for contact resistance, loose connections and oxidation.
Check the cable terminals in the female and male sections of the connector. The cable terminals must not be damaged or pressed back.
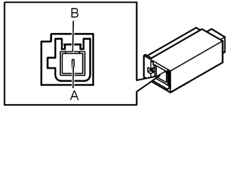
Check the signal cable between Integrated Audio Module (IAM) terminal #A7 and the microphone input terminal #A1 (pin A). Check for a short-circuit to ground.
Check the signal cable between Integrated Audio Module (IAM) terminal #A14 and the microphone input terminal #A2 (pin B). Check for a short-circuit to ground.
Check the resistance between terminal #A1 (pin A) and #A2 (pin B) in the microphone electrical connector. Resistance must be between 100 Ω and 10 kΩ.
Remedy as necessary.
Other information
- Continue
Refer to VERIFICATION