LEMON Manuals: Even more car manuals for everyone: 1960-2025
Home >> Volvo >> 2007 >> C70 Automatic >> Repair and Diagnosis (Single Page) >> Accessories & Equipment >> Headlights >> Gas Discharge Lamp Module (GDL) And Headlamp Control Module (HCM) - Signal Specifications >> Signal Description, Gas Discharge Lamp Module (GDL) >> Signal Specification >> Signal Table
April 5, 2026: LEMON Manuals is launched! Read the announcement.

Signal Table

Connector A, GDL-Master 

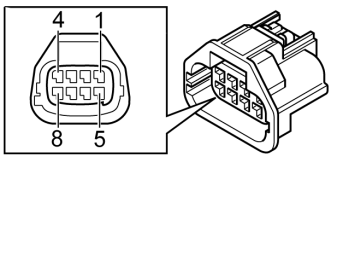
Fig 1: Identifying Gas Discharge Lamp Module (GDL) Connector A Terminals
GLL167057Courtesy of VOLVO CARS CORPORATION
SIGNALS BETWEEN GDL-MASTER AND AXLE SENSOR

Terminal GDL-Master  Signal type  Miscellaneous 
A:1 Signal, front axle sensor 0, 5 - 4, 5V
A:2 Signal, rear axle sensor 0, 5 - 4, 5V
A:3 Voltage feed, axle sensors 5.0 ± 0.5V / 15mA
A:4 Ground, the axle sensors 0 V / 15 mA
SIGNALS BETWEEN GDL-MASTER AND CEM

Terminal GDL-Master  Signal type  Miscellaneous 
A:5 High beam. 13.5 V / 0.6 - 1.2 A
A:6 Power supply 13.5 V / <1.5 A
A:9 Dipped beam 13.5 V / 3 - 10 A
A:12 LIN IN 0V - Ubat
SIGNALS BETWEEN GDL-MASTER AND GDL-SLAVE

Terminal GDL-Master  Signal type  Miscellaneous 
A:11 LIN OUT 0V - Ubat

Connector B, GDL-Master 

Fig 2: Identifying Gas Discharge Lamp Module (GDL) Connector B Terminals
GLL167114Courtesy of VOLVO CARS CORPORATION
SIGNALS BETWEEN GDL-MASTER/SLAVE AND RESPECTIVE HEADLIGHT

Terminal GDL-Master  Signal type  Miscellaneous 
B:1 Igniter Z+  
B:2 Ground height motor  
B:3 Signal magnet  
B:4 Voltage feed magnet  
B:5 Igniter Z-  
B:6 Igniter ZH  
B:7 Signal height motor  
B:8 Voltage feed height motor