LEMON Manuals: Even more car manuals for everyone: 1960-2025
Home >> Volvo >> 2007 >> C70 Automatic >> Repair and Diagnosis (Single Page) >> Engine Performance >> System >> Electronics - Design And Function - 1 Of 4 >> Accessory Electronic Module (AEM) (2006-2013) >> Function >> Starting The Parking Heater Via The Timer
April 5, 2026: LEMON Manuals is launched! Read the announcement.

Starting The Parking Heater Via The Timer

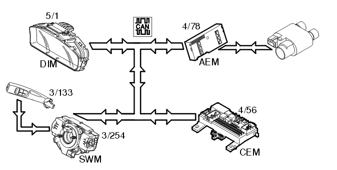
Fig 1: View Of Starting The Parking Heater Via The Timer
GLL128578Courtesy of VOLVO CARS CORPORATION

The left-hand control stalk controls the start timer for the parking heater (3/133). No other timer is required when setting the timer control. The control stalk is directly connected to the steering wheel module (SWM) (3/254) which transmits a signal via the Controller area network (CAN) to the central electronic module (CEM) (4/56), which in turn transmits the signal on to the accessory electronic module (AEM) (4/78) when the electrical heater is to start.

The start timer functions on either the electrical or fuel driven parking heater. The accessory electronic module (AEM) is not involved when the fuel driven parking heater is selected. The heater to be used is selected in the driver information module (DIM) (5/1).