LEMON Manuals: Even more car manuals for everyone: 1960-2025
Home >> Volvo >> 2007 >> C70 Automatic >> Repair and Diagnosis (Single Page) >> Transmission >> Automatic Trans >> Transmission Control Module (TCM) - Diagnostic Trouble Codes - 2 Of 2 >> TCM-Dd01: Control Module Communication. Communication Fault (Aw55-50/51SN; 2006-2013) >> Communication Fault (2006 - 2011, Early) >> Checking Communication With The Gear Selector Module (GSM)
April 5, 2026: LEMON Manuals is launched! Read the announcement.

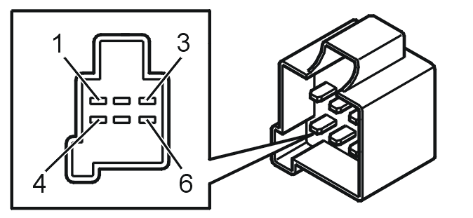
Checking Communication With The Gear Selector Module (GSM)

Fig 1: Identifying Ignition ON
GLL101051Courtesy of VOLVO CARS CORPORATION