LEMON Manuals: Even more car manuals for everyone: 1960-2025
Home >> Volvo >> 2007 >> C70 Automatic >> Repair and Diagnosis >> Accessories & Equipment >> Infotainment >> Central Electronic Module, Gas Discharge Lamp Module, Start Control Module And Accessory USB Unit - Electrical Specifications >> Signal Specification, Accessory USB Unit (AUU) (2008-2013) >> Signal Description
April 5, 2026: LEMON Manuals is launched! Read the announcement.

Signal Description

General 

U= DC voltage in volts (V) UAC = AC voltage in volts (V)
Ubat = Battery voltage (V) f = Frequency in Hertz (Hz)
Ulow = Voltage approximately 0 V t = Time in seconds
PWM = Pulse width modulated signal as a %    
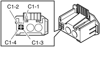
Fig 1: Identifying Connector C1
GLL157885Courtesy of VOLVO CARS CORPORATION
CONNECTOR C1

Breakout box terminal  Control module terminal  Signal type  Ignition on  Other 
- #C1-1 Power supply U = Ubat  
- #C1-2 Ground, power supply U = Ulow  
- #C1-3 Reserve -  
- #C1-4 Reserve -  
Fig 2: Identifying Connector C2
GLL157886Courtesy of VOLVO CARS CORPORATION
CONNECTOR C2

Breakout box terminal  Control module terminal  Signal type  Ignition on  Other 
- #C2-1 MOST input signal Optical input signal when the MOST network is activated  
- #C2-2 MOST output signal Optical output signal when the MOST network is activated