LEMON Manuals: Even more car manuals for everyone: 1960-2025
Home >> Volvo >> 2007 >> C70 Automatic >> Repair and Diagnosis >> Accessories & Equipment >> Infotainment >> Media, Communication And Navigation - Specifications, Electrical/Electronic >> Signal Description, Integrated Audio Module (IAM) (2006) >> Signal Description, Integrated Audio Module (IAM)
April 5, 2026: LEMON Manuals is launched! Read the announcement.

Signal Description, Integrated Audio Module (IAM)

General 

All the values given below are between the respective terminal in column 1 and terminal #A14 in column 2 (power ground) unless otherwise stated in brackets after the table entry.

NOTE:

It is important to connect the breakout box and check the ground connections before measuring.

U= DC voltage in volts (V) Ulow = Voltage approximately 0 V
Ubat = Battery voltage (V)    
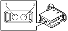
Fig 1: Identifying Signal Table Connector A
GLL149792Courtesy of VOLVO CARS CORPORATION
CONNECTOR A

Terminal  Breakout box terminal  Signal type  Ignition on  Miscellaneous 
#A1 #1 Power supply U = Ubat  
#A2 #2 Control signal ring break - -
#A3 #3 Loudspeaker right rear door (+) Analog output signal when the loudspeaker is in use 0 - 19 V depending on the output power from the Integrated Audio Module (IAM). Speaker impedance = 4 Ω
#A4 #4 Loudspeaker right front door (+) Analog output signal when the loudspeaker is in use 0 - 19 V depending on the output power from the Integrated Audio Module (IAM). Speaker impedance = 4 Ω
#A5 #5 Loudspeaker left front door (+) Analog output signal when the loudspeaker is in use 0 - 19 V depending on the output power from the Integrated Audio Module (IAM). Speaker impedance = 4 Ω
#A6 #6 Loudspeaker left rear door (+) Analog output signal when the loudspeaker is in use 0 - 19 V depending on the output power from the Integrated Audio Module (IAM). Speaker impedance = 4 Ω
#A7 #7 - - -
#A8 #8 Ground U=Ulow  
#A9 #9 - - -
#A10 #10 Loudspeaker right rear door (-) Analog output signal when the loudspeaker is in use 0 - 19 V depending on the output power from the Integrated Audio Module (IAM). Speaker impedance = 4 Ω
#A11 #11 Loudspeaker right front door (-) Analog output signal when the loudspeaker is in use 0 - 19 V depending on the output power from the Integrated Audio Module (IAM). Speaker impedance = 4 Ω
#A12 #12 Loudspeaker left front door (-) Analog output signal when the loudspeaker is in use 0 - 19 V depending on the output power from the Integrated Audio Module (IAM). Speaker impedance = 4 Ω
#A13 #13 Loudspeaker left rear door (-) Analog output signal when the loudspeaker is in use 0 - 19 V depending on the output power from the Integrated Audio Module (IAM). Speaker impedance = 4 Ω
#A14 #14 - - -
Fig 2: Identifying Connector B
GLL108087Courtesy of VOLVO CARS CORPORATION
CONNECTOR B

Terminal  Signal type  Miscellaneous 
#B1 MOST input signal Optical input signal when the MOST network is activated
#B2 MOST output signal Optical output signal when the MOST network is activated
Fig 3: Identifying Connector C
GLL128624Courtesy of VOLVO CARS CORPORATION
CONNECTOR C

Terminal  Breakout box terminal  Signal type  Ignition on  Miscellaneous 
#C1   Antenna signal    
Input signal FM Sub antenna
Phantom power supply for the antenna amplifier(11.0 V ±0.5 V at 13.5 V battery voltage)
#C2   Antenna signal   Input signal AM/FM Main antenna