LEMON Manuals: Even more car manuals for everyone: 1960-2025
Home >> Volvo >> 2007 >> S60 Base, AWD >> Repair and Diagnosis (Single Page) >> Electrical >> Body Electrical >> Central Electronic Module (CEM), Rear Electronic Module (Rem), Upper Electronics Module (UEM) - Diagnostic Trouble Codes - 9 Of 13 >> CEM-8FA3: Relay, Signal Horn. No Signal. Permanent Fault (2001-2004) >> Signal Missing. Permanent Fault >> Checking the Control Module For Short-Circuits
April 5, 2026: LEMON Manuals is launched! Read the announcement.

Checking the Control Module For Short-Circuits

Measure the resistance between terminal #2 and ground when the relay driver is active. The resistance should be high when the relay driver is active. Replace the control module if the resistance is low.

Other information: 

Fig 1: Identifying Ohmmeter
GLL101042Courtesy of VOLVO CARS OF NORTH AMERICA.
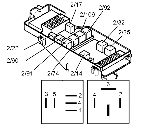
Fig 2: Identifying Relays And Terminals
GLL104050Courtesy of VOLVO CARS OF NORTH AMERICA.