LEMON Manuals: Even more car manuals for everyone: 1960-2025
Home >> Volvo >> 2007 >> S60 Base, AWD >> Repair and Diagnosis (Single Page) >> Electrical >> Body Electrical >> Central Electronic Module (CEM), Rear Electronic Module (Rem), Upper Electronics Module (UEM) - Diagnostic Trouble Codes - 11 Of 13 >> Rem-6F51: Tailgate Handle. Signal Too Low (2005-2009) >> Signal too low >> Checking >> Checking cable and component
April 5, 2026: LEMON Manuals is launched! Read the announcement.

Checking cable and component

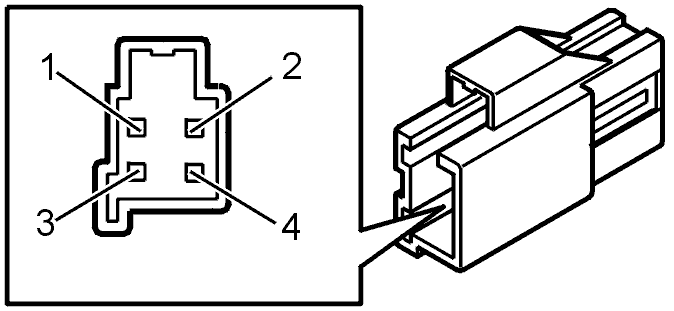
Disconnect the connector from the lamp housing for the license plate lighting. Check that the button has not stuck in the pressed in position. Check that there is not a short-circuit in the contact breaker for the switch by taking a reading between terminal #1 and ground.

Check the resistance between terminals #1 and #3 on the switch. The resistance must be infinite or near 0 ohm depending on the position of the switch.

Check the signal cable between terminal #43 (#F3) on the connector for the rear electronic module (REM) and terminal #1 on the connector for the lamp housing for the license plate lighting. Check for a short-circuit to ground.

Remedy as necessary.

Other information 

Fig 1: Identifying Connector Terminals
GLL104155Courtesy of VOLVO CARS OF NORTH AMERICA.
Fig 2: Identifying Tailgate Switch
GLL147302Courtesy of VOLVO CARS OF NORTH AMERICA.