LEMON Manuals: Even more car manuals for everyone: 1960-2025
Home >> Volvo >> 2007 >> S60 Base, AWD >> Repair and Diagnosis (Single Page) >> Quick Lookups >> Wiring Diagrams >> OEM Connector End Views >> Connector End Views >> Passenger/Driver Door Module (PDM)/(DDM) Connector End View (3/127)
April 5, 2026: LEMON Manuals is launched! Read the announcement.

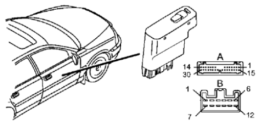
Passenger/Driver Door Module (PDM)/(DDM) Connector End View (3/127)

Fig 1: Passenger/Driver Door Module (PDM)/(DDM) Connector End View (3/127)
G10807195Courtesy of VOLVO CARS CORPORATION