LEMON Manuals: Even more car manuals for everyone: 1960-2025
Home >> Volvo >> 2007 >> S60 Base, AWD >> Repair and Diagnosis (Single Page) >> Restraints >> Passive Restraints >> Restraint System - General Safety Information >> Seat Belts And Other Retention Systems >> Handling Non-Deployed SRS-Components >> IC (Inflatable Curtain) Module, Replacing >> Inflatable Curtain Module
April 5, 2026: LEMON Manuals is launched! Read the announcement.

Inflatable Curtain Module

Deployed inflatable curtain module 

The following components must be check and replaced where necessary if the SRS system has deployed: 

Preparation 

Fig 1: Disconnecting Battery Lead
GLL101093Courtesy of VOLVO CARS OF NORTH AMERICA.

Disconnect the battery lead.

See Battery, Disconnecting .

NOTE: Do not fold or twist the inflatable curtain module during removal or installation. No components may be opened. Do not remove, slacken off or tighten any screws.
NOTE: The inflatable curtain module must be handled with both hands, with one hand around the gas generator.
NOTE: The inflatable curtain module must be kept level.
NOTE: Avoid twisting or bending the inflatable curtain module.
NOTE: The inflatable curtain module must be returned if it is "visible damaged".
Fig 2: Do Not Install Area
GLL107570Courtesy of VOLVO CARS OF NORTH AMERICA.
NOTE: Do not position or install accessories or any other components in the area marked. Failure to observe this instruction may cause the inflatable curtain module to fail.

Removal 

Fig 3: Headlining
GLL105298Courtesy of VOLVO CARS OF NORTH AMERICA.

First read Preparation .

NOTE: The hose clamp must not be opened under any circumstances. If the clamp is opened, it will not be possible to guarantee the safety of the joint. Leakage may result which would compromise the function.

Remove: 

Fig 4: Removing Connector
GLL107569Courtesy of VOLVO CARS OF NORTH AMERICA.

Remove: 

Fig 5: Igniter Wire Connector (1 Of 2)
GLL104148

If dismantling the contact reel it is very important that the catch function on the connector is released first. Disconnection should be done in line with the attachment so as not to damage it.

NOTE:

The use of tools of any kind are not  advised when disconnecting due to an increased risk of damage to the connector.

Fig 6: Igniter Wire Connector (2 Of 2)
GLL104149

The contact is securely installed to make the contact attachment durable.

WARNING:

A damaged connector can cause failures in the function of the supplemental restraint system (SRS).

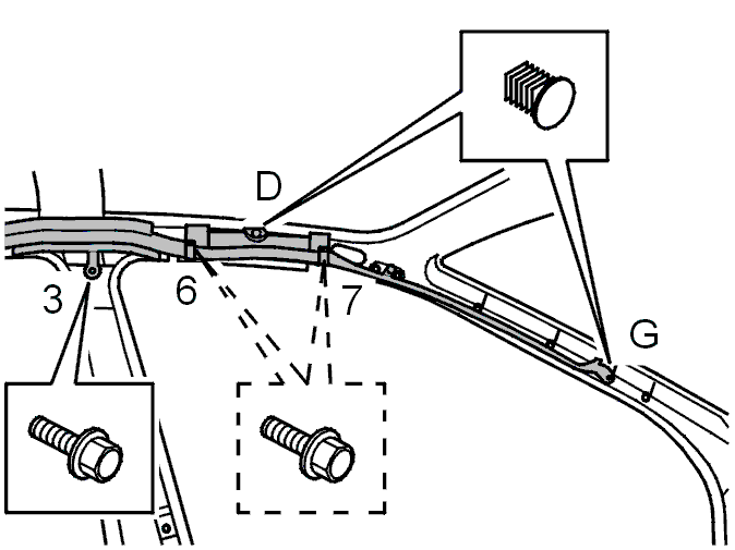
Fig 7: Removing Clips D, G, Screw And Unhook Inflatable Curtain Module
GLL107588Courtesy of VOLVO CARS OF NORTH AMERICA.

Remove: 

(6 and 7 are removed when removing the grab handle)

Fig 8: Removing Clip C And Screws 1, 2, 8 And 9
GLL107568Courtesy of VOLVO CARS OF NORTH AMERICA.

Remove: 

(4 and 5 are removed when removing the grab handle)

Fig 9: Removing Connector
GLL107569Courtesy of VOLVO CARS OF NORTH AMERICA.

Installation 

Fig 10: Removing Connector
GLL107569Courtesy of VOLVO CARS OF NORTH AMERICA.
CAUTION: The IC (inflatable curtain) module must not be reinstalled if it has been dropped onto the ground or similar.
Fig 11: Removing Clip C And Screws 1, 2, 8 And 9
GLL107568Courtesy of VOLVO CARS OF NORTH AMERICA.

Remove the packaging by pulling it straight downwards.

NOTE: Ensure that no bits of paper remain.

(4 and 5 are installed when installing the grab handles)

Fig 12: Removing Clip C And Screws 1, 2, 8 And 9
GLL107568Courtesy of VOLVO CARS OF NORTH AMERICA.

Hook on the inflatable curtain module. Install screw 3.

NOTE: It is very important that the hook is correctly installed.

Install: 

(6 and 7 are installed when installing the grab handles)

Tighten screws 1-7. Tighten to 10 Nm.

Install: 

CAUTION: When replacing the inflatable curtain module, part of the decal on the curtain must be torn off and stuck on the decal in the door opening.


Deployed inflatable curtain module 

The following components must be check and replaced where necessary if the SRS system has deployed: 

Preparation 

Fig 1: Disconnecting Battery Lead
GLL101093Courtesy of VOLVO CARS OF NORTH AMERICA.

Disconnect the battery lead.

See Battery, Disconnecting .

NOTE: Do not fold or twist the inflatable curtain module during removal or installation. No components may be opened. Do not remove, slacken off or interfere with any part of the component.
NOTE: The inflatable curtain module must be handled with both hands, with one hand around the gas generator.
NOTE: The inflatable curtain module must be kept level.
NOTE: Avoid twisting or bending the inflatable curtain module.
NOTE: The inflatable curtain module must be returned if it is "visible damaged".
Fig 2: Do Not Position Or Install Accessories Or Any Other Components In Area Marked
GLL105328Courtesy of VOLVO CARS OF NORTH AMERICA.
NOTE: Do not position or install accessories or any other components in the area marked. Failure to observe this instruction may cause the inflatable curtain module to fail.

Removal 

Fig 3: Headlining
GLL105298Courtesy of VOLVO CARS OF NORTH AMERICA.

First read preparation.

NOTE: The hose clamp must not be opened under any circumstances. If the clamp is opened, it will not be possible to guarantee the safety of the joint. Leakage may result which would compromise the function.

Remove: 

Fig 4: Igniter Wire Connector
GLL105304Courtesy of VOLVO CARS OF NORTH AMERICA.

Remove: 

Fig 5: Clips G & D
GLL105323Courtesy of VOLVO CARS OF NORTH AMERICA.

Remove: 

(6 and 7 are removed when removing the grab handle)

Fig 6: Clips C & E
GLL105303Courtesy of VOLVO CARS OF NORTH AMERICA.

Remove: 

(4 and 5 are removed when removing the grab handle)

Fig 7: Deflector Clips A & B
GLL105302Courtesy of VOLVO CARS OF NORTH AMERICA.

Remove: 

Installation 

Fig 8: Deflector Clips A & B
GLL105302Courtesy of VOLVO CARS OF NORTH AMERICA.
NOTE: If the inflatable curtain module is dropped, it must not be installed.

Install: 

NOTE: The deflector on the C/D post must be installed before the inflatable curtain module is installed
Fig 9: Clips C & E
GLL105303Courtesy of VOLVO CARS OF NORTH AMERICA.

Install: 

Remove the packaging by pulling it straight downwards.

NOTE: Ensure that no bits of paper remain.

Install: 

(4 and 5 are installed when installing the grab handles)

Fig 10: Clips G & D
GLL105323Courtesy of VOLVO CARS OF NORTH AMERICA.

Hook on the inflatable curtain module. Install screw 3.

NOTE: It is very important that the hook is correctly installed.

Install: 

(6 and 7 are installed when installing the grab handles)

Tighten screws 1-7. Tighten to 10 Nm.

Install: 

CAUTION: When replacing the inflatable curtain module, part of the decal on the curtain must be torn off and stuck on the decal in the door opening.