LEMON Manuals: Even more car manuals for everyone: 1960-2025
Home >> Volvo >> 2007 >> S60 Base, AWD >> Repair and Diagnosis >> Engine Performance >> System >> Engine Control Module (ECM) - Diagnostic Trouble Codes And Associated Procedures - 6 Of 14 >> ECM-4020: Fuel Tank Pressure Sensor. Signal Too High. Permanent Fault (B5234T3; B5244T3; 2001) >> Signal Too High. Permanent Fault >> Checking The Connector >> Notes
April 5, 2026: LEMON Manuals is launched! Read the announcement.

Checking The Connector: Notes

Check the ground lead between control module terminal B4 (#B14) and fuel tank pressure sensor connector terminal 1. Check the ground lead between control module terminal B31 (#B41) and fuel tank pressure sensor connector terminal 2 for an open-circuit according to Open-circuit, permanent faults .

Check the power supply cable between control module terminal B10 (#B20) and fuel tank pressure sensor connector terminal 3 for an open-circuit according to Open-circuit, permanent faults .

Check the signal cable between control module terminal B31 (#B41) and fuel tank pressure sensor connector terminal 2 for a short-circuit to supply voltage according to Short-circuit to supply voltage. Permanent faults .

HINT: Use a test screwdriver with at least a 3W bulb to determine if the cable is short-circuited to supply voltage 

Other information 

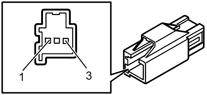
Fig 1: Identifying Fuel Tank Pressure Sensor
GLL104088Courtesy of VOLVO CARS OF NORTH AMERICA.
Fig 2: Identifying Ohm Meter
GLL101042Courtesy of VOLVO CARS OF NORTH AMERICA.
Fig 3: Identifying Fuel Tank Pressure Sensor
GLL102819Courtesy of VOLVO CARS OF NORTH AMERICA.