LEMON Manuals: Even more car manuals for everyone: 1960-2025
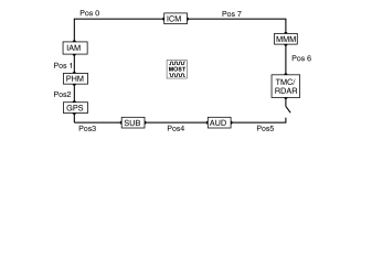
Home >> Volvo >> 2007 >> V50 T-5, AWD, Standard >> Repair and Diagnosis >> Accessories & Equipment >> Infotainment >> BLUETOOTH Phone Module (Bpm), Infotainment Control Module (ICM), Media Player Module (MPM), Multimedia Module (Mmm), Phone Module (PHM) And Remote Digital Audio Receiver (RDAR) Module Diagnostic Trouble Codes >> ICM-Dc01: Communication Module. Faulty Signal (2006) >> Faulty Signal >> Checks >> Obtaining A Break Position Reading
April 5, 2026: LEMON Manuals is launched! Read the announcement.

Obtaining A Break Position Reading

Fig 1: Identifying Ignition ON
GLL101051Courtesy of VOLVO CARS CORPORATION