LEMON Manuals: Even more car manuals for everyone: 1960-2025
Home >> Volvo >> 2007 >> XC70 >> Repair and Diagnosis (Single Page) >> Electrical >> Body Electrical >> Accessory Electronic Module (AEM) & Central Electronic Module (CEM) Diagnostic Trouble Codes (XC) >> CEM-8D02: Ignition Switch Lighting And High-Mounted Stop Lamp (Led). Signal Too High / Signal Missing (2004) >> Signal too high / Signal missing >> Stop lamp, rear windshield, replacing >> Removing the stop lamp
April 5, 2026: LEMON Manuals is launched! Read the announcement.

Removing the stop lamp

Use clean gloves 

To avoid customer complaints: 

Preparatory work 

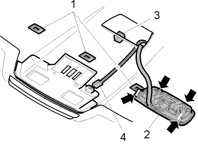
Fig 1: Identifying Clips, Rear Interior Lighting And Rubber
GLL103130Courtesy of VOLVO CARS OF NORTH AMERICA.

Remove: 

Removing the stop lamp 

Fig 2: Identifying Stop Lamp Removal
GLL103131Courtesy of VOLVO CARS OF NORTH AMERICA.
WARNING:

The stop lamp must be removed from the headlining. Do this carefully as the headlining is made of corrugated cardboard.

Use a weatherstrip tool to cut as close to the stop lamp tape as possible. This is to avoid damaging the headlining.

Start with the two pieces of tape on the section that points forwards. Then cut the two pieces of tape closest to the rear windshield.

Do one corner at a time.